导读:
- CDE一致性评价承办受理号达2967个,本周新增26个
- 本周50个品规通过一致性评价,涉及28个品种
- NMPA发布两批药品批件通知,4款药品首过评
- 企业通过概况,石药、扬子江、齐鲁…挺进
- 扬子江药业“斩获”首家品种奥硝唑胶囊
CDE一致性评价承办受理号达2967个,
本周新增26个
截止2021年05月20日,CDE共承办一致性受理号2967个(691家企业的606个品种);其中1370个受理号(351个品种)通过一致性评价。本周(2021.05.14-2021.05.20)新承办26个受理号,包括19个品种,10款注射剂。(不含视同通过)
图1:本周CDE一致性评价承办一览

数据来源:药融云中国药品审评数据库
本周50个品规通过一致性评价,
涉及28个品种
根据药融云数据库显示,截止2021年05月20日,全国共2463个品规过评,涉及551个品种。随着大批通过一致性评价的药品批件信息的发布,一致性品规过评数不断攀升,本周(5月14- 20日)发布两批通知件,其中包括多个通过(含视同通过)一致性的药品。本周新增50个品规(28个品种)通过或视同通过一致性评价,包括11个注射剂品种,具体如下表:
表1:本周通过一致性评价情况汇总表

数据来源:药融云一致性评价数据库
注:图为各企业通过药品品种
NMPA发布两批药品批件通知,
4款药品首过评
本周,国家药监局发布的两批药品批准证明文件待领取信息分别是5月14日、18日,其中包括多款通过一致性评价和视同通过一致性评价的药品批件信息。
表2:NMPA发布药品批件通知一览表

数据来源:药融云中国药品审评数据库
药融云一致性评价数据库
在本周通过的一致性药品中,包含4款药品为首家通过,具体如下表:
表3:本周首家通过一致性评价品种

数据来源:药融云一致性评价数据库
注:表中的首家过评以品种计
企业通过概况,
石药、扬子江、齐鲁…挺进
在通过一致性评价的50个药品品规中,涉及到31家企业。根据药融云一致性评价数据库统计,本周通过一致性评价数企业概况如下表。石药集团通过一致性评价的品规数最多,达5个,有注射用美罗培南和盐酸氨溴索注射液;紧随其后的是扬子江药业、上海汇伦江苏药业和齐鲁制药等。
表3:本周企业通过数量概况表

数据来源:药融云一致性评价数据库
注:企业通过品规数按企业所属集团计
扬子江药业“斩获”首家品种奥硝唑胶囊
5月18日,国家药监局官网显示,扬子江药业集团旗下的南京海陵药业的奥硝唑胶囊通过一致性评价,为国内首家。奥硝唑为第三代硝基咪唑类药物,比甲硝唑、替硝唑的抗菌优势明显。作为甲硝唑的替代品即奥硝唑药效持续时间长,其血浆消除半衰期高于甲硝唑的和替硝唑的,因此可减少患者服药次数,更加方便使用。
图2:“奥硝唑”的基本信息

数据来源:药融云全球药物研发数据库
药融云药品说明书数据库
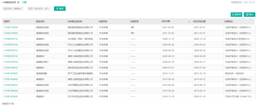
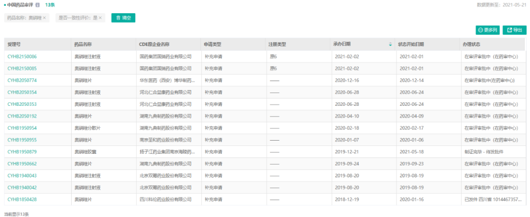
除此次过评的奥硝唑胶囊之外,四川科伦药业的奥硝唑片在2020年1月通过一致性评价。还有7家企业的奥硝唑产品(包括奥硝唑分散片、奥硝唑注射液)也提交了一致性评价申请,目前均在审评审批中(在药审中心)。
图3:“奥硝唑”的一致性评价申请情况

数据来源:药融云中国药品审评数据库
奥硝唑2020版国家医保目录乙类药物,其具有疗效确切、适用人群广、依从性好、不良反应小等临床优势,目前已被《抗菌药物临床应用指导原则(2015 年版)》和《胆道外科抗菌药物规范化应用专家共识(2019版)》等国内权威指南或专家共识广泛推荐使用。







川公网安备51019002008863号
本网站未发布麻醉药品、精神药品、医疗用毒性药品、放射性药品、戒毒药品和医疗机构制剂的产品信息
收藏
登录后参与评论
暂无评论