
4月15日,NMPA发布最新一批药品批准证明文件,其中扬子江药业2款仿制药获批上市,分别为奥美沙坦酯片和舒更葡糖钠注射液,同日拿下百亿舒更葡糖钠、过亿降压药!其中,舒更葡糖钠注射液此前由原研默沙东独家生产销售,扬子江药业此次获批为国内首仿。

截图来源:NMPA官网
舒更葡糖钠注射液
舒更葡糖钠注射液被誉为麻醉领域近 20 年的重大药物发现,是全球首个特异性、结合性氨基甾类肌松药拮抗剂。该药原研最早由默沙东研发,于2008年7月首次在欧洲上市,商品名为布瑞亭(Bridion)。根据默沙东的年报,2021年营收达到了15.32亿美元(约合97.6亿人民币,以4月15日汇率计算),增长27%。已然成为重磅炸弹药物,且依然具有上升空间。

图片来源:默沙东企业财报
而在国内,舒更葡糖钠自2017年获批落地中国后,也正处于快速扩容的阶段,2020年院内销售额突破1亿,2021年前三季度已斩获超2亿的销售额,同比增加167%,市场增长强劲。
舒更葡糖钠院内销售情况

截图来源:药融云全国医院销售数据库
舒更葡糖钠注射液仿制竞争激烈,既拼质量也拼速度。据药融云数据库,除此次顺利获批的扬子江药业外,还有20余家企业扎堆递交舒更葡糖钠仿制药上市申请,其中不乏齐鲁制药、恒瑞医药、南京正大天晴、人福药业等多家明星药企,但均未获批(发放通知件,或尚在审批审批中)。
舒更葡糖钠部分报上市企业

截图来源:药融云药品审评数据库
此次扬子江药业获批生产舒更葡糖钠注射液,夺得国内首仿,一方面一扫既往国内众多药企折戟的阴霾;另一方面,作为率先获批上市者,其后续市场发展无疑更具优势,进口原研药品的价格也势必受到影响。随着后续更多的舒更葡糖钠注射液仿制药获批上市,市场争夺战将愈加激烈。
奥美沙坦酯片
奥美沙坦酯片是新一代血管紧张素Ⅱ受体拮抗剂(ARB),原研企业为日本第一三共株式会社,该药于 2002 年在美国获批上市,于 2006 年在中国获批上市,主要用于治疗高血压。近年来院内销售额峰值近6亿,后逐渐下滑,2020年院内销售额为3.48亿。
奥美沙坦酯片院内销售情况

截图来源:药融云全国医院销售数据库
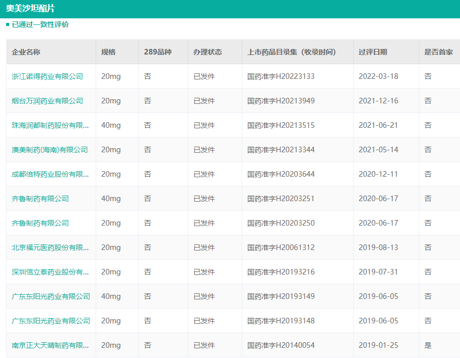
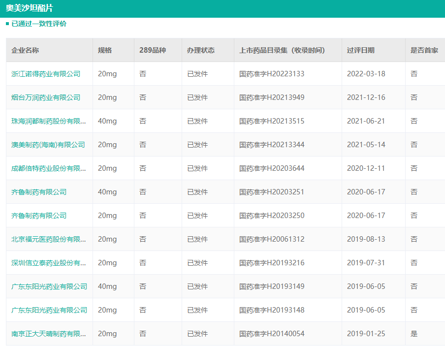
据药融云统计,目前奥美沙坦酯片仿制药已有南京正大天晴(首家过评)、广东东阳光药、信立泰、福元医药、齐鲁等10家企业过评。另有山东步长制药、江西施美药业等企业递交了上市申请。
奥美沙坦酯片过评企业(截至2022.04.14)

截图来源:药融云一致性评价数据库
想要解锁更多药企仿制药一致性评价信息吗?查询药融云数据库(https://www.pharnexcloud.com/?zmt-mhwz)掌握药企仿制药申报情况、最新进展、审评情况、竞争格局、销售情况、市场规模与前景,可否投入仿制!注册立享15天免费试用和虎年首份医药数据大礼包!

—END—







川公网安备51019002008863号
本网站未发布麻醉药品、精神药品、医疗用毒性药品、放射性药品、戒毒药品和医疗机构制剂的产品信息
收藏
登录后参与评论
暂无评论