
7月4日,NMPA发布最新一批药品批准证明文件待领取信息,其中扬子江药业3款仿制药同日获批,2021年销售额均已过亿,分别为罗库溴铵注射液、注射用比伐芦定和盐酸左沙丁胺醇雾化吸入溶液。


截图来源:NMPA官网
这3大品种的过评情况、申报企业及往年院内销售情况情况如图所示。其中,据药融云统计,这3品种的2021年院内销售额均已过亿,其中罗库溴铵注射液达8.85亿元。

数据来源:药融云数据库
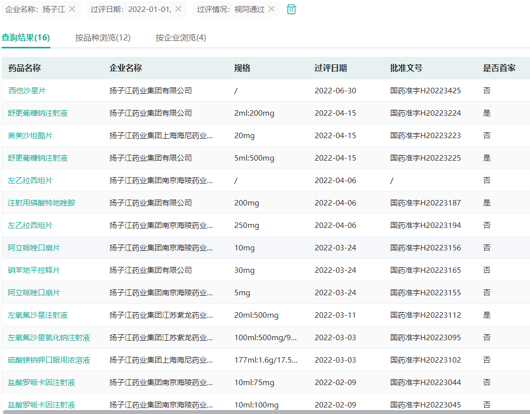
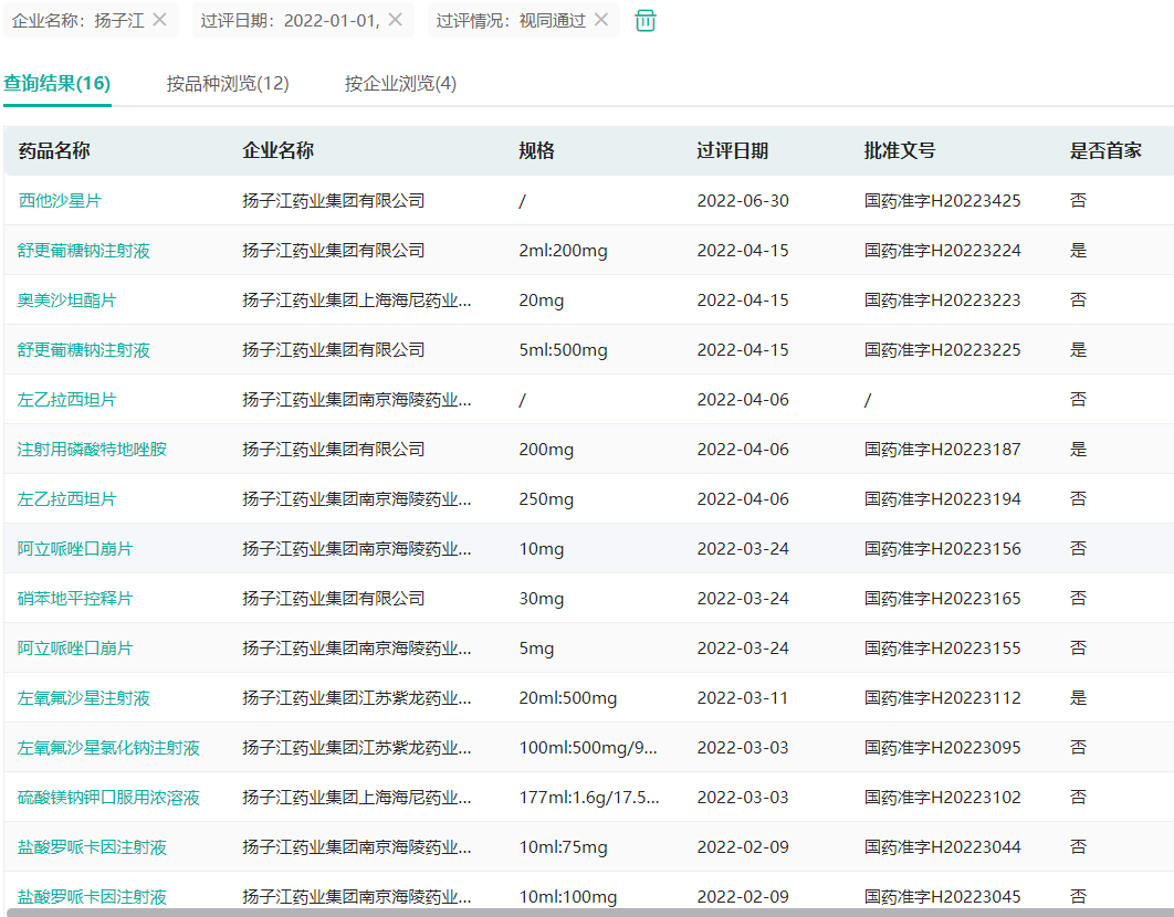
至此,扬子江药业今年已有15款仿制药新获批上市,其中舒更葡糖钠注射液(国内首仿)、注射用磷酸特地唑胺和左氧氟沙星注射液均为仿制药首家过评。作为国内医药行业的领先企业,扬子江药业在仿制药领域一直非常亮眼,2022年下半场,扬子江药业还将带来哪些新产品呢?敬请拭目以待!
扬子江药业2022年已获批上市的仿制药(截至2022.07.03)

截图来源:药融云一致性评价数据库
参考来源:
[1] NMPA官网
[2] 药融云数据库
想要解锁更多药企仿制药信息吗?查询药融云数据库(https://www.pharnexcloud.com/?zmt-mhwz)掌握药企仿制药申报情况、审批信息、最新进展、一致性评价、市场竞争格局、销售情况,市场规模与前景,可否投入!注册立享15天免费试用和虎年首份医药数据大礼包!

—END—







川公网安备51019002008863号
本网站未发布麻醉药品、精神药品、医疗用毒性药品、放射性药品、戒毒药品和医疗机构制剂的产品信息
收藏
登录后参与评论
暂无评论