
2023年8月15日,北京科兴发布中报:
上半年的销售额为1.404亿美元,而去年同期为12亿美元,同比下降88%;主要原因是新冠疫苗CoronaVac的销售减少;上半年的净亏损为3000万美元,而去年同期的净利润为7.904亿美元。2023年上半年的研发费用为1.511亿美元,而去年同期为1.844亿美元。

“在经历了三年的COVID-19大流行之后,2023年世界仍然面临着各种传染病的威胁。防治全球疫情的能力对世界卫生仍然至关重要。作为中国知名的生物医药产品供应商,科兴将继续加大对新冠肺炎以外疫苗研发和生产的投入,并不断探索包括抗体在内的其他生物医药产品。同时,我们通过提供高质量疫苗和本地化生产,保持了强大的国际影响力。
科兴董事长、总裁兼首席执行官尹卫东先生表示,“展望未来,科兴将继续保持我们在国内和国际市场的业务势头,加强我们的产品组合和合作伙伴关系,并提供许多可获得的药品,以满足全球日益增长的医疗保健需求。”
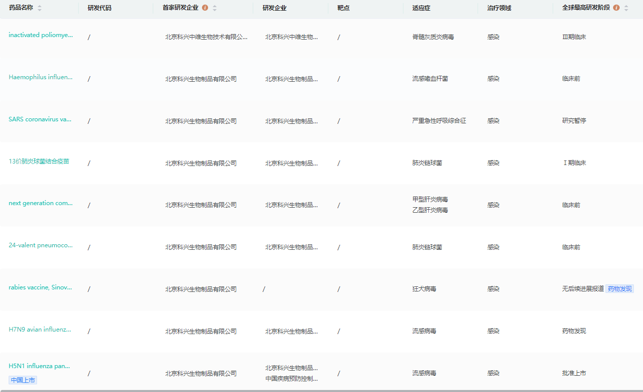
公司研发管线(部分)

截图来源:药融云中国药物研发数据库
业务更新
新冠病毒抗体产品:科兴用于预防和治疗新冠病毒感染的广谱中和抗体产品SA55注射液和鼻喷雾剂已获批在中国进行临床试验。凭借其在COVID-19疫苗开发和生产方面的丰富经验,科兴科技能够大规模生产符合良好生产规范标准的广谱中和抗体产品。
甲型肝炎疫苗:Healive是中国首个也是唯一一个获得世卫组织资格预审的甲型肝炎灭活疫苗,迄今已在全球20多个国家和组织注册,今年还在黎巴嫩、吉尔吉斯斯坦、埃及、印度和巴基斯坦获得了市场批准。
流感疫苗:一条先进的新型流感疫苗生产线在北京投产。该工厂符合中国良好生产规范,采用绿色生产流程,实现了大规模自动化生产,扩大了科兴科兴的产能,以满足全球对高质量流感疫苗日益增长的需求。科兴的流感疫苗将在2023年上半年获得更多海外市场批准,如巴基斯坦和智利,从而扩大国际市场准入。
水痘疫苗:科兴水痘减毒活疫苗是首个获得世卫组织预审资格的中国水痘疫苗,今年初已成功交付刚果(金)。这种疫苗今年也在黎巴嫩和肯尼亚注册。
手足口病疫苗:科兴的二价灭活疫苗今年被批准在中国进行临床试验,该疫苗旨在对抗肠道病毒(EV)和柯萨奇病毒(CV)感染。它旨在保护儿童免受EV71和CA16引起的手足口病的侵害。科兴的ev71疫苗已经保护了中国数百万儿童。
中国以外的战略发展:科兴将在哥伦比亚建设首个当地人用疫苗生产工厂。科兴在疫苗研发和生产方面的丰富专业知识和经验,以及建立疫苗生产设施的成功记录,将在新合资企业中发挥关键作用。
关于北京科兴
北京科兴中维生物技术有限公司(Sinovac Research & Development Co., Ltd.,简称“科兴中维”)是科兴控股(香港)有限公司独资组建的生物高新技术企业,于2009年注册成立,注册资本960万美元。公司是中关村高新技术企业、中关村金种子企业。
科兴中维专业从事人用疫苗及其相关产品的研究开发与技术服务,为重大传染病防控提供技术支撑。公司依托集团多年来在疫苗研发和产业化上的优势,逐步形成了以企业为研发主体、产学研相结合的研发模式,构建了病毒分离鉴定技术平台、细胞工厂平台、微载体发酵技术平台、病毒纯化工艺技术平台、细菌发酵与纯化平台、多糖-蛋白质结合技术平台、冻干工艺技术平台、动物评价平台、质量控制平台、诊断试剂原料开发平台,各平台的专业技术优势互补,交叉渗透,推动公司研发稳步、高效地前进。
参考资料:
1.公司财报
2.药融云数据库
<END>
要解锁更多企业药品研发信息吗?查询药融云数据库(vip.pharnexcloud.com/?zmt-mhwz)掌握药品各国上市情况、药品批文信息、销售情况与各维度分析、市场竞争格局、一致性评价情况、集采中标情况、药企申报审批信息、最新动态与前景等,以及帮助企业抉择可否投入时提供数据参考!注册立享15天免费试用!








川公网安备51019002008863号
本网站未发布麻醉药品、精神药品、医疗用毒性药品、放射性药品、戒毒药品和医疗机构制剂的产品信息
收藏
登录后参与评论
暂无评论