
近日,据NMPA官网公示,重庆药友制药和浙江华海药业提交的4类仿制化药枸橼酸托法替布片获批并视同通过一致性评价。据药融云数据统计,目前该品种还有新时代药业、华鲁制药等11家药企提交了仿制申请,均在审评审批中。

截图来源:NMPA官网
托法替布(Tofacitinib)是辉瑞公司开发的一种 JAK1/JAK3 的口服小分子抑制剂,阻断多种炎性细胞因子的信号转导。托法替布最早于 2012 年 11 月获 FDA 批准用于治疗中度到重度的类风湿性关节炎(RA),成为全球首个被批准治疗类风湿性关节炎的 JAK 抑制剂。据药融云数据统计,枸橼酸托法替布片自上市以来,在全国院内销售持续稳定增长,2022年全国院内销售超2亿元,同比增长达10.27% 。

截图来源:药融云全国医院销售数据库
“重磅炸弹级”JAK抑制剂,原研专利频频失守
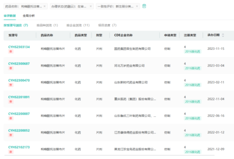
辉瑞的托法替布作为一款“重磅炸弹级”的JAK抑制剂,在自身免疫疾病领域独领风骚,自然吸引了众多仿制药企业的垂涎。据药融云数据统计,在国内,目前已有新时代药业、华鲁制药等在内的11家药企提交了枸橼酸托法替布片的仿制申请,均在审评审批阶段。

截图来源:药融云中国药品审评数据库
此外,国内药企在挑战原研药的专利时,频频遭遇失守。专利ZL00816941.1主要保护托法替布化合物,但正大天晴药业集团针对此专利发起的无效请求获得国家知识产权局支持,该局于2018年08月08日宣布该专利权全部无效。在齐鲁制药和正大天晴药业针对另一托法替布盐型(枸橼酸托法替布)及其晶型专利ZL02823587.8的挑战中,国家知识产权局同样认为该专利不具备创造性,不符合专利法第22条第3款的规定,并于2019年11月06日作出同样决定。
超20家企业获批,市场格局生变
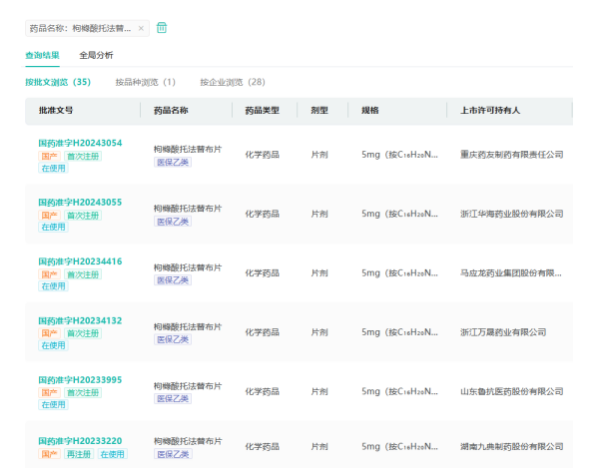
据药融云数据统计,目前已有超过20家国内药企获得了枸橼酸托法替布片的仿制批准。此次,重庆药友制药和浙江华海药业是最新获批的2家企业。这不仅彰显了仿制药企业的竞争激烈,也预示着该市场即将迎来一场巨变。随着越来越多的企业涉足这一领域,市场格局将发生深刻变化,为患者带来更多治疗选择的同时,也将推动国内制药行业的持续发展。

截图来源:药融云中国药品批文数据库
除此次获批的枸橼酸托法替布片,2023年至今,重庆药友制药已有13个品种获批生产并视同过评,涵盖抗肿瘤和免疫调节剂、消化系统及代谢药、神经系统药物、全身用抗感染药物等治疗领域。浙江华海药业已有15款品种获批生产并视同过评,涵盖生殖泌尿系统和性激素类药物、神经系统用药、心血管系统用药、抗肿瘤药和免疫机能调节药等治疗领域。
<END>
要解锁更多企业药品研发信息吗?查询药融云数据库(vip.pharnexcloud.com/?zmt-mhwz)掌握药品各国上市情况、药品批文信息、销售情况与各维度分析、市场竞争格局、一致性评价情况、集采中标情况、药企申报审批信息、最新动态与前景等,以及帮助企业抉择可否投入时提供数据参考!注册立享15天免费试用!








川公网安备51019002008863号
本网站未发布麻醉药品、精神药品、医疗用毒性药品、放射性药品、戒毒药品和医疗机构制剂的产品信息
收藏
登录后参与评论
暂无评论