
日前,据NMPA官网公示,北京福元医药递交的3类仿制化药西洛他唑片的上市申请获批并通过一致性评价。据药融云数据统计,目前西洛他唑片在国内仅2家企业过评。

截图来源:NMPA
西洛他唑片最早由日本大冢制药株式会社研发,主要用于改善由于慢性动脉闭塞症引起的溃疡、肢痛、冷感及间隙性跛行等缺血症状。于1988年在日本上市,1999年美国FDA批准西洛他唑作为治疗稳定性间歇性跛行的药物上市。2015年在中国上市,商品名“培达”。据药融云数据统计,西洛他唑片在2022年全国院内销售近2亿元,2023年略有下降,销售额达1.26亿元。

截图来源:药融云全国医院销售数据库
目前,西洛他唑片在国内有21家企业拥有生产批文,其中仅有江苏吴中医药集团、北京福元医药2家企业过评。尽管如此,竞争态势正逐渐加剧,已有包括成都倍特药业、华益药业在内的7家企业提交了西洛他唑片的仿制申请,均在审评审批中。

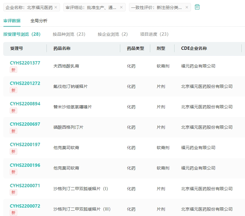
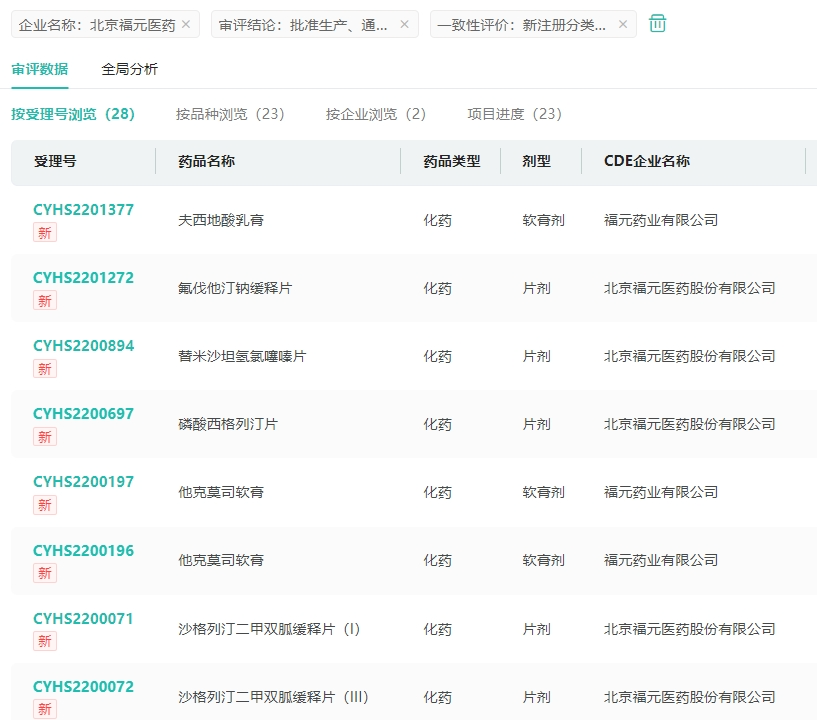
截图来源:药融云中国药品审评数据库
除此次获批的品种,北京福元医药还在其他多个药品领域展现了强大的研发实力。截至目前,该公司已有他克莫司软膏、沙格列汀片、阿托伐他汀钙片、塞来昔布胶囊等23个品种成功获批并过评。这些成绩不仅彰显了北京福元医药在药品研发和质量控制方面的卓越能力,也进一步巩固了其在医药行业的领先地位。
<END>
要解锁更多企业药品研发信息吗?查询药融云数据库(vip.pharnexcloud.com/?zmt-mhwz)掌握药品各国上市情况、药品批文信息、销售情况与各维度分析、市场竞争格局、一致性评价情况、集采中标情况、药企申报审批信息、最新动态与前景等,以及帮助企业抉择可否投入时提供数据参考!注册立享15天免费试用!








川公网安备51019002008863号
本网站未发布麻醉药品、精神药品、医疗用毒性药品、放射性药品、戒毒药品和医疗机构制剂的产品信息
收藏
登录后参与评论
暂无评论