
8月28日,华东医药发布公告,其全资子公司杭州中美华东制药向美国 FDA申报的磺达肝癸钠注射液的新药简略申请(ANDA)已获得批准。据药融云数据库显示,磺达肝癸钠注射液在2023年全国院内市场的销售额超1亿元。

截图来源:企业公告
磺达肝癸钠注射液最早由赛诺菲和荷兰欧加农公司(Organon &Co.)联合研发,后将其授权转让给葛兰素史克公司。最早于2001年由Mylan Ireland Ltd.申请并获得FDA的批准上市;2008 年葛兰素史克公司的磺达肝癸钠注射液在中国获批上市。作为第三代肝素类抗血栓药,磺达肝癸钠基于肝素核心活性结构全合成,去除易致副作用部分,临床优势显著,无血小板减少、骨质疏松等副作用,且无需监测、半衰期长。据药融云数据库显示,抗血栓形成药在2023年全国院内市场的销售总额超200亿元,其中磺达肝癸钠注射液的销售额超1亿元。

截图来源:药融云全国医院销售数据库
磺达肝癸钠注射液为预灌装针注射剂产品,目前共有4个规格(2.5/0.5mL、5/0.4mL、7.5/0.6mL、10/0.8mL)。FDA批准用于预防髋部骨折、关节置换、膝关节置换及腹部手术后DVT,及联合华法林治疗DVT或PE。至今,公司对该注射液的国际化项目已投入约1,181万人民币。
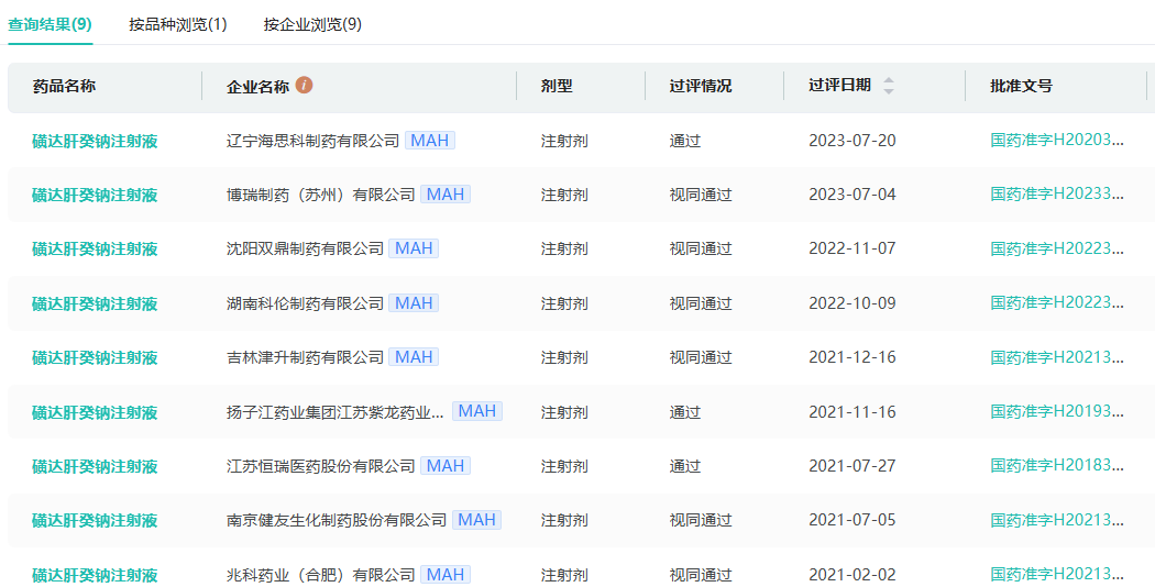
截至目前,磺达肝癸钠注射液在国内市场有10家药企拥有生产批文,其中江苏恒瑞医药、扬子江药业集团江苏紫龙药业、湖南科伦制药、辽宁海思科制药等9家药企过评。

截图来源:药融云过评药品汇总数据库
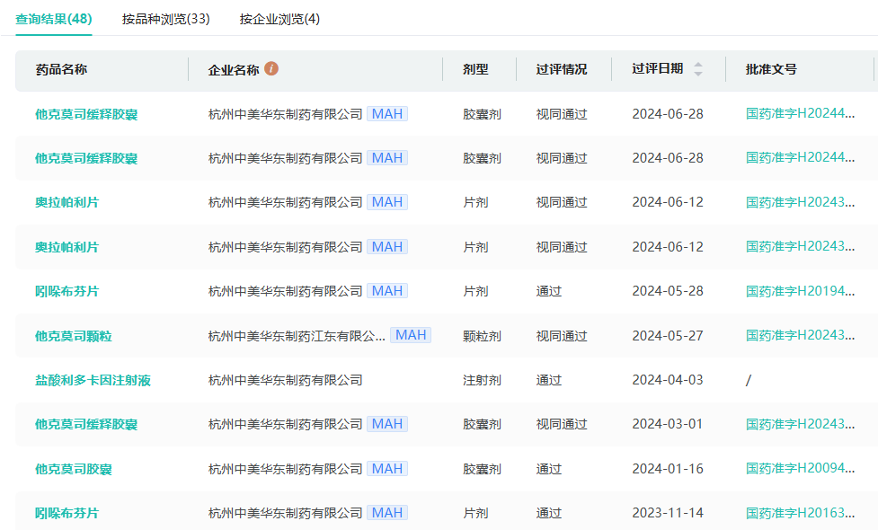
目前,华东医药(含子公司)有33个品种过评,其中二甲双胍恩格列净片(Ⅰ)、西格列汀二甲双胍片(Ⅰ)、他克莫司胶囊等9个品种为首家过评。

截图来源:药融云过评药品汇总数据库
此次,磺达肝癸钠注射液美国成功获批,进一步丰富了华东医药在心血管疾病领域的产品管线,也是华东医药继注射用泮托拉唑钠、阿卡波糖片、注射用达托霉素、他克莫司胶囊之后又一获得美国FDA批准的产品。这是公司持续强化产品研发、提高产品质量标准、积极推进制剂国际化工作取得的重要成果,也将为该产品今后拓展海外市场带来积极影响。
参考来源:
[1] 华东医药官方公告
[2] 药融云数据库
<END>
想要解锁更多药物研发信息吗?查询药融云数据库(vip.pharnexcloud.com/?zmt-mhwz)掌握药物基本信息、市场竞争格局、销售情况与各维度分析、药企研发进展、临床试验情况、申报审批情况、各国上市情况、最新市场动态、市场规模与前景等,以及帮助企业抉择可否投入时提供数据参考!注册立享15天免费试用!








浙公网安备33011002015279
本网站未发布麻醉药品、精神药品、医疗用毒性药品、放射性药品、戒毒药品和医疗机构制剂的产品信息
收藏
登录后参与评论
暂无评论