
近日,据CDE官网公示,杭州九源基因工程/杭州朱养心药业递交的4类仿制化药马来酸阿伐曲泊帕片上市申请获受理。据药融云数据统计,除原研,目前,马来酸阿伐曲泊帕片在国内仅正大天晴获批,2023年11月斩获首仿+首家过评。(相关阅读:正大天晴4类仿制药阿伐曲泊帕获批上市!大涨187%明星药!)

截图来源:CDE官网
阿伐曲泊帕原研来自美国AkaRx公司,是一款血小板生成素受体(TPO-R)激动剂,于2018年5月获FDA批准上市(商品名:Doptelet®),用于CLD相关血小板减少症的成年患者,这是全球首个FDA批准用于慢性肝病(CLD)相关血小板减少症的口服血小板生成素受体激动剂(TPO-RA)。主要通过刺激巨核细胞从骨髓祖细胞的增殖分化,促进血小板的生成,可短时间内(治疗后3-5天)快速提升血小板计数,适用于择期行诊断性操作或者手术的慢性肝病相关血小板减少症的成年患者。2020年4月,阿伐曲泊帕正式获得国家药品监督管理局批准进入国内,用于择期行诊断性操作或者手术的慢性肝病相关血小板减少症的成年患者治疗。这是复星医药首个引进的小分子创新药,也是国内首个获批用于慢性肝病相关血小板减少症的药物,现已纳入医保目录(乙类)。
据药融云数据库统计,马来酸阿伐曲泊帕片自上市后便开始了高速放量,上市次年院内销售额便突破1亿元,2022年达3.9亿元,同比增长超187%,2023年(数据截至2023年Q3)全国院内销售达4.25亿元,已超2022全年销售额,这一数据充分显示了该品种具有很大的市场潜力。

截图来源:药融云全国医院销售数据库
目前,马来酸阿伐曲泊帕片仅有2家企业拥有生产批文,2023年11月,南京正大天晴制药斩获首仿+首家过评。

截图来源:药融云过评药品汇总数据库
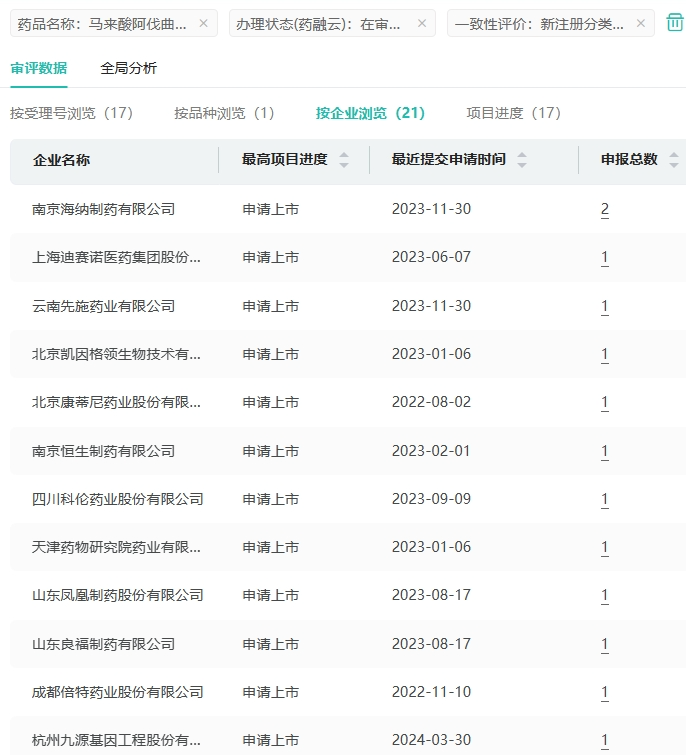
在仿制药布局方面,马来酸阿伐曲泊帕片已有江苏万邦生化医药、成都倍特药业、四川科伦药业、云南先施药业、江苏诚康药业、齐鲁制药等21家药企提交了仿制申请,均在审评审批中。

截图来源:药融云中国药品审评数据库
目前,杭州九源基因工程已有依诺肝素钠注射液、盐酸帕洛诺司琼注射液、氟维司群注射液、注射用福沙吡坦二甲葡胺4个品种过评。其中依诺肝素钠注射液进入第八批集采,盐酸帕洛诺司琼注射液进入第五批集采、第七批集采,氟维司群注射液进入第九批集采。
<END>
要解锁更多企业药品研发信息吗?查询药融云数据库(vip.pharnexcloud.com/?zmt-mhwz)掌握药品各国上市情况、药品批文信息、销售情况与各维度分析、市场竞争格局、一致性评价情况、集采中标情况、药企申报审批信息、最新动态与前景等,以及帮助企业抉择可否投入时提供数据参考!注册立享15天免费试用!








川公网安备51019002008863号
本网站未发布麻醉药品、精神药品、医疗用毒性药品、放射性药品、戒毒药品和医疗机构制剂的产品信息
收藏
登录后参与评论
暂无评论