
近期,据NMPA官网公示,海南葫芦娃药业集团的盐酸溴己新注射液和地氯雷他定片获批上市。据药融云数据统计,目前海南葫芦娃药业已有16个品种过评。

截图来源:NMPA
盐酸溴己新注射液为2021版国家医保目录品种。主要用于在口服给药困难的情况下,慢性支气管炎及其他呼吸道疾病如哮喘、支气管扩张、矽肺等有粘痰不易咳出的患者。据药融云数据统计,盐酸溴己新注射液在2022年全国院内市场销售额超3亿元,同比增长达142%,2023年(截止Q3)全国院内市场销售额超7亿元。

截图来源:药融云全国医院销售数据库
地氯雷他定片用于缓解慢性特发性荨麻疹及常年性过敏性鼻炎的全身及局部症状。据药融云数据统计,地氯雷他定片2022年在全国院内销售额达2千万。

截图来源:药融云全国医院销售数据库
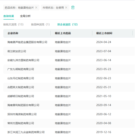
地氯雷他定片目前也有浙江华润三九众益制药、海南普利制药、广东九明制药深、圳市海滨制药等超10家国内药企获得生产批文。

截图来源:药融云中国药品批文数据库
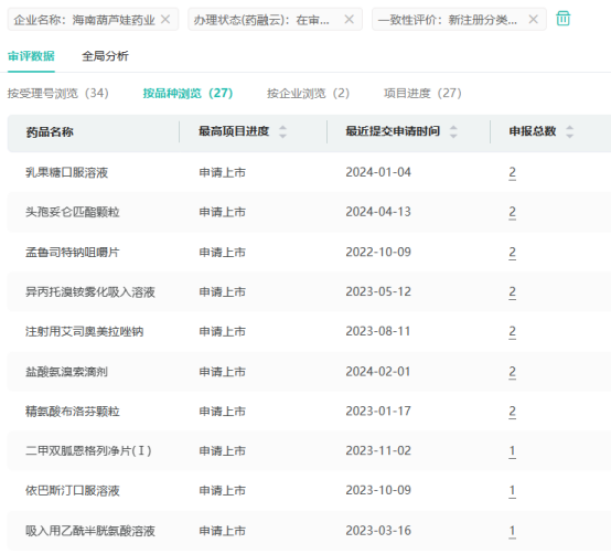
在仿制药布局方面,海南葫芦娃药业提交了头孢妥仑匹酯颗粒、孟鲁司特钠咀嚼片、注射用艾司奥美拉唑钠、盐酸氨溴索滴剂、二甲双胍恩格列净片(Ⅰ)等27个品种的仿制申请,均在审评审批中。

截图来源:药融云中国药品审评数据库
目前,海南葫芦娃药业已有16个品种过评。2024年至今,已有地氯雷他定片、头孢地尼颗粒、布洛芬混悬液、盐酸溴己新注射液等7个品种过评。
<END>
要解锁更多企业药品研发信息吗?查询药融云数据库(vip.pharnexcloud.com/?zmt-mhwz)掌握药品各国上市情况、药品批文信息、销售情况与各维度分析、市场竞争格局、一致性评价情况、集采中标情况、药企申报审批信息、最新动态与前景等,以及帮助企业抉择可否投入时提供数据参考!注册立享15天免费试用!








川公网安备51019002008863号
本网站未发布麻醉药品、精神药品、医疗用毒性药品、放射性药品、戒毒药品和医疗机构制剂的产品信息
收藏
登录后参与评论
暂无评论