
10月18日,据NMPA官网公示,山东圣鲁制药提交的盐酸溴己新注射液通过一致性评价。据药融云数据库显示,盐酸溴己新注射液在2023年全国院内市场的销售额超11亿元。

截图来源:NMPA官网
盐酸溴己新注射液其原研药由德国勃林格殷格翰在1963年开发,并于1966年最先在日本上市。该品种用于慢性支气管炎及其他呼吸道疾病伴有黏痰,不易咳出者。于2017年起纳入了国家医保乙类目录。据药融云数据库显示,盐酸溴己新注射液在2023年全国院内市场的销售额超11亿元。

截图来源:药融云全国医院销售数据库
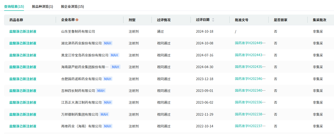
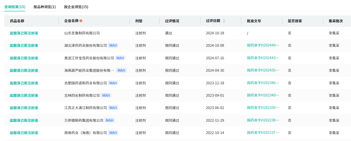
据药融云数据库显示,目前盐酸溴己新注射液已有16家国内药企获批生产,其中有山东圣鲁制药、仁合益康集团、海南葫芦娃药业、石家庄四药等15家药企过评。作为国家集中采购品种,盐酸溴己新注射液的市场竞争趋于“白热化”。

截图来源:药融云过评药品汇总
在第七批国家药品集中采购中,盐酸溴己新注射液的竞争情况原本非常激烈,有多家药企参与竞标。据药融云数据库显示,盐酸溴己新注射液纳入第七批集采的有石家庄四药、成都欣捷、仁合益康集团、广州一品红制药4家药企,根据行业数据,这4家企业几乎主导了盐酸溴己新注射液的市场供应。

截图来源:药融云过评药品汇总
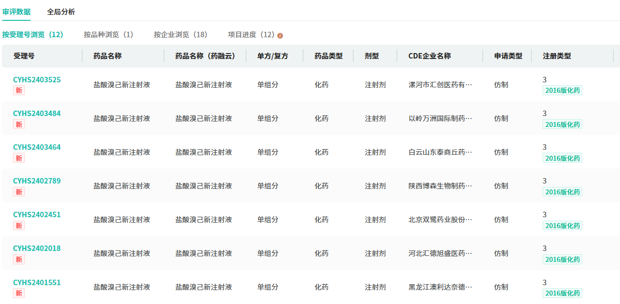
然而,盐酸溴己新注射液因集采供应策略的调整,其终端市场的前景依旧充满不确定性。当前,在仿制药领域,已有包括北京双鹭药业、河北仁合益康药业、山东京卫制药等在内的18家制药企业提交了该药品的新注册仿制申请,市场竞争态势日趋白热化。

截图来源:药融云中国药品审评数据库
随着细分市场需求的不断扩张及患者慢性病治疗需求的增长,溴己新注射液的市场潜力正逐步显现,尤其在呼吸系统疾病的治疗领域内,其作用日益凸显。据行业分析,随着更多企业涉足盐酸溴己新注射液的生产与销售,市场竞争格局将趋向更加多元化与复杂化。
参考来源:
[1] NMPA官网
[2] 药融云数据库
<END>
想要解锁更多药物研发信息吗?查询药融云数据库(vip.pharnexcloud.com/?zmt-mhwz)掌握药物基本信息、市场竞争格局、销售情况与各维度分析、药企研发进展、临床试验情况、申报审批情况、各国上市情况、最新市场动态、市场规模与前景等,以及帮助企业抉择可否投入时提供数据参考!注册立享15天免费试用!








川公网安备51019002008863号
本网站未发布麻醉药品、精神药品、医疗用毒性药品、放射性药品、戒毒药品和医疗机构制剂的产品信息
收藏
登录后参与评论
暂无评论