
5月24日,据江苏恩华药业公告显示,该公司以仿制4类报产的拉考沙胺注射液获批上市。据药融云数据统计,该品种在2023年(截止Q3)全国院内市场销售额超6千万元。

截图来源:企业公告
拉考沙胺(lacosamide)原研来自比利时优时比子公司施瓦茨法姆制药公司( Schwarz Pharma)。拉考沙胺为第三代新型抗癫痫治疗药物,副作用小,不经过肝脏代谢,与其他抗癫痫药物不会产生有临床意义的药物相互作用,并且由于其独特的作用机制,可作为部分癫痫发作患者新的治疗选择。据药融云数据统计,拉考沙胺注射液在2023年(截止Q3)全国院内市场销售额超6千万元,同比增长达168%。

截图来源:药融云全国医院销售数据库
目前国内已上市的拉考沙胺制剂有拉考沙胺片、拉考沙胺口服液、拉考沙胺注射液3种,均为国家医保乙类品种。
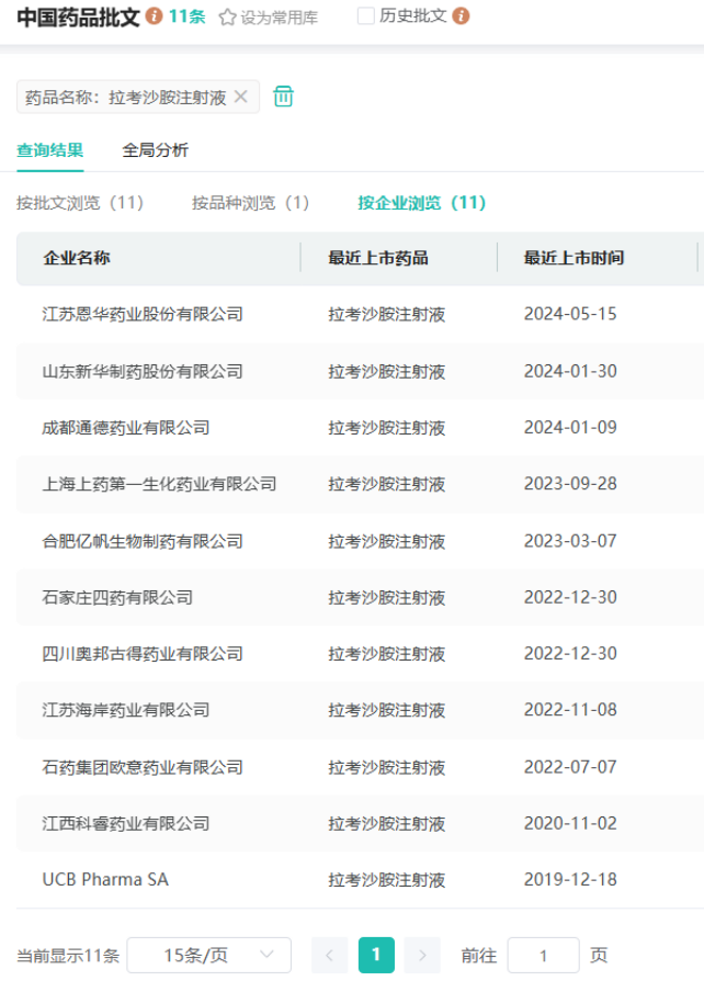
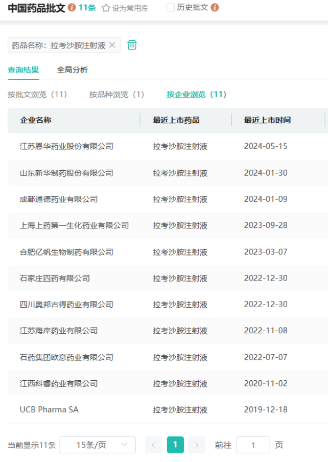
此外,在国内除原研,已有10家本土企业获得了拉考沙胺注射液的生产批文,包括江苏恩华药业、石药欧意、扬子江药业、石四药、亿帆生物、海南合瑞制药、成都通德药业等。

截图来源:药融云中国药品批文数据库
目前江苏恩华药业有咪达唑仑注射液、奥赛利定富马酸盐注射液、盐酸度洛西汀肠溶胶囊、枸橼酸芬太尼注射液等24个品种过评,其中注射剂有12款,此次拉考沙胺注射液是江苏恩华药业今年(截止5月24日)首个过评的品种,该品种进一步丰富了公司在中枢神经领域的产品管线。
参考来源:
[1] 药融云数据库
[2] 恩华药业公司官网/官方披露
<END>
想要解锁更多药物研发信息吗?查询药融云数据库(vip.pharnexcloud.com/?zmt-mhwz)掌握药物基本信息、市场竞争格局、销售情况与各维度分析、药企研发进展、临床试验情况、申报审批情况、各国上市情况、最新市场动态、市场规模与前景等,以及帮助企业抉择可否投入时提供数据参考!注册立享15天免费试用!








川公网安备51019002008863号
本网站未发布麻醉药品、精神药品、医疗用毒性药品、放射性药品、戒毒药品和医疗机构制剂的产品信息
收藏
登录后参与评论
暂无评论