
6月25日,据NMPA官网公示,济川药业集团提交的4类仿制药左氧氟沙星氯化钠注射液获批上市。据药融云数据库显示,左氧氟沙星氯化钠注射液在2023年全国院内的销售额近14亿元。

截图来源:NMPA官网
左氧氟沙星氯化钠注射液作用主要是广谱的杀菌作用,可以用于上呼吸道的感染,比如扁桃体炎的时候。也可以用于胆囊的感染、泌尿系统的感染,比如尿频、尿急、肾盂肾炎的情况。据药融云数据库显示,左氧氟沙星氯化钠注射液在2023年全国院内的销售额近14亿元,同比增长达19.13%。

截图来源:药融云全国医院销售数据库
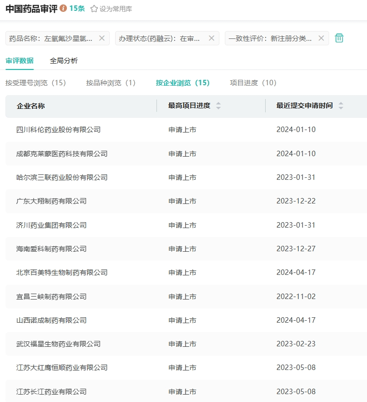
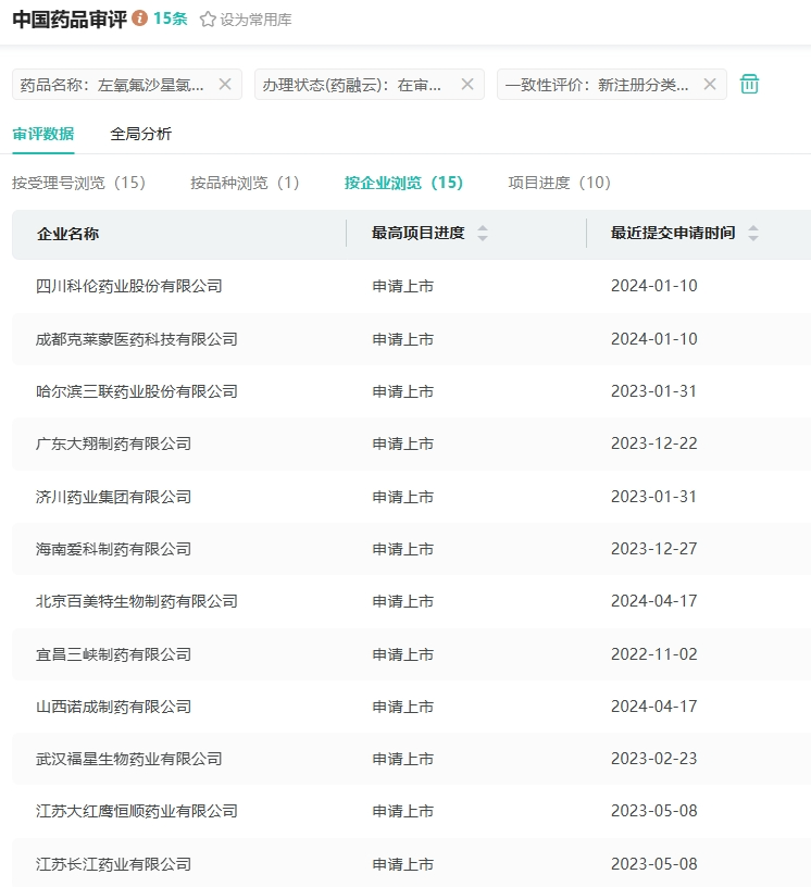
在仿制药布局方面,除济川药业集团,左氧氟沙星氯化钠注射液目前国内有四川科伦药业、山西诺成制药、江苏长江药业等14家药企提交上市申请在审,市场竞争十分激烈。

截图来源:药融云中国药品审评数据库
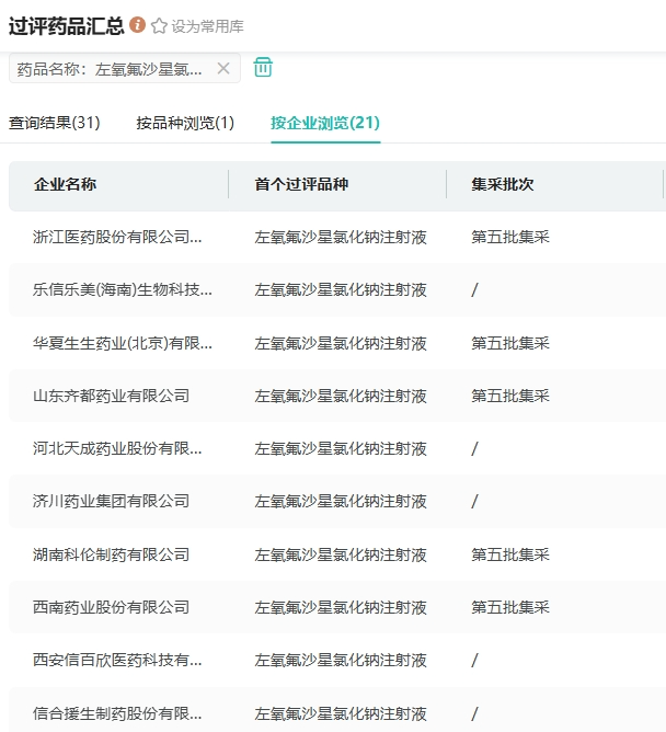
目前,左氧氟沙星氯化钠注射液过评的药企有济川药业、浙江医药、华夏生生药业、湖南科伦制药等21家药企,其中山东齐都药业是首家过评的药企。

截图来源:药融云过评药品汇总数据库
济川药业集团(含子公司)目前提交了氯化钾颗粒、罗沙司他胶囊、聚乙二醇钠钾散等11个品种(不含此次获批品种)的仿制申请。
2024年至今,济川药业集团(含子公司)有丙氨酰谷氨酰胺注射液、尼莫地平注射液、左氧氟沙星氯化钠注射液、盐酸非索非那定干混悬剂4个品种过评。
<END>
想要解锁更多药物研发信息吗?查询药融云数据库(vip.pharnexcloud.com/?zmt-mhwz)掌握药物基本信息、市场竞争格局、销售情况与各维度分析、药企研发进展、临床试验情况、申报审批情况、各国上市情况、最新市场动态、市场规模与前景等,以及帮助企业抉择可否投入时提供数据参考!注册立享15天免费试用!








川公网安备51019002008863号
本网站未发布麻醉药品、精神药品、医疗用毒性药品、放射性药品、戒毒药品和医疗机构制剂的产品信息
收藏
登录后参与评论
暂无评论