
7月24日,据CDE官网显示,国药一心制药(国药集团子公司)提交的4类仿制化药左卡尼汀注射液上市申请已获受理。据药融云数据库显示,该品种在2023年全国院内市场的销售额超12亿元。

截图来源:CDE官网
左卡尼汀注射液用于慢性肾衰长期血透病人因继发性肉碱缺乏产生的一系列并发症状,临床表现如心肌病、骨骼肌病、心律失常、高脂血症,以及低血压和透析中肌痉挛等。据药融云数据库显示,左卡尼汀注射液在2023年全国院内市场的销售额超12亿元,是2023年全国院内消化系统及代谢药TOP18品种。

截图来源:药融云全国医院销售数据库
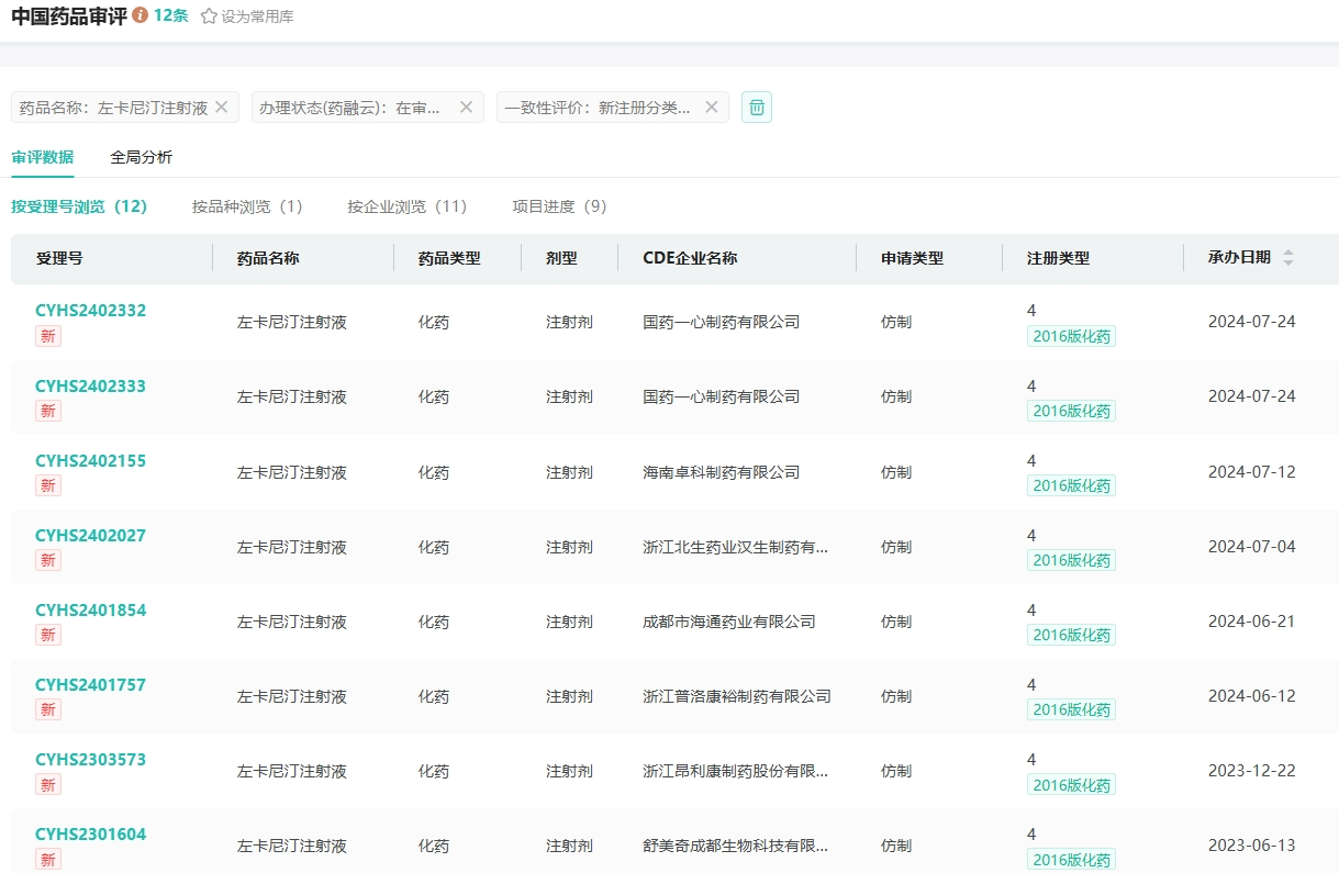
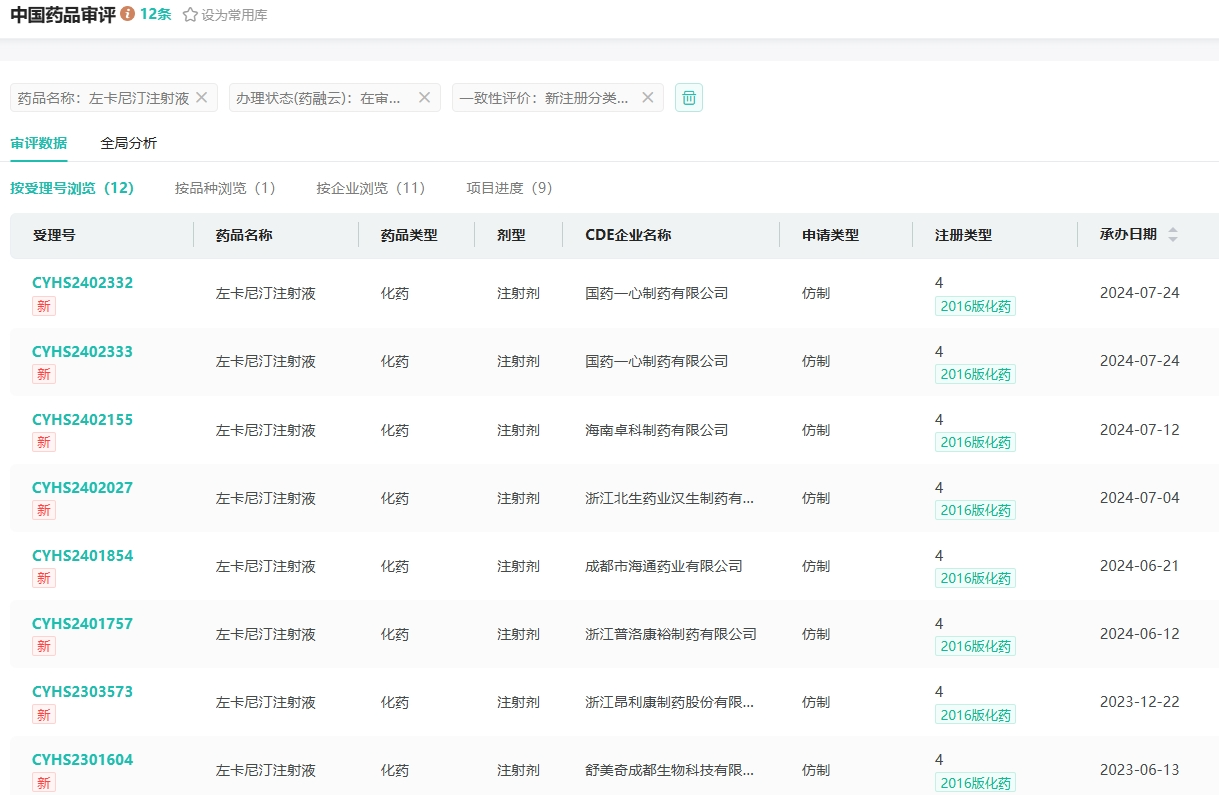
目前,左卡尼汀注射液有国药一心制药、四川美大康佳乐药业、浙江诚意药业、浙江创新生物等11家药企提交了仿制申请。

截图来源:药融云中国药品审评数据库
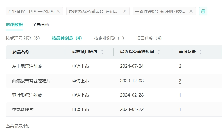
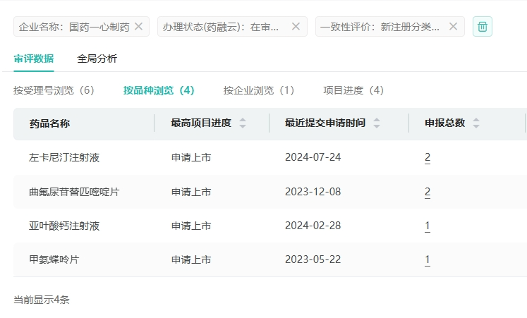
除此次报产的左卡尼汀注射液,国药一心制药还有3款品种报产在审,其中,亚叶酸钙注射液、曲氟尿苷替匹嘧啶片、甲氨蝶呤片均是抗肿瘤药和免疫机能调节药物。据药融云数据库显示,抗肿瘤药和免疫机能调节药物和消化系统与代谢药物2大领域在全国院内市场销售额均超千亿元。

截图来源:药融云中国药品审评数据库
此外,左卡尼汀注射液有超20家药企拥有生产批文,东北制药沈阳第一制药、山东齐都药业、华夏生生药业等13家药企过评。
目前,国药一心制药有注射用阿糖胞苷、甲磺酸伊马替尼片、醋酸奥曲肽注射液、氟尿嘧啶注射液、注射用达卡巴嗪、盐酸纳洛酮注射液6个品种过评。
参考来源:
[1] CDE官网
[2] 药融云数据库
<END>
想要解锁更多药物研发信息吗?查询药融云数据库(vip.pharnexcloud.com/?zmt-mhwz)掌握药物基本信息、市场竞争格局、销售情况与各维度分析、药企研发进展、临床试验情况、申报审批情况、各国上市情况、最新市场动态、市场规模与前景等,以及帮助企业抉择可否投入时提供数据参考!注册立享15天免费试用!








川公网安备51019002008863号
本网站未发布麻醉药品、精神药品、医疗用毒性药品、放射性药品、戒毒药品和医疗机构制剂的产品信息
收藏
登录后参与评论
暂无评论