
10月29日,据NMPA官网最新公示 ,山东新时代提交的4类仿制药磷酸西格列汀片和恩格列净片两大品种同日获批。

截图来源:NMPA官网
全球热销药专利到期,头部药企激战正酣!
磷酸西格列汀片是由默沙东公司研发,国内首个用于治疗2型糖尿病的二肽基肽酶4(DPP-4)抑制剂。2009年9月,原研药获批进入中国。作为全球畅销药物,磷酸西格列汀自2006年获美国FDA批准生产以来,其年销售额一度达到40.86亿美元,近年来也稳定在30-40亿美元的水平。据摩熵医药数据库显示,磷酸西格列汀片在2023年全国院内销售额近15亿元。

截图来源:摩熵医药(原药融云)全国医院销售数据库
作为少数未被集采的口服降糖药,磷酸西格列汀片的竞争态势很是激烈,目前已有30家过评药企以及1家原研默沙东共同角逐的激烈局面,过评药企含头部明星药企,如甘李药业、石药集团欧意药业、辰欣药业、扬子江药业、福元医药、正大天晴药业、四川科伦药业、齐鲁制药、江苏万邦生化医药等。

截图来源:摩熵医药(原药融云)过评药品汇总数据库
此外,磷酸西格列汀在国内的化合物专利CN1290848C已于2022年7月4日到期,其晶型专利CN100430397C,即保护磷酸结晶单水合物的专利有效期也于2024年6月18日到期。

截图来源:摩熵医药(原药融云)全球药品上市专利数据库
5亿口服降糖药,山东新时代获批
恩格列净片是常用口服降糖药,属于钠-葡萄糖协同转运蛋白-2(SGLT-2)抑制剂类药物,拥有独特的不依赖胰岛素的降糖机制,即通过减少葡萄糖在肾脏的重吸收从尿中直接排糖。据摩熵医药数据库显示,恩格列净片在2023年全国院内销售额近5亿元。

截图来源:摩熵医药(原药融云)全国医院销售数据库
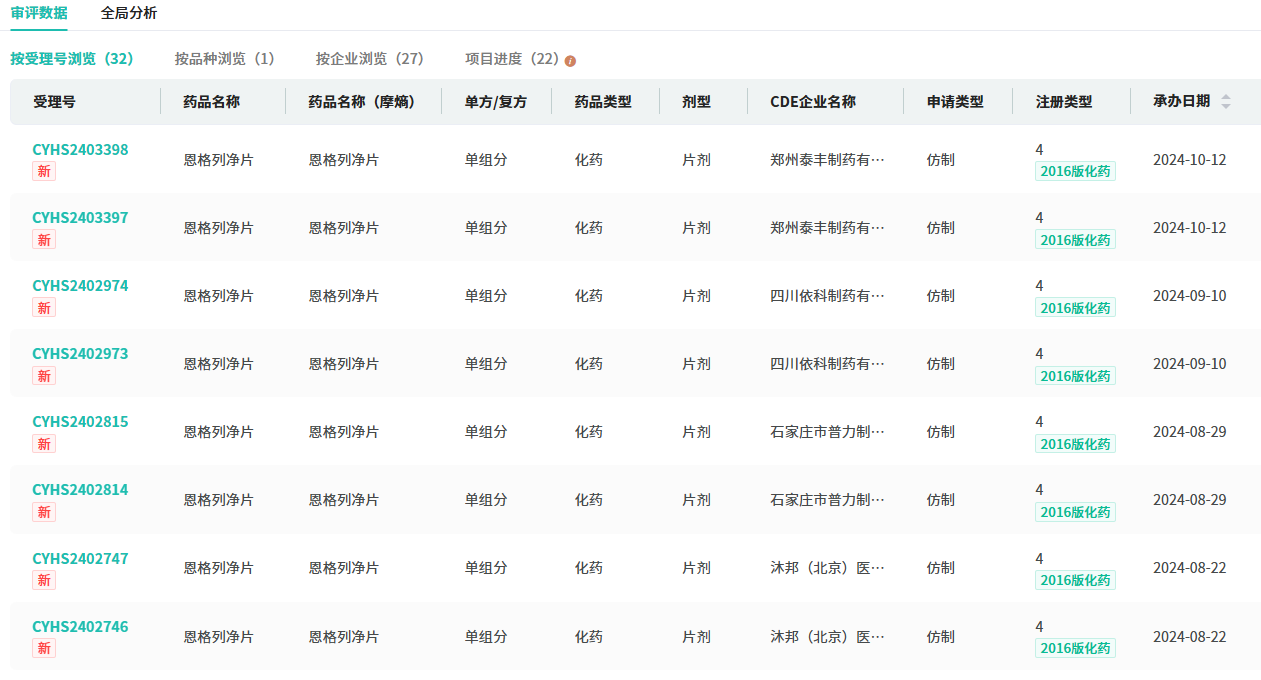
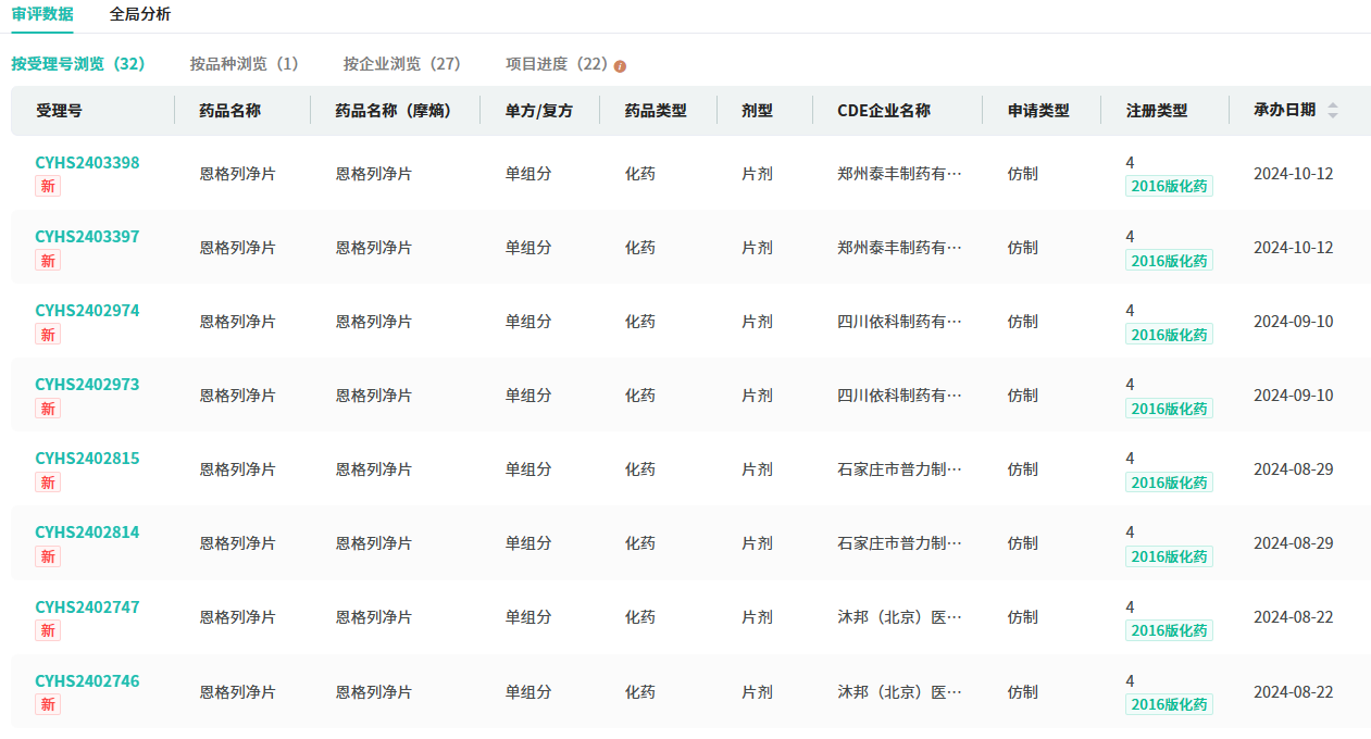
此前,恩格列净片有24家企业拥有生产批文。在仿制药布局方面,恩格列净片在国内有成都恒瑞制药、南京海纳制药、重庆华森制药等27家以仿制4类报产在审。

截图来源:摩熵医药(原药融云)中国药品审评数据库
2024年至今,山东新时代(含鲁南贝特制药)有注射用地西他滨、磷酸奥司他韦胶囊、磷酸西格列汀片、米诺地尔搽剂等22个品种过评,其中酒石酸托特罗定片、阿昔莫司胶囊2大品种为首家过评。
参考来源:
[1] NMPA官网
[2] 摩熵医药(原药融云)数据库
<END>
想要解锁更多药物研发信息吗?查询摩熵医药(原药融云)数据库(vip.pharnexcloud.com/?zmt-mhwz)掌握药物基本信息、市场竞争格局、销售情况与各维度分析、药企研发进展、临床试验情况、申报审批情况、各国上市情况、最新市场动态、市场规模与前景等,以及帮助企业抉择可否投入时提供数据参考!注册立享15天免费试用!








川公网安备51019002008863号
本网站未发布麻醉药品、精神药品、医疗用毒性药品、放射性药品、戒毒药品和医疗机构制剂的产品信息
收藏
登录后参与评论
暂无评论