
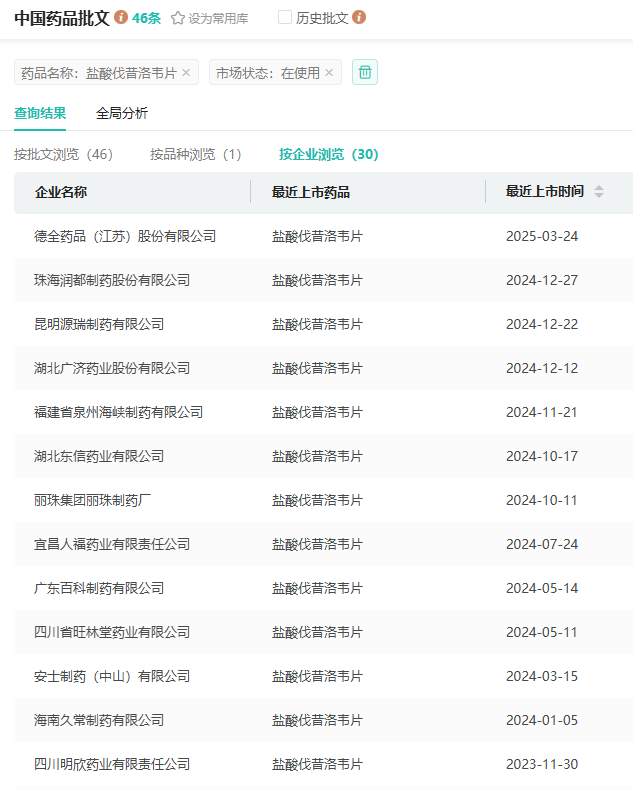
4月1日,据NMPA官网显示,宜昌人福药业提交的原6类仿制药盐酸伐昔洛韦片获批并通过一致性评价。据摩熵医药数据库显示,该品种除宜昌人福药业过评外,另有其他5家公司过评。

截图来源:NMPA
盐酸伐昔洛韦片是一种抗病毒药物,为阿昔洛韦的前体药物,服用后可在体内迅速转化为阿昔洛韦,进而抑制病毒DNA的合成,临床上常用于治疗水痘-带状疱疹病毒、单纯疱疹病毒等引起的疾病,如带状疱疹、单纯疱疹以及生殖器疱疹等。
据摩熵医药全国医院销售(全终端)数据库显示,近年来盐酸伐昔洛韦片院内销售额持续提升,2023年销售额达3.20亿元,同比增长达3.95%,具有较好的市场潜力。









川公网安备51019002008863号
本网站未发布麻醉药品、精神药品、医疗用毒性药品、放射性药品、戒毒药品和医疗机构制剂的产品信息
收藏
登录后参与评论
暂无评论