【10月仿制药月报】内容亮点
10月一致性评价仿制药申请情况
- 共有12个品种(按受理号计16项)一致性评价申请获CDE承办;
- 申请品种主要为神经系统药物,申请剂型主要为注射剂;
- 阿奇霉素干混悬剂等4个品种为受理号最多的品种,有2个。
10月新注册分类仿制药申报临床/上市情况
- 10月期间共有276项(共计186个品种)新注册分类仿制药申请获CDE承办;
- 新注册分类临床申请20项,新注册分类上市申请256项。
10月过评/新注册分类仿制药获批上市信息
- 10月期间共有164个(共计265个受理号)品种通过/视同通过一致性评价;
- 一致性评价过评品种数量18个,视同通过一致性评价品种数量149个。
每月相关仿制药申报、仿制药临床申报、仿制药通过/视同通过一致性评价等,摩熵咨询团队基于NMPA、CDE渠道数据,真实可溯源,将每月推出「仿制药月报」, 以帮助业内人士通盘把握每月行业范围内的仿制药申报及获批情况。
一、10月一致性评价仿制药申报情况
根据摩熵医药数据库统计,2025年10月共有12个品种(按受理号计16项)一致性评价申请获CDE承办,申请品种主要为神经系统药物,申请剂型主要为注射剂。

截图来源:摩熵咨询月报
阿奇霉素干混悬剂、盐酸丁螺环酮片、胞磷胆碱钠注射液和注射用盐酸地尔硫卓为受理号最多的品种,有2个;各企业申请品种数均为1个。

截图来源:摩熵咨询月报
二、10月新注册分类仿制药申报临床/上市信息
根据摩熵医药数据库统计,2025年10月期间共有276项(共计186个品种)新注册分类仿制药申请获CDE承办,其中新注册分类临床申请20项,新注册分类上市申请256项。
从品种来看,本月申请品种主要为心血管系统药物,申请剂型主要为片剂。

截图来源:摩熵咨询月报
硫酸氨基葡萄糖胶囊为申请企业数最多的品种,有11家;石家庄四药有限公司是申请品种最多的企业,有6个品种。

截图来源:摩熵咨询月报
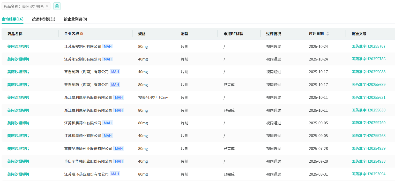
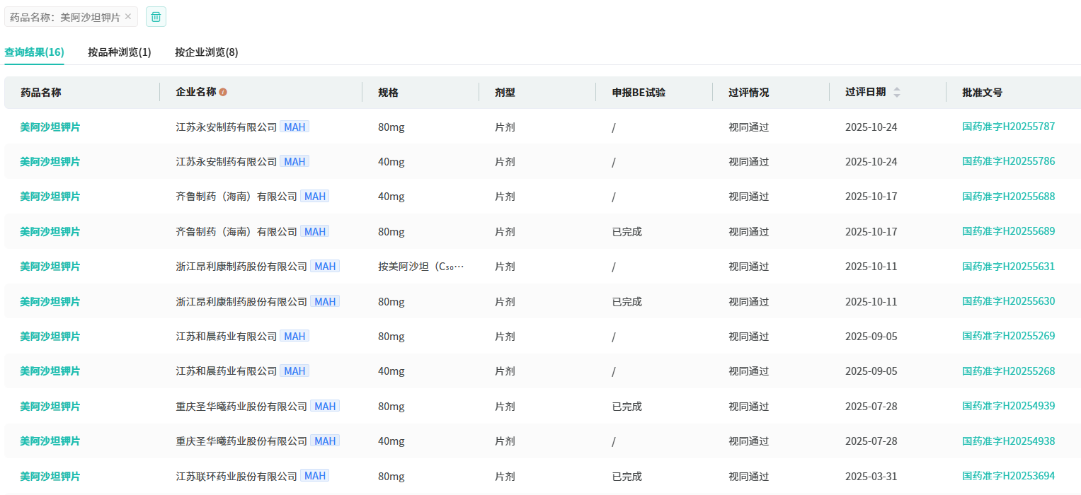
三、10月过评/新注册分类仿制药获批上市信息
根据摩熵医药数据库统计,2025年10月期间共有164个(共计265个受理号)品种通过/视同通过一致性评价,其中一致性评价过评品种数量18个,视同通过一致性评价品种数量149个。

截图来源:摩熵咨询月报
10月过评品种主要为消化系统与代谢药物。过评企业数最多的品种为硫酸氨基葡萄糖胶囊,有5家企业过评。首家过评品种有9个,达七家过评品种有8个。
2025年10月一致性评价过评品种信息一览表(部分)



截图来源:摩熵咨询月报
四、10月首家通过/视同通过一致性评价品种
根据摩熵医药数据库统计,2025年10月期间共有9个(共计10个受理号)品种首次过评/视同过评一致性评价,过评受理号最多的领域为神经系统药物,有5个。过评受理号最多的企业为四川科伦药业股份有限公司,有2个。
近一年首家通过/视同通过一致性评价品种数量

2025年10月首家通过/视同通过一致性评价品种信息一览表


截图来源:摩熵咨询月报
五、10月达七家通过/视同通过一致性评价品种
根据摩熵医药数据库统计,2025年10月期间共有8个(共计19个受理号)品种一致性评价达七家过评。
近一年通过/视同通过达七家品种数量

截图来源:摩熵咨询月报
10月11日,江苏迪赛诺制药的腺苷注射液视同通过一致性评价,过评总企业数达到了7家。腺苷注射液是一种用于治疗特定快速性心律失常的急救药物,同时也可作为心脏负荷试验的诊断用药。腺苷注射液2025年上半年在医院端销售额达1.29亿元,杭州中美华东以1.27亿元的销售额占据98%的市场。












川公网安备51019002008863号
本网站未发布麻醉药品、精神药品、医疗用毒性药品、放射性药品、戒毒药品和医疗机构制剂的产品信息
收藏
登录后参与评论
暂无评论