
8月以来,仿制药每周持续获批,截止21日,已有63个品种先后通过(视同通过)一致性评价,其中10个品种陆续迎来仿制药首家过评。分别是腹膜透析液、乳果糖口服溶液、盐酸贝尼地平片、伏立康唑分散片、醋酸曲普瑞林注射液、注射用甲磺酸加贝酯、盐酸屈他维林注射液、艾塞那肽注射液、拉西地平片、胞磷胆碱注射液。据药融云统计,这几个仿制药首家过评品种2021年的院内销售额70%都过亿,其中超过三十亿的1款,超过十亿的1款。
8月仿制药首家过评品种2021/2022Q1院内销售情况(截止8月21日)

来源、整理:药融云数据
一、30亿重磅品种:腹膜透析液
腹膜透析液最早于2002年在我国获批上市,据药融云统计,该药近年来销售依旧很给力,在我国院内的销售额呈持续上升趋势,2021年达到41.47亿元,在品种方面由广州百特医疗的腹膜透析液(乳酸盐-G2.5%)占据74%的市场份额,遥遥领先其他公司其他药品。近日,药融云全国医院销售数据库更新了2022年Q1的药品销售数据,腹膜透析液销售额已达11.4亿元,预计全年可冲击50亿。
腹膜透析液院内销售情况

截图来源:药融云全国医院销售数据库
据药融云数据库显示,目前中国市场上在售的腹膜透析液种类有很多,其中腹膜透析液(乳酸盐)、腹膜透析液(乳酸盐-G4.25%)、腹膜透析液(乳酸盐-G1.5%)、腹膜透析液(乳酸盐-G2.5%)过评企业较多,分别有11家、9家、8家、7家。而广州百特医疗为多款药品的最早上市企业,充分地把握住了市场先机,为后来占据腹膜透析液的主导地位奠定了基础。
腹膜透析液中国药品批文信息(按品种浏览)

截图来源:药融云中国药品批文数据库
8月12日,威高泰尔茂同日通过了腹膜透析液(乳酸盐G2.5%)、腹膜透析液(乳酸盐G1.35%)、低钙腹膜透析液(乳酸盐-G2.5%)、低钙腹膜透析液(乳酸盐-G1.35%)4款药品的一致性评价,且也都是仿制药首家过评。据药融云统计,威高泰尔茂此前只占腹膜透析液1.57%的市场份额,如今拿下了该品种4款药品的仿制药首家,今后或可加大其的市场占比。
二、十亿大品种:乳果糖口服溶液
据药融云统计,乳果糖口服溶液近年来在我国院内的销售额呈现出递增的年度趋势,2021年首次突破十亿元大关,目前2022年Q1的销售额已有2.96亿元,预计全年依旧保持良好的上升态势。在生产企业方面,乳果糖口服溶液近年来的大部分市场主要由2家药企包揽,雅培公司占据46%,韩美公司占据32%。
乳果糖口服溶液院内销售情况

截图来源:药融云全国医院销售数据库
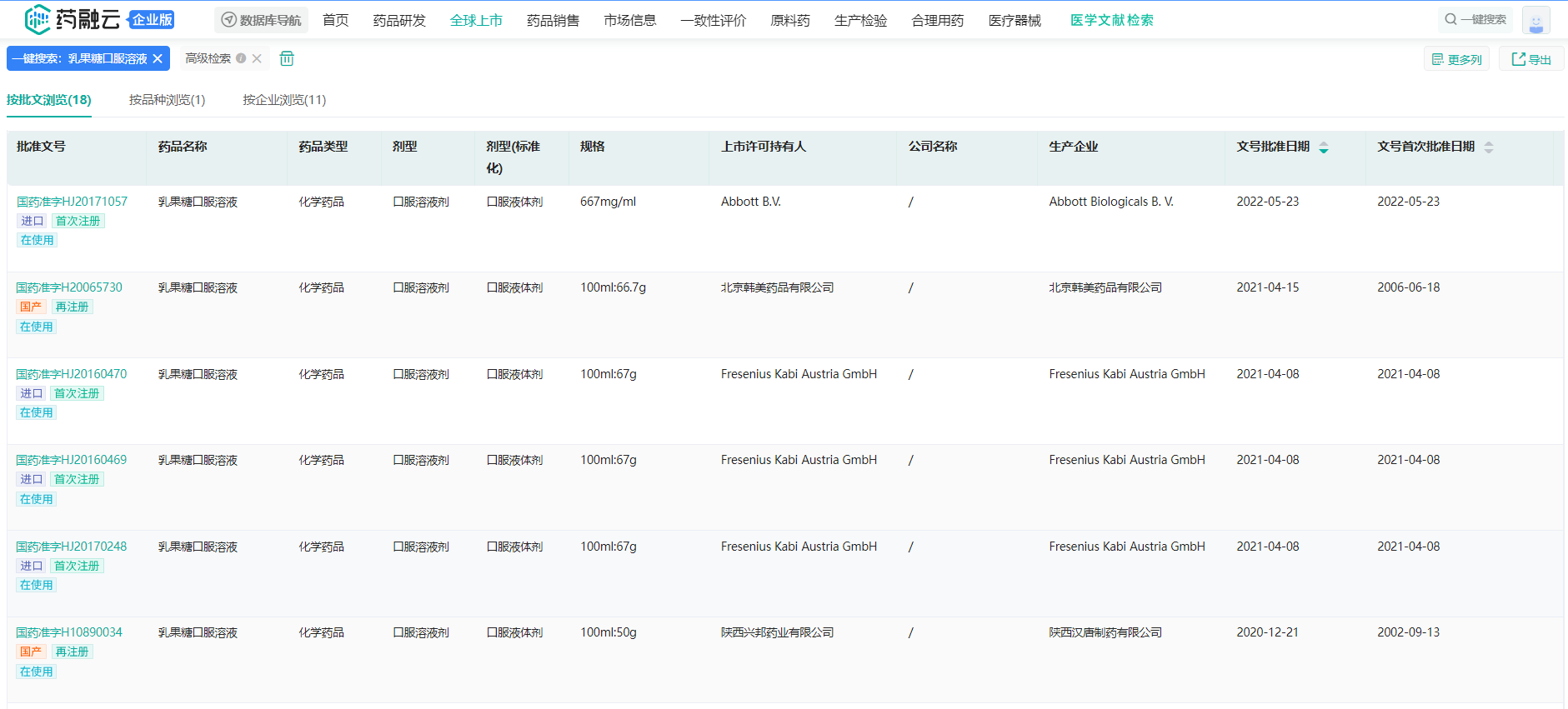
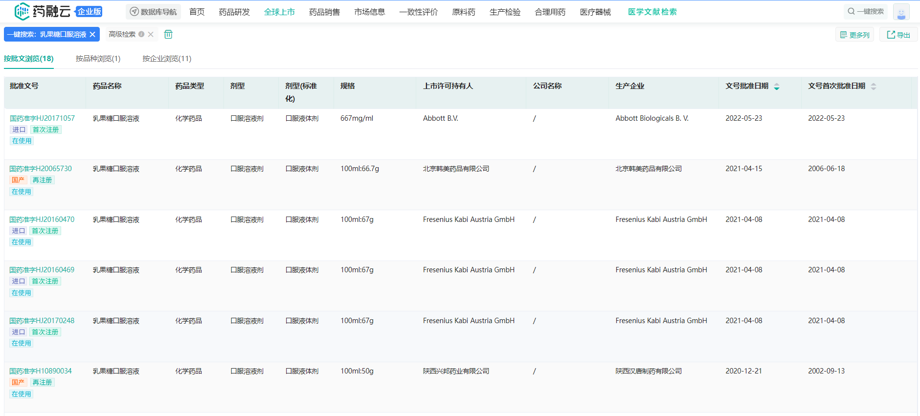
目前乳果糖口服溶液在中国市场上在使用的药品批文有18条,其中国企占9家,进口占2家。8月12日,德峰药业拿下该品种的仿制药首家过评,使国企再增一家。
乳果糖口服溶液批文信息(部分)

截图来源:药融云中国药品批文数据库
另外,据药融云数据预测,雅培于2017年获批的乳果糖口服溶液(667mg/ml)的药品批文将会在今年年中过期,于是公司早早就提交了该药的进口再注册申请,并于今年1月12日被承办,也成功在过期日期之前获批(5月23日),总共用时139天。
雅培乳果糖口服溶液审评时间轴

截图来源:药融云中国药品审评数据库
三、5个亿元品种
其他还有5个亿元品种在8月也迎来仿制药首家过评企业,山东华素——盐酸贝尼地平片;扬子江药业——伏立康唑分散片;海南双成药业——醋酸曲普瑞林注射液;重庆华森制药——注射用甲磺酸加贝酯;江苏联环药业——盐酸屈他维林注射液。
据药融云全国医院销售数据库显示,盐酸贝尼地平片于2016年首次突破亿元大关,后销售额依旧保持缓慢递增,2021年达3.77亿,同比2020年增长28.22%,生产企业方面,协和麒麟与山东华素各自占据半壁江山。
伏立康唑分散片的销售峰值出现在2020年,达4.8亿元,2021年出现下滑趋势,特别是后2个季度,销售额不到2千万,导致全年仅有1.37亿。伏立康唑分散片在中国的药品批文仅扬子江药业一家拥有,院内市场也皆都由扬子江药业独占。
另外还有3个品种的2021年的销售额均超1亿元,分别为醋酸曲普瑞林注射液、注射用甲磺酸加贝酯和盐酸屈他维林注射液。前2个都是销售情况不太稳定,销售峰值已出现在前几年,且近几年市场活力不大,开始走下坡路。后一个于2012年首次进入中国市场,但在8年后(2020年)才首次突破亿元销售额,且增长较为缓慢,可见在国内的市场较小。
以上资讯来自药融云《医药行业观察周报》,数据来自药融云数据库。还想要了解更多医药行业每周、每月发生的各类大小事件,欢迎关注“药融云公众号(gh_d20f87bd52d9)”,回复关键词“报告”即可获得。还想要解锁更多仿制药申报审批情况、企业过评情况、各国批文信息、市场销售情况以及各维度分析等等,查询药融云数据库(https://www.pharnexcloud.com/?zmt-mhwz)皆可掌握。
无论您是在药企从事研发注册、商务拓展(BD)、战略研究,或是在风投、券商从事医药投资、行业分析,相信您都可以通过药融云《医药行业观察周报》和药融云数据库,快速、高效地获取最核心的新药情报信息以及全面的各类市场数据,帮助您站在时讯与数据的至高点,知己知彼、少走弯路、统筹全局、运筹帷幄。
<END>







川公网安备51019002008863号
本网站未发布麻醉药品、精神药品、医疗用毒性药品、放射性药品、戒毒药品和医疗机构制剂的产品信息
收藏
登录后参与评论
暂无评论