
近年来,药品监管部门高度重视仿制药质量和疗效一致性评价(以下简称一致性评价)工作,过评药品品种数量、覆盖广度大幅提升,“跑”出了加速度,为深化医药卫生体制改革提供了有力支撑。而且,是否通过仿制药一致性评价也成为国家集中带量采购药品的重要指标之一。
通过药融云一致性评价数据库群,可以快速查询到已通过一致性评价品规和正在做一致性评价的全部申报数据,数据均来源于NMPA和CDE官网,帮助用户快速掌握一致性评价最新过评情况,节约时间提高工作效率;利用一致性评价数据库分析已过评品种数据,洞悉竞争格局,分析集采情况,及时调整研发策略,规避风险。
今天我们来盘点一下药融云一致性评价审评进度数据库收录的近30天(数据更新时间截止到2022年8月31日)通过/视同通过一致性评价的首家过评品种。来看看都有哪些品种?又分别是哪些企业拿下首家过评呢?
1.注射用盐酸美法仑(西安力邦制药有限公司)
盐酸美法仑用于治疗多发性骨髓瘤,为临床短缺的罕见病药品。注射用盐酸美法仑原研是APOTEX INC,商品名为ALKERAN,于1992年11月18日获得美国FDA批准上市。2020年注射用盐酸美法仑在美国销售额约为5466万美元。
国内仅有1家厂商获批进口注射用盐酸美法仑,凯信远达的迈维宁于2016年11月申请中国上市,2017年6月进入快速审评通道,2018年11月被国家药品监督管理局批准免临床试验上市。
注射用盐酸美法仑获批信息(部分)

图片来源:药融云中国药品审评数据库
迈维宁®用于多发性骨髓瘤患者造血干细胞移植前的高剂量预处理治疗和不适合口服剂型治疗的多发性骨髓瘤患者的姑息治疗。是中国唯一一款用于造血干细胞自体移植预处理的美法仑类药物。此次西安力邦制药以仿制药首家获批上市,或将打破其在国内的独家地位。
2.布洛芬混悬液(湖北多瑞药业有限公司)
布洛芬属于非甾体类解热镇痛抗炎药,说起这个家族,大家或许并不陌生,如阿司匹林和对乙酰氨基酚。以布洛芬为代表的非甾体类抗炎药对于炎症和组织损伤引起的疼痛(可称为“钝痛”)十分有效,如头痛、牙痛、关节痛、普通感冒引起的发热、女性生理期疼痛等。
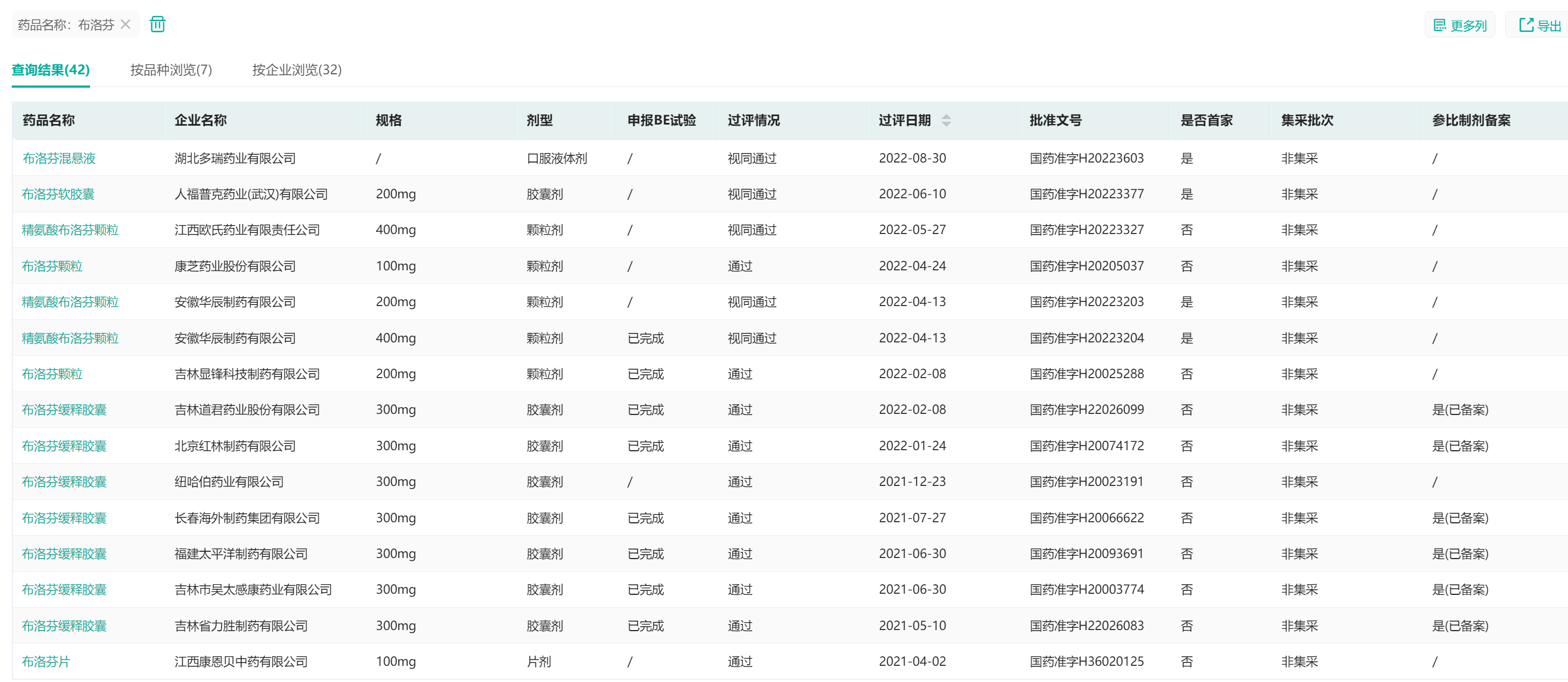
据药融云过评药品数据库显示,目前国内已获批上市的布洛芬制剂(含复方剂型)合计42种,用药途径包括内服及外用。其中,布洛芬缓释胶囊有11家企业过评,首家过评企业为润都制药;布洛芬颗粒有8家企业过评,首家过评为康恩贝制药;精氨酸布洛芬颗粒2家,首家过评为华辰制药;布洛芬片6家,首家过评为石药集团;布洛芬注射液4家,首家过评为苑东生物;布洛芬软胶囊1家,首家过评为人福普克;而此次多瑞药业的布洛芬混悬液为首家过评。
其他剂型暂时没有企业过评。其中,布洛芬注射液和布洛芬片已进入第四批集采目录,布洛芬缓释胶囊/颗粒被纳入第三批国家集采。
布洛芬过评药品汇总(部分)

图片来源:药融云过评药品数据库
据药融云全国医院销售数据库统计,布洛芬混悬液近八年在我国院内的销售额均在一亿元以上,总体保持递增趋势。2020年出现一次短暂下滑,2021年又迅速回升,2021年布洛芬混悬液院内销售额达到1.99亿元,预计2022年会突破2亿元大关。
布洛芬混悬液历年院内市场销售趋势

图片来源:药融云全国医院销售数据库
3.富马酸福莫特罗吸入溶液(济南景笙科技有限公司)
富马酸福莫特罗吸入溶液用于慢性阻塞性肺部疾病(COPD)患者支气管狭窄的维持治疗,包括慢性支气管炎和肺气肿,每日两次(早上和晚上),可长期雾化。最早由Mylan开发,于2007年获得美国FDA批准,商品名 PERFOROMIST®。
富马酸福莫特罗是一种速效、长效选择性β2肾上腺素类受体激动剂,能产生舒张支气管平滑肌及抑制肥大细胞炎性介质释放作用。由于其特有的速效长效作用机制,及吸入溶液剂量灵活、吸入效果受吸气模式影响较小等优点,被广泛用于多种呼吸道疾病的治疗,尤其针对年幼和年老的病人,以及不适合其他吸入制剂者。
据药融云统计,富马酸福莫特罗近几年在我国院内的销售情况并不理想,但总体也呈递增趋势。2021年出现爆发式增长,突破亿元大关直达四亿,同比增长334.65%。目前2022年Q1销售额已近两亿,预计全年销售额保持大幅上涨趋势。
富马酸福莫特罗2021年医院端销售情况

图片来源:药融云全国医院销售数据库
国外已上市含有富马酸福莫特罗的制剂,以吸入剂型为主,比如富马酸福莫特罗吸入溶液(PERFOROMIST)、富马酸福莫特罗吸入粉雾剂(OXIS TURBUHALER)、布地奈德福莫特罗吸入粉雾剂(SYMBICORT)、丙酸倍氯米松福莫特罗吸入粉雾剂(FOSTER)、格隆溴铵福莫特罗吸入气雾剂(BEVESPI)和其他复方吸入剂等。
4.甲磺酸帕珠沙星氯化钠注射液(四川美大康佳乐药业有限公司)
甲磺酸帕珠沙星氯化钠注射液是属于喹诺酮类消炎药物,主要成分为甲磺酸帕珠沙星、氯化钠。甲磺酸帕珠沙星为第三代喹诺酮类抗菌药,抗菌谱广,抗菌活性强,可有效对抗军团菌属、流感嗜血杆菌、粘膜炎莫拉菌、大肠杆菌、变形菌属、不动杆菌属和雷氏普罗威登斯菌等。临床上常用于支气管及肺部感染、细菌性痢疾、泌尿系统、皮肤和软组织等感染。
不过,由于喹诺酮类药品抗菌治疗有可能引发相关严重不良反应,2011年国家药监局将帕珠沙星列入《药品不良反应信息通报》的9个品种之一,导致近年来医院用药市场销售额持续下滑。据药融云全国医院销售数据库显示,2020年、2021年帕珠沙星医院端销售额呈悬崖式暴跌,2021年销售额为1323.21万元,同比下降37.1%。
帕珠沙星医院端历年销售趋势

图片来源:药融云全国医院销售数据库
5.赖诺普利氢氯噻嗪片(江苏天士力帝益药业有限公司)
赖诺普利氢氯噻嗪片是由赖诺普利(10mg)和小剂量氢氯噻嗪(12.5mg)组成的固定剂量复方制剂,用于治疗高血压。原研为Alvogen Malta Operations,于1993年11月获得美国FDA批准上市销售。目前仅有两家厂商生产赖诺普利氢氯噻嗪片,除了此次过评的天士力帝益,还有亚邦爱普森。
赖诺普利是依那普利的赖氨酸衍生物,为第3代长效兼高效的血管紧张素转换酶抑制剂(ACEI),导致醛固酮分泌下降,从而降低血压。氢氯噻嗪是利尿剂,可增强血浆肾素活性及醛固酮分泌,来降低血压。
赖诺普利与氢氯噻嗪联合,一方面利尿剂激活肾素-血管紧张素-醛固酮系统(RAAS),使作用于RAAS的ACEI作用更明显;另一方面通过高血压容量机制与RAAS机制的双重阻断,在降压方面与利尿剂产生协同作用,实现强化降压达标。
赖诺普利氢氯噻嗪片过评信息(部分)

图片来源:药融云中国药品审评数据库
除此之外,还有伏立康唑分散片(扬子江药业集团南京海陵药业有限公司)、低钙腹膜透析液(乳酸盐-G1.35%/G2.5%)、腹膜透析液(乳酸盐-G2.5%/G1.35%)(威高泰尔茂(威海)医疗制品有限公司),乳果糖口服溶液(四川德峰药业有限公司),胞磷胆碱注射液(山东玉满坤生物科技有限公司),醋酸曲普瑞林注射液(海南双成药业股份有限公司),拉西地平片(北京百美特生物制药有限公司),盐酸贝尼地平片(山东华素制药有限公司)、注射用甲磺酸加贝酯(重庆华森制药股份有限公司)等。因篇幅有限,想要查看更多首家过评药品的详细信息,请前往药融云数据库(vip.pharnexcloud.com/?zmt-mhwz)官网。
<END>







川公网安备51019002008863号
本网站未发布麻醉药品、精神药品、医疗用毒性药品、放射性药品、戒毒药品和医疗机构制剂的产品信息
收藏
登录后参与评论
暂无评论