仿制药作为我国药品市场的主力军,在国内药企的产品线中扮演着重要角色。头部药企在加速创新转型之际,仍然是仿制与创新两手抓。而在刚刚过去的2023年上半年,众多药企成功拿下了多款仿制药,国内企业的仿制药中期战绩也新鲜出炉。
药融云数据库显示,以批准日期计,2023上半年NMPA共批准889个仿制药批文(以仿制3/4/5类),涉及357个品种,387家企业,包含101个首家过评品种。
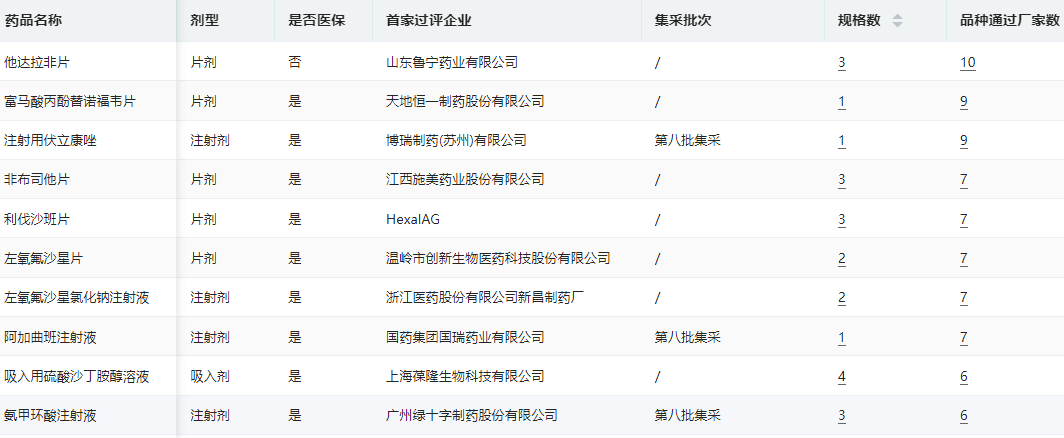
按品种获批厂家数量进行统计,2023年上半年仿制药获批企业TOP10品种分别是:他达拉非片、富马酸丙酚替诺福韦片、注射用伏立康唑、非布司他片、利伐沙班片、左氧氟沙星片、左氧氟沙星氯化钠注射液、阿加曲班注射液、吸入用硫酸沙丁胺醇溶液、氨甲环酸注射液。
2023年H1获批企业TOP10品种信息

图片来源:药融云过评药品汇总数据库
位列第一的是他达拉非片,2023年上半年有河南羚锐制药、修正药业、常州制药厂、江苏联环药业、扬子江药业、云南先施药业、山东鲁宁药业.....等10家企业获得其生产批文。
他达拉非片,用于治疗勃起功能障碍(ED)及其合并良性前列腺增生(BPH)的症状和体征。最早由Lilly ICOS(礼来与 ICOS 的合资企业)及 United Therapeutics 开发并上市,是一种长效磷酸二酯酶 5(PDE5)抑制剂。
药融云全国药店零售数据库显示,2022年他达拉非片在零售市场的销售规模为12.92亿元,同比增长71.92%。其中,意大利美纳里尼占据37.55%的市场份额,天士力帝益药业占比26.84%,原研礼来占比16.98%,齐鲁制药占比6.11%。

图片来源:药融云全国药店零售数据库
富马酸丙酚替诺福韦片与注射用伏立康唑,均有9家生产厂家获批。其中,富马酸丙酚替诺福韦片获批的企业包括苏州东瑞制药、苏州弘森药业、重庆药友制药、山东朗诺制药等;注射用伏立康唑获批的企业包括北京双鹭药业、浙江华海药业、扬子江药业、丽珠集团等。
2023年H1富马酸丙酚替诺福韦片获批生产企业

图片来源:药融云过评药品汇总数据库
富马酸丙酚替诺福韦片(韦立得,TAF)是由吉利德公司研发的一种新型核苷类逆转录酶抑制剂(NRTI),也是FDA近十年来批准的唯一一款乙肝新药,被行业人士誉为“史上最强乙肝药物”。药融云数据库显示,目前国内已有31家企业获得其生产批文。
注射用伏立康唑,是第二代广谱三唑类抗真菌药物,临床上用于侵袭性曲霉感染、克柔念珠菌感染以及由足放线病菌属和镰刀菌属引起的严重感染的一线治疗,主要用于进展性、可能威胁生命的真菌感染患者的治疗。原研企业为辉瑞公司,于2002年5月获FDA批准上市,并于2004年10月在国内批准上市。
按企业获批品种数量进行统计,在2023年上半年仿制药TOP10获批企业分别是:扬子江药业集团、科伦药业、齐鲁制药、石家庄四药、倍特药业、华海药业、诺得药业、施美药业、恒生制药、亿帆生物。
扬子江药业集团以19个品种稳居榜首;科伦药业排名第二,获批17个品种;然后是齐鲁制药与石四药,均获批了15个品种;倍特药业有14个品种获批,华海药业有11个,诺得药业和施美药业均有8个,恒生制药、亿帆生物有7个,药友制药和中润药业有6个品种获批。
2023年H1扬子江药业集团获批品种查询

图片来源:药融云一致性评价数据库
在扬子江药业集团获批生产并视同过评的19个品种中,有2个首仿+首家过评品种,盐酸奈康唑乳膏、氨氯地平贝那普利胶囊;此外,首家过评品种有2个,瑞戈非尼片、头孢克洛缓释片(Ⅱ)。
盐酸奈康唑是一种新型咪唑类抗真菌药物,具有抑菌和杀菌双重功效,用于治疗癣菌病、皮肤念珠菌病、花斑癣等真菌。原研为日本久光制药,1993年在日本首次上市,未进入中国市场。氨氯地平贝那普利为复方降压药,近年来在国内医院端市场呈高速增长态势,2022年在国内医院终端销售规模为7.55亿元,同比增长12.76%。
氨氯地平贝那普利医院端市场销售年度趋势

图片来源:药融云全国医院销售数据库
在2023年上半年,科伦药业的首仿+首家过评品种有4个,分别为:ω-3甘油三酯(2%)中/长链脂肪乳/氨基酸(16)/葡萄糖(36%)注射液、氢溴酸替格列汀片、注射用头孢西丁钠/葡萄糖注射液、泊沙康唑口服混悬液。
氢溴酸替格列汀是一种DPP-4(二肽基肽酶-4)抑制剂,原研是田边三菱,于2012年6月在日本首次获批,并于2021年8月在国内获批上市,用于改善成人2型糖尿病患者的血糖控制。替格列汀为全球第6个获批上市的DPP-4抑制剂。
齐鲁制药的首家过评品种有3个,奥拉帕利片、培唑帕尼片、注射用厄他培南钠;其中奥拉帕利片为国内首仿。石四药的首家过评品种有1个,己酮可可碱缓释片。
奥拉帕利片审评时间轴-过评耗时566天

图片来源:药融云中国药品审评数据库
奥拉帕利是FDA批准的首个口服多聚 ADP 核糖聚合酶(PARP)抑制剂,可能利用肿瘤DNA损伤反应(DDR)的途径缺陷,杀死癌细胞。原研企业是阿斯利康,于2014年12月先后在欧盟和美国获批上市,并于2018年8月在国内批准上市,是国内首个上市的PARP抑制剂。
药融云数据库显示,截至目前,奥拉帕利已在各地区相继获批卵巢癌、乳腺癌、去势抵抗性前列腺癌、胰腺癌、输卵管癌、腹膜癌等多项适应症。近年来,奥拉帕利的销售额稳定增长,2022年全球销售额达26.38亿美元,同比增长12.4%,位列全球药物销售榜单54位。
<END>
想要解锁更多企业研发信息吗?查询药融云数据库(vip.pharnexcloud.com/?zmt-mhwz)掌握药品各国上市情况、药品批文信息、销售情况与各维度分析、市场竞争格局、通过一致性评价情况、集采中标情况、药企申报审批信息、最新动态与前景等,以及帮助企业抉择可否投入时提供数据参考!注册立享15天免费试用!








川公网安备51019002008863号
本网站未发布麻醉药品、精神药品、医疗用毒性药品、放射性药品、戒毒药品和医疗机构制剂的产品信息
收藏
登录后参与评论
暂无评论