
中国是“糖尿病大国”,有超过1.4亿糖尿病人群,其中约7283万例糖尿病患者尚未被确诊,且由于糖尿病需要终生服药,所以糖尿病药物市场坐拥巨大的需求量。据药融云数据库显示,中国糖尿病药物(化学药/生物药)市场的院内销售额由2014年200亿元增长到2021年343亿元,年复合增长率为7.99%。(《2022年糖尿病药物市场!胰岛素院内火爆,新药研发也最受青睐》)
糖尿病药物市场院内销售情况

截图来源:药融云全国医院销售数据库
01.300亿糖尿病药物市场,头部效应明显
糖尿病是一种临床上以高血糖为主要特征的代谢性疾病,目前病因和发病机理尚未得到完全认识。其治疗药物可分为非胰岛素类降糖药和胰岛素类降糖药这两大类,细分来讲可有双胍类、胰岛素及其类似物、GLP-1受体激动剂、磺脲类、格列奈类、GKA药物等十大类。弗若斯特沙利文报告显示,中国目前的抗糖尿病药物市场主要由传统药物占据,基本半数被胰岛素占据。
据药融云数据库统计,2021年糖尿病药物市场的院内销售额TOP10品种中,除达格列净片、磷酸西格列汀片和利拉鲁肽注射液外,其余7款均为胰岛素及其类似物。门冬胰岛素30注射液和甘精胰岛素注射液更是以超30亿元的销售额高居榜首。
2021年糖尿病药物市场的院内销售额TOP10品种

数据来源:药融云全国医院销售数据库
02.2022年上市的糖尿病新药,可圈可点
相较于2021年恒瑞医药的恒格列净、微芯生物的西格列他、田边三菱制药的替格列汀等多款新药陆续在国内获批,今年获批的糖尿病新药较少,但都可圈可点,非常亮眼。
华领医药:多格列艾汀片
10月8日,华领医药的first in class降糖药多格列艾汀(dorzagliatin)正式获得NMPA批准上市,商品名:华堂宁。一次性批准了华堂宁®的两个适应症,分别是:单独用药治疗未经药物治疗的2型糖尿病人群,以及在单独使用二甲双胍血糖控制不佳时,与二甲双胍联合使用治疗成人2型糖尿病患者。
这是全球首款获批上市的葡萄糖激酶激活剂(GKA,Glucokinase Activator),是过去近十年来糖尿病领域首个全新机制的原创新药,也是首次在中国推出的全球首创2型糖尿病新药。作为GKA药物,多格列艾汀通过对2型糖尿病患者血糖传感器葡萄糖激酶(GK)的功能修复,重塑人体血糖稳态,达到治疗2型糖尿病的目的。(《全球首个葡萄糖激酶激活剂!华领医药多格列艾汀片国内获批上市》)
礼来:替尔泊肽(Tirzepatide)
2022年5月,FDA批准礼来的葡萄糖依赖性促胰岛素多肽(GIP)和胰高血糖素样肽-1(GLP-1)受体双重激动剂tirzepatide(商品名:Mounjaro)上市。该药物为首款治疗2型糖尿病的GLP-1R双靶点降糖药,每周仅注射一次,辅助饮食和运动,以改善成人2型糖尿病患者的血糖控制。
tirzepatide研发现状

截图来源:药融云全球药物研发数据库
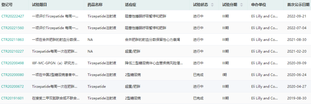
在国内,礼来于2019年4月首次递交替尔泊肽注射液的IND申请,同年8月启动临床,迄今已经开展了多项针对2型糖尿病、心力衰竭、肥胖症的III期临床试验;今年9月,礼来正式向CDE递交了该糖尿病新药的上市申请。
tirzepatide临床试验信息(微信搜索"药融云小程序"进行相关更多数据查询)

截图来源:药融云中国临床试验数据库
03.糖尿病药物研发市场内卷加剧,待上市明星新药盘点
在带量采购常态化以及仿制药一致性评价政策下,国内糖尿病仿制药市场竞争也正逐渐进入白热化,同时,也迫使国内企业从仿制药迈向Fast-follow以及First-in-class。药企研发提速,多家药企扎堆热门靶点,争相内卷,目前已有多款糖尿病新药进入III期临床阶段,并有产品在国内递交上市申请。
国内新申报上市的糖尿病新药
截至目前,除了上文已提及的替尔泊肽,国内糖尿病药物市场上还有以下几款已提交上市申请的糖尿病新药值得关注。
- 四环医药:加格列净片
2月28日,四环医药的新药加格列净片上市申请获得CDE受理。这是四环医药自主研发的一款治疗糖尿病的葡萄糖钠协同转运蛋白2(SGLT-2)抑制剂,已经获得中国、美国、欧洲、日本和韩国专利权,用于治疗2型糖尿病。若能获批上市,将成为继恒瑞脯氨酸恒格列净片之后,第2款中国自主研发的SGLT-2抑制剂类药物。
- 诺和诺德:司美格鲁肽片
5月27日,诺和诺德的司美格鲁肽片上市申请获CDE受理。司美格鲁肽是一款GLP-1受体激动剂,其注射剂已在国内获批上市,片剂已在海外获批用于成人2型糖尿病患者的血糖控制,为全球第一个上市的口服GLP-1受体激动剂药物(GLP-1RA)。据药融云数据库,司美格鲁肽片剂对比安慰剂或西格列汀治疗2型糖尿病患者的两项III期临床试验均已完成,推测此次申报的适应症为治疗2型糖尿病。
司美格鲁肽片国内开展的临床试验

截图来源:药融云中国临床试验数据库
- 恒瑞医药:磷酸瑞格列汀片
恒瑞医药的磷酸瑞格列汀片,是一款结构与已上市西格列汀相似的DPP-4抑制剂,同样适用于2型糖尿病,于2020年9月递交上市申请并获受理。同时期报产的脯氨酸恒格列净片赶在了2021年底最一天获批上市,成为首中国首个自主研发的SGLT-2糖尿病新药,瑞格列汀能否在2022年结束前获批令人关注。
在研糖尿病新药
- 诺和诺德:Icodec
除此之外,全球尚无胰岛素周制剂产品获批上市,诺和诺德的Icodec胰岛素进度领先。10月3日,诺和诺德公布了Icodec的IIIa期ONWARDS 5研究的积极结果,诺和诺德还表示,预计将于2023年上半年在美国、欧盟和中国申请Icodec的监管批准。
- 信达生物:Mazdutide(IBI362)
GLP-1受体激动剂近年来增长迅猛,已然成为目前全球糖尿病市场占有率最高的非胰岛素类药物,度拉糖肽、索马鲁肽、利拉鲁肽等均是其中的佼佼者。GLP-1R的多靶点激动剂也成为了糖尿病新药研发的热门竞争方向。
其中,信达生物和礼来共同推进的Mazdutide(IBI362)引人注目。这是一款GLP-1R/GCGR双靶点激动剂,其针对2型糖尿病的研究已至II期临床阶段。7月19日,信达生物宣布,IBI362在中国2型糖尿病受试者中的一项多中心、随机、安慰剂/度拉糖肽对照的II期临床研究达到主要终点,降糖和减重疗效显著,可为患者带来全面获益。10月4日,信达生物公示了IBI362针对超重或肥胖的III期临床试验。
- 东阳光药:荣格列净
SGLT-2靶点是近年来糖尿病新药研发领域的热门靶点之一,SGLT-2抑制剂类药物通过阻断、减少肾脏对葡萄糖的重吸收,从而通过排尿排出多余的葡萄糖增加葡萄糖排出,降低血糖水平。
目前在研的SGLT-2抑制剂类药物中,东阳光的荣格列净进展最快,已至临床Ⅲ期阶段。天津药物研究所的泰格列净、复星医药的万格列净以及上海艾力斯的艾格列净也均已进入临床。
- 多款临床III期DPP-4抑制剂
国内糖尿病药物市场中的DPP-4抑制剂研发者众多,其中石药集团的DBPR108、信立泰的复格列汀、盛世泰科的盛格列汀、海思科的HSK7653和苑东生物的优格列汀等药物进展较快,均已到III期临床阶段。正大天晴南京顺欣布局了TQ-F3083、TQ05510两款,加足马力,前者已处于II期临床阶段。
同为DPP-4抑制剂,不同品种也有所差异。目前的DPP-4抑制剂多为每日服用一次,其中海思科医药的HSK7653为每2周口服一次,苑东生物的优格列汀、百极地长制药的博格列汀等需要每周服用一次。
最后,无论是胰岛素还是非胰岛素类的糖尿病药物,我们都期待能早日上市,为糖尿病患者提供更多选择。
想要解锁更多疾病领域药物市场信息吗?查询药融云数据库(vip.pharnexcloud.com/?zmt-mhwz)掌握疾病领域涉及药物信息、销售情况与各维度分析、市场竞争格局、创新药研发情况、仿制药布局情况、最新进展、市场规模与前景等,以及帮助企业抉择可否投入时提供数据参考!注册立享15天免费试用!

—END—







川公网安备51019002008863号
本网站未发布麻醉药品、精神药品、医疗用毒性药品、放射性药品、戒毒药品和医疗机构制剂的产品信息
收藏
登录后参与评论
暂无评论