3月,2022版国家医保药品目录正式全面落地执行。本次共有111个药品新增进入目录,谈判成功的药品平均降幅达60.1%,最大降幅超过90%,覆盖新冠、肿瘤、罕见病、慢性病等重点领域创新药品。新版国家医保药品目录内药品总数达到2967种,其中西药1586种,中成药1381种,为历年来最多,全面提高了医保药品保障水平(《医保目录新增111种药品,成功率创历年新高!最大降幅超过90%!》)。
一、17款国产创新药进入医保,恒瑞医药成绩亮眼
其中,有17个国产1类新药新增进入医保,包括10个化学药、6个中成药、1个治疗用生物制品,涵盖SGLT2、ATP4A、PPAR、Bcr-ABL、AR、MET、CDK4/6等靶点,适应症以抗肿瘤及消化系统治疗领域为主。
药融云数据库显示,2022版国家医保药品目录新增的国产1类化学药包括:脯氨酸恒格列净片、羟乙磺酸达尔西利片、瑞维鲁胺片(恒瑞医药),阿兹夫定片(真实生物),替戈拉生片(罗欣药业),奥雷巴替尼片(亚盛医药),赛沃替尼片(和记黄埔),西格列他钠片(微芯生物),优替德隆注射液(华昊中天),注射用甲苯磺酸奥马环素(再鼎医药)。
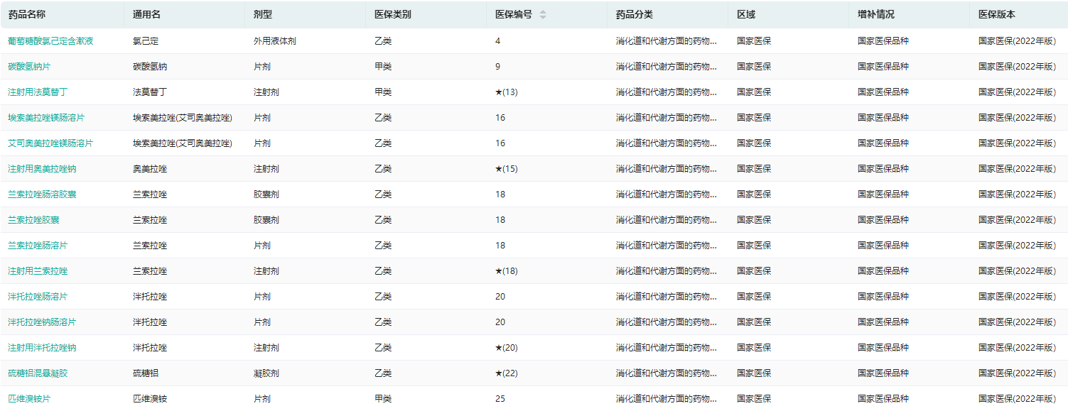
2022版国家医保药品目录查询(部分)

图片来源:药融云医保目录数据库
可以看到,恒瑞医药成绩亮眼,有3款1类新药首次被纳入医保目录。除此之外,还有2款药品(昂丹司琼口溶膜、普瑞巴林缓释片)通过谈判首次纳入目录;注射用甲苯磺酸瑞马唑仑新增的1项适应症也被纳入目录,注射用卡瑞利珠单抗新增的4个适应症以及盐酸艾司氯胺酮注射液通过“简易续约”新规完成了适应症准入和续约;培门冬酶注射液被纳入常规目录管理。
羟乙磺酸达尔西利片(商品名:艾瑞康)是首个国产的CDK4/6抑制剂,联合氟维司群用于激素受体(HR)阳性,人表皮生长因子受体2(HER2)阴性的经内分泌治疗后进展的复发或转移性乳腺癌患者的治疗,将为中国更多的HR+/HER2-晚期乳腺癌患者获得规范治疗,提高5年生存率。
脯氨酸恒格列净片(商品名:瑞沁®)是首个国产创新SGLT-2抑制剂,用于改善成人2型糖尿病患者的血糖控制。SGLT-2i是糖尿病药物发展中的重要里程碑,通过减少肾脏对葡萄糖的重吸收,有效降糖的同时可显著改善T2DM患者的心肾结局,被中外指南一致推荐为治疗T2DM的优选药物。
脯氨酸恒格列净片基本信息查询(微信搜索"药融云小程序"进行相关更多数据查询)

图片来源:药融云全球药物研发数据库
瑞维鲁胺片(商品名:艾瑞恩)是首个国产全新二代AR抑制剂,为中国转移性前列腺癌患者带来新选择。随着瑞维鲁胺纳入国家医保目录,原研二代AR抑制剂将在更大范围、更长周期惠及更多中国前列腺癌患者,为其带来更有效、更安全、更具可负担性的治疗新选择。
除此之外,其他进入新版医保目录的国产1类新药均来自于不同的药企,且也具备各自的优势,比如亚盛医药/信达生物的奥雷巴替尼片(商品名:耐立克),是中国首个且唯一获批上市的第三代BCR-ABL抑制剂,也是伴有T315I突变的慢粒唯一治疗药物。阿斯利康/和记黄埔的赛沃替尼片(商品名:沃瑞沙),填补了国内MET抑制剂的空白,为MET外显子14跳跃突变肺癌病人提供了治疗选择。
罗欣药业的替戈拉生片(商品名:泰欣赞),是中国首款自研的钾离子竞争性酸阻滞剂(P-CAB),具有30分钟快速起效、强效持久抑酸、服用方便等特点,为治疗反流性食管炎,改善患者的生活质量带来全新的用药选择......
其中,2022版国家医保药品目录新增的国产1类中成药包括:解郁除烦胶囊(以岭药业),坤心宁颗粒(天士力),七蕊胃舒胶囊(健民药业),芪蛭益肾胶囊(凤凰制药),玄七健骨片(方盛制药),银翘清热片(康缘药业)。
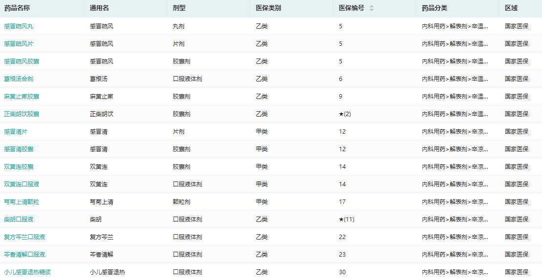
国家医保药品目录-中成药查询(部分)

图片来源:药融云医保目录数据库
药融云数据库显示,截至目前,以岭药业已有10个中药品种被列入国家医保目录,包括益肾养心安神片、解郁除烦胶囊,以及治疗心脑血管病代表性药物通心络片(胶囊)、治疗心律失常专利新药的参松养心胶囊、标本兼治慢性心衰专利新药芪苈强心胶囊、治感冒防流感治疗新冠病毒代表性中成药连花清瘟片(胶囊、颗粒) 被纳入医保甲类药品,治疗2型糖尿病专利新药的津力达颗粒(口服液)、治疗肿瘤的养正消积胶囊、治疗前列腺疾病的夏荔芪胶囊、治疗急性气管-支气管炎的连花清咳片,覆盖心脑血管疾病、呼吸系统疾病、肿瘤、糖尿病以及神经、泌尿系统疾病等重大疾病领域。
二、14款抗肿瘤药物首次纳入医保目录,治疗费用大幅降低
肿瘤用药一直是患者负担较重的一类药品,药品的高价格增加了患者和医疗保险系统的经济负担。随着我国医保目录动态调整机制的建立,为减轻患者负担,每年都有相关药品纳入医保。此次新版医保目录,在肿瘤治疗领域有14款抗肿瘤药物首次纳入,价格经谈判后大幅下降,目录内肿瘤用药的保障水平得到进一步提升。
首次纳入2022版医保目录的抗肿瘤药物包括:前列腺癌新药(瑞维鲁胺片、注射用醋酸地加瑞克),骨髓瘤新药(注射用卡非佐米),肺癌新药(布格替尼、洛拉替尼、赛沃替尼),乳腺癌新药(哌柏西利胶囊、优替德隆注射液、注射用恩美曲妥珠单抗、羟乙磺酸达尔西利片),胃肠间质瘤新药(瑞派替尼),白血病新药(维奈克拉片、奥雷巴替尼片),淋巴瘤新药(注射用维布妥昔单抗)。
维布妥昔单抗全球专利数据查询(部分)

图片来源:药融云全球医药专利数据库
近年来,在很多治疗领域,中国药品价格由原来的“高地”成为全球的“洼地”,中国药品价格首次成为发达国家药品定价的参考。2018—2022年,谈判药品的平均降幅分别为56.7%、60.7%、50.6%、61.7%和60.1%,进口药品基本都给出了全球最低价。叠加谈判降价和医保报销因素,2019—2022年的4年间累计为患者减费超4600亿元。
总的来说,国家医保对创新药物的支持,是各方面都能受益的长远之计。支持药品创新,不仅能促进医药产业的创新发展,也能更好惠及过去难以治疗或医药可及性差的众多患者,还有利于提高医保“把钱花在刀刃上”的支付效率。
想要解锁更多药品信息吗?查询药融云数据库(vip.pharnexcloud.com/?zmt-mhwz)掌握药品各国上市情况、药品批文信息、销售情况与各维度分析、市场竞争格局、一致性评价情况、药企申报审批信息、最新动态与前景等,以及帮助企业抉择可否投入时提供数据参考!注册立享15天免费试用!

<END>








浙公网安备33011002015279
本网站未发布麻醉药品、精神药品、医疗用毒性药品、放射性药品、戒毒药品和医疗机构制剂的产品信息
收藏
登录后参与评论
暂无评论