2023年全国药品申报依旧呈上升趋势。据药融云《医药行业观察周报》统计,在2023.03.13-2023.03.19期间,共有50个创新药/改良型新药注册申请获CDE承办(按受理号统计,不含补充申请)。其中,国产药品受理号40个,进口药品受理号10个。在这期间,共计73款创新药/改良型新药临床试验申请获得“默示许可”,包括化学药33款,生物药39款,中药1款。
部分获批临床创新药/改良型新药信息(不含补充申请)

图片来源:药融云《医药行业观察周报》
在2023.03.13-2023.03.19期间,有1款新药获批上市,即云顶新耀的1类新药注射用盐酸依拉环素(商品名:依嘉),用于治疗成人复杂性腹腔内感染。依拉环素是一种新型、全合成、广谱、含氟四环素类、静脉注射抗菌药物,用于治疗包括在中国常见的革兰阴性菌、革兰阳性菌感染在内的多重耐药(MDR)菌感染的一线经验性单药治疗。
药融云数据库显示,依拉环素目前已分别于2018年8月、9月在美国、欧盟被批准用于治疗复杂性腹腔内感染(cIAI)。云顶新耀同时也在开发依拉环素用于治疗社区获得性细菌性肺炎的适应症,目前处理临床Ⅲ期阶段。
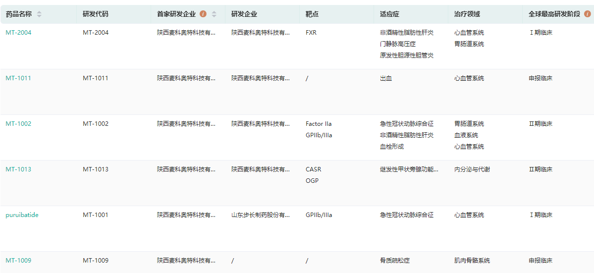
(1)注射用MT1009——治疗骨质疏松
麦科奥特的1类新药注射用MT1009获得临床试验默示许可,拟开发用于治疗糖皮质激素诱导的骨质疏松。注射用MT1009是一款创新性双功能肽,具有人类甲状腺素相关肽(PTHrP)和成骨生长肽(OGP)双靶点作用,是一款作用在成骨细胞及骨髓间充质干细胞的预防及治疗骨质疏松的药物。
药融云全球药物研发数据库显示,MT1009是继MT1001、MT1002、MT2004、MT1013、MT1011五个国家1类创新药项目成功获批国内临床试验后,麦科奥特第6个通过国内CDE获批进入临床试验研究的1类新药项目。
该公司具有抗凝血酶及抗血小板作用的双拮抗剂MT1002、治疗非酒精性脂肪性肝病的FXR激动剂MT2004、双靶点肽类新药MT1013、针对缺血性脑卒中神经修复的MT200605等早先均已经在美国获批开展临床研究。
麦科奥特研发管线查询(部分)

图片来源:药融云全球药物研发数据库
麦科奥特投融资事件:
麦科奥特是一家多肽新分子实体药物研发商,致力于创新化药、多及蛋白创新生物药、疫苗及生物分子药物递药系统及产品的研发,并将化药筛选技术与生物药研究技术相结合,为用户提供生物大分子呼吸道给药系统Bio-Res-Deliv,适用于治疗心血管疾病、代谢性疾病、肝脏疾病等。
药融云医药投融资数据库显示,麦科奥特于2019年10月,完成1.15亿元人民币Pre-A轮融资,由知名投资机构北极光创投领投,天士力资本华新基金、德同资本、陕投成长基金等四家机构跟投。
2021年5月,完成3.6亿元B轮融资,领投方为纽尔利资本,苏州融晟先行创业投资合伙企业、丰川弘博投资管理合伙企业(有限合伙)、嘉兴善金股权投资合伙企业(有限合伙)跟投。北极光创投、天士力资本华新基金、西安精诚大兴企业管理合伙企业(有限合伙)追加投资。
2023年2月,麦科奥特又完成C轮超亿元融资交割。由长安汇通私募基金领投,知名产业和财务投资机构跟投。获得资金将继续用于推进公司中美双报的系列双功能多肽药物的临床试验。
麦科奥特企业画像&融资信息

图片来源:药融云医药投融资数据库
(2)HSK40118片——EGFR-PROTAC药物
海思科的HSK40118片获得临床试验默示许可,拟开发用于治疗不可手术的、EGFR突变的晚期非小细胞肺癌。HSK40118片是一款口服EGFR-蛋白降解靶向嵌合体小分子抗肿瘤药物,是由靶向EGFR蛋白的小分子抑制剂、E3泛素连接酶的招募配体和连接这两个部分的linker组成的三联体。目前,全球内尚无EGFR-PROTAC药物上市。
今年以来,海思科研发的创新药捷报频传。药融云数据库显示,海思科研发的长效二肽基肽酶-4(DPP-4)抑制剂HSK7653片已提交上市申请,目前在审评审批中,用于治疗2型糖尿病。此外,HSK38008干混悬剂也提交临床申请,HSK38008是口服雄激素剪接变异体降解剂,用于前列腺癌的治疗。
海思科药物研发治疗领域分布

图片来源:药融云全球药物研发数据库
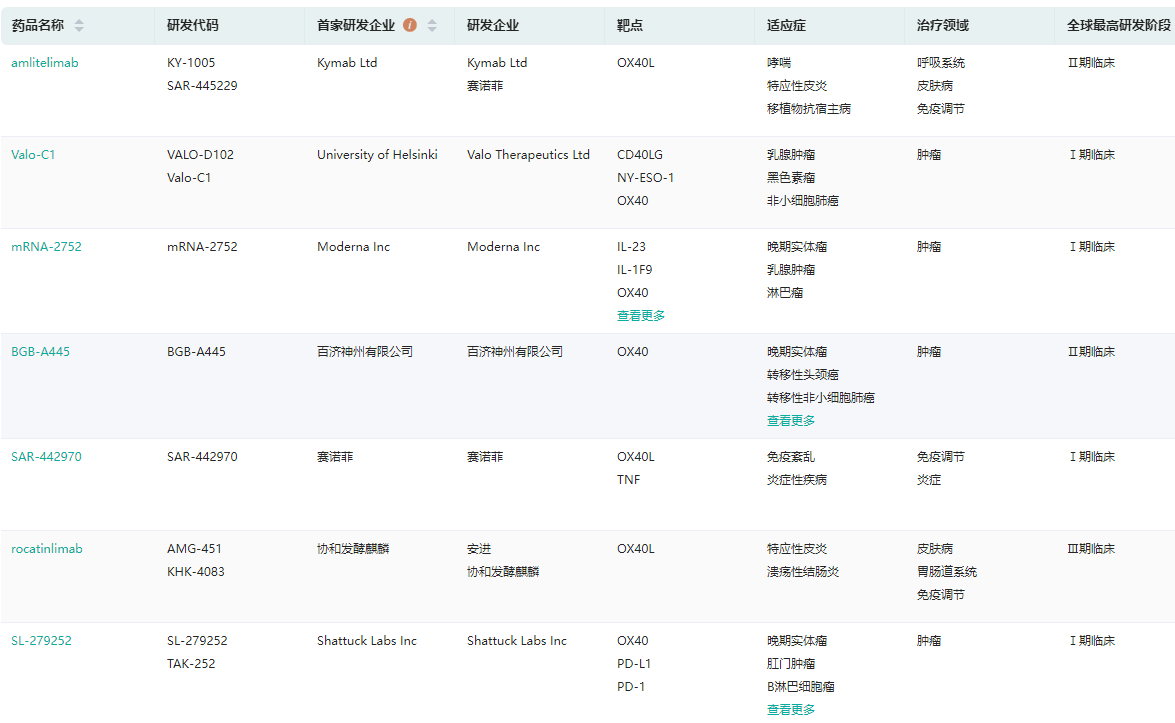
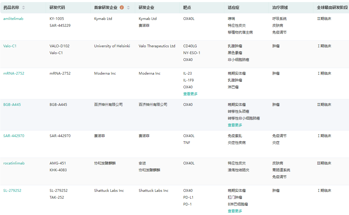
(3)HLX51——靶向OX40药物
复宏汉霖的HLX51获得临床试验默示许可,拟用于晚期/转移性实体瘤和淋巴瘤的治疗。HLX51是一款抗肿瘤坏死因子受体超家族成员4(OX40)四价激动型人源化单克隆抗体。HLX51通过与OX40L竞争性结合OX40,可代替OX40L刺激OX40,而不会降低OX40刺激信号,从而刺激T细胞增殖/活化,进而诱导或增强T细胞的杀伤能力;此外,HLX51还可以抑制调节性T细胞的增殖及激活,解除Treg细胞介导的免疫抑制功能,改善肿瘤微环境中的免疫抑制作用,进一步促进细胞释放细胞因子。
目前,关于OX40的药物研发主要聚焦于肿瘤和自免疾病领域。药融云数据库显示,目前全球范围内尚无靶向OX40的产品获批上市。其中,进度较快的有协和发酵麒麟的AMG-451,全球最高研发阶段处于III期临床研究,在国内已申报了AMG 451的临床试验申请,并获得受理。其次,Kymab公司的全人单克隆抗体KY-1005和Moderna公司的mRNA-2416,处于II期临床阶段,KY-1005也在国内申报临床。
2021年6月,安进与协和麒麟达成合作,共同开发和商业化AMG 451。安进以12.5亿美元获得了AMG 451在除日本外全球所有市场的开发、生产和商业化权益。
靶向OX40药物全球研发格局

图片来源:药融云全球药物研发数据库
在国内,研发进度较快的还有百济神州的BGB-A445,是一款非配体竞争性在研抗OX40单克隆抗体,正作为单药或与百泽安联合用药进行临床开发。目前,百济神州进入临床研究阶段的肿瘤免疫靶点还包括欧司珀利单抗(TIGIT抗体)、BGB-A425(TIM-3抑制剂)、BGB-15025(HPK1抑制剂)、LBL-007(LAG-3抗体)等。
近年来,免疫疗法为肿瘤治疗提供了新的途径,而肿瘤免疫检查点是免疫治疗中的重要组成部分。免疫检查点主要分为两大类,一类是以PD-1/PD-L1、CTLA-4为代表的免疫抑制型检查点,另一类是以OX40(肿瘤坏死因子受体超家族成员4)为代表的免疫激动型检查点。
与免疫检查点抑制剂通过解除T细胞活化的抑制性信号,为肿瘤免疫反应“松刹车”的作用不同,靶向免疫激动型检查点的免疫检查点激动剂可通过“踩油门”增强T细胞的活化,目前已成为下一代免疫治疗热门靶点。
(4)JS010注射液——预防偏头痛
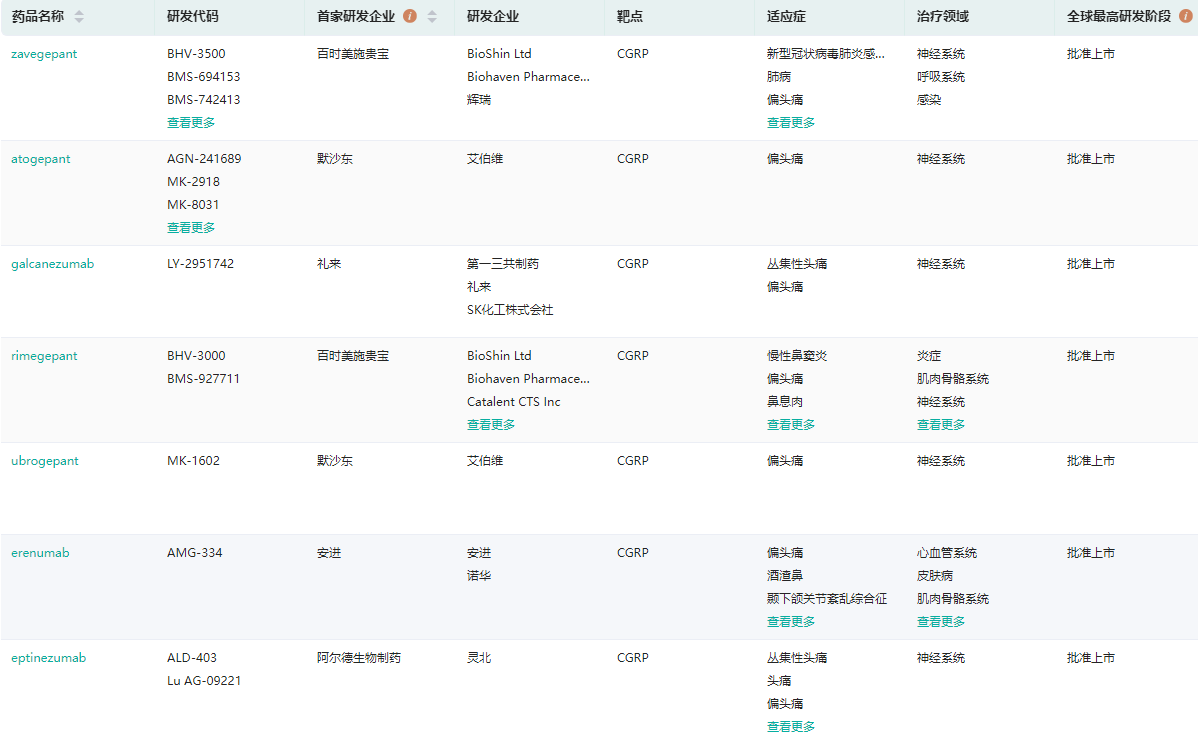
君实生物的JS010注射液获得临床试验默示许可,拟用于偏头痛的预防性治疗。偏头痛发作期间内CGRP多肽水平增加,可以通过CGRP拮抗剂治疗加以改善偏头痛症状。JS010是一款重组人源化抗CGRP单克隆抗体注射液,CGRP是由37个氨基酸组成的神经肽,通常分为两个亚型:α-CGRP和β-CGRP,JS010能以高亲和力有效结合人α-CGRP和β-CGRP蛋白,阻断其与受体结合,从而抑制细胞内cAMP信号通路,进而发挥预防偏头痛的作用。
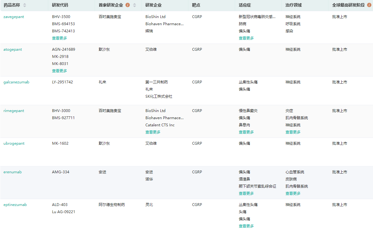
药融云数据库显示,截至目前,全球共有8个靶向CGRP创新药获批上市,包括百时美施贵宝的BHV-3500、默沙东的AGN-241689、礼来的LY-2951742、安进的AMG-334、灵北的ALD-403等;国内尚无同类靶点产品获批上市。
全球获批上市的靶向CGRP创新药(部分)

图片来源:药融云全球药物研发数据库
药融云,聚焦国内医药研发最新进展,是您的掌上药物研发信息情报助手!想要获取药融云《医药行业观察周报》完整内容,欢迎关注“药融云”公众号(yrydata),后台回复“报告”领取。
想要解锁更多药物研发信息吗?查询药融云数据库(vip.pharnexcloud.com/?zmt-mhwz)掌握药物基本信息、市场竞争格局、销售情况与各维度分析、药企研发进展、临床试验情况、申报审批情况、各国上市情况、最新市场动态、市场规模与前景等,以及帮助企业抉择可否投入时提供数据参考!注册立享15天免费试用!

<END>








浙公网安备33011002015279
本网站未发布麻醉药品、精神药品、医疗用毒性药品、放射性药品、戒毒药品和医疗机构制剂的产品信息
收藏
登录后参与评论
暂无评论