从企业竞争格局来看,2025年前三季度,卫材以近50%的市场份额,稳坐该品种的院内头把交椅。然而,数据的增长未能掩盖潜在的风暴。2026年1月22日,卫材为其提交的补充申请(受理号:JYHB2600054/53)获得CDE受理。仅仅一个月,收到NMPA的通知件,剧情急转直下。这不禁让人猜测,究竟是何种原因,让这款明星药物在关键时刻踩下了刹车?

查数据,找摩熵!图源:摩熵医药-全终端医院销售数据库
二、连环失利:K药组合疗法的“三期魔咒”
2025年,卫材的甲磺酸仑伐替尼胶囊与默沙东的帕博利珠单抗(俗称“K药”)的两项关键III期临床研究均未达到主要终点,遭遇双重挫败。
lLEAP-012研究:旨在评估“K药+仑伐替尼+TACE(肝动脉化疗栓塞术)”三联疗法治疗不可切除的非转移性肝细胞癌。然而,预设的期中分析给出了残酷的答案:相比于单独使用TACE,三联疗法的首要目标——延长患者总生存期(OS)——未达到统计学意义。
lLEAP-015研究:聚焦于HER2阴性胃癌或胃食管交界处腺癌的一线治疗。该研究的最终分析结果同样令人失望:“K药+仑伐替尼+化疗”的组合,在与单纯化疗的头对头比较中,总生存期(OS)这一主要终点再次折戟。尽管此前期中分析的无进展生存期(PFS)有所改善,但无法挽回OS失利的败局。
在肿瘤药研发中,III期临床的成败,直接决定了新药或新适应症的生死。这两场关键战役的失利,无疑给 仑伐替尼 的未来蒙上了一层厚厚的阴影。补充申请的被拒,很可能正是源于监管部门对这些最新、且不利的临床数据的审慎考量。
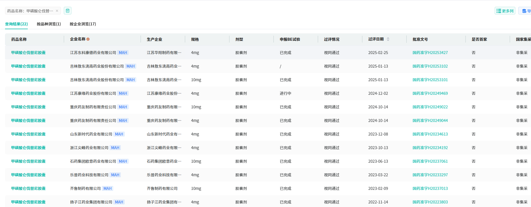
三、群狼环伺:仿制药大军压境,原研地位动摇?
甲磺酸仑伐替尼胶囊的仿制药竞争已进入白热化阶段。目前国内已有18家企业手握生产批文,其中17家已过评,涉及重庆药友、成都倍特、湖南科伦、齐鲁制药、正大天晴……这些本土巨头构筑起的仿制药护城河,正在不断挤压原研药的利润空间。

查数据,找摩熵!图源:摩熵医药-过评药品汇总数据库
从仿制药布局来看,目前仅山东鲁抗医药一家药企以仿制4类报产,也已进入审评流程,预示着未来价格战将更加惨烈。

查数据,找摩熵!图源:摩熵医药-中国药品审评数据库
在这样的背景下,任何关于安全性和有效性的负面信号,都会被无限放大。卫材原本寄希望于通过补充申请巩固或拓展市场,但在核心联合疗法的III期临床双双失利后,监管的绿灯也随之熄灭。
结语
从年销18亿的巅峰到补充申请被拒的低谷,甲磺酸仑伐替尼胶囊的命运转折令人唏嘘。
这不仅是一个品种的挫折,更是整个免疫肿瘤(IO)+酪氨酸激酶抑制剂(TKI)联合疗法热潮中,一次深刻的降温。它警示着行业:在资本的狂热追逐之外,唯有坚实可靠的临床数据,才是创新药长青的唯一基石。
对于卫材而言,如何重新评估“乐卫玛”的产品生命周期,并制定应对策略,将是其2026年必须直面的严峻课题。而对于国内患者和医保基金来说,这或许意味着,在不久的未来,他们将有更多、也更经济的优质选择。
参考来源:
[1] NMPA官网
[2] 摩熵医药(原药融云)数据库
扩展阅读:
1. 2024年肝癌药物市场格局与趋势分析:仑伐替尼28亿传奇,多纳非尼国产之光
2. 重庆药友制药:甲磺酸仑伐替尼胶囊获批,仿制药市场再添一员
3. 全球制药Top 50:爆品发家,日本巨头卫材制药(Eisai)
查数据,找摩熵!想要解锁更多药物研发信息吗?查询摩熵医药(原药融云)数据库(vip.pharnexcloud.com/?zmt-mhwz)掌握药物基本信息、市场竞争格局、销售情况与各维度分析、药企研发进展、临床试验情况、申报审批情况、各国上市情况、最新市场动态、市场规模与前景等,以及帮助企业抉择可否投入时提供数据参考!注册立享15天免费试用!

收藏
登录后参与评论
暂无评论