
近日,国家医保局公示了《2023年国家医保药品目录》通过初步形式审查的药品名单,共计390个药品通过形式审查,包括348个西药,42个中成药;其中涉及292个西药独家品种,41个中成药独家品种。
医保药品目录调整分为企业申报、形式审查、专家评审、谈判竞价等环节。药品通过初步形式审查,代表着获得了参加下一步评审的资格。本次医保目录调整,7月起企业正式开启申报,目录调整结果将于今年11月公布。
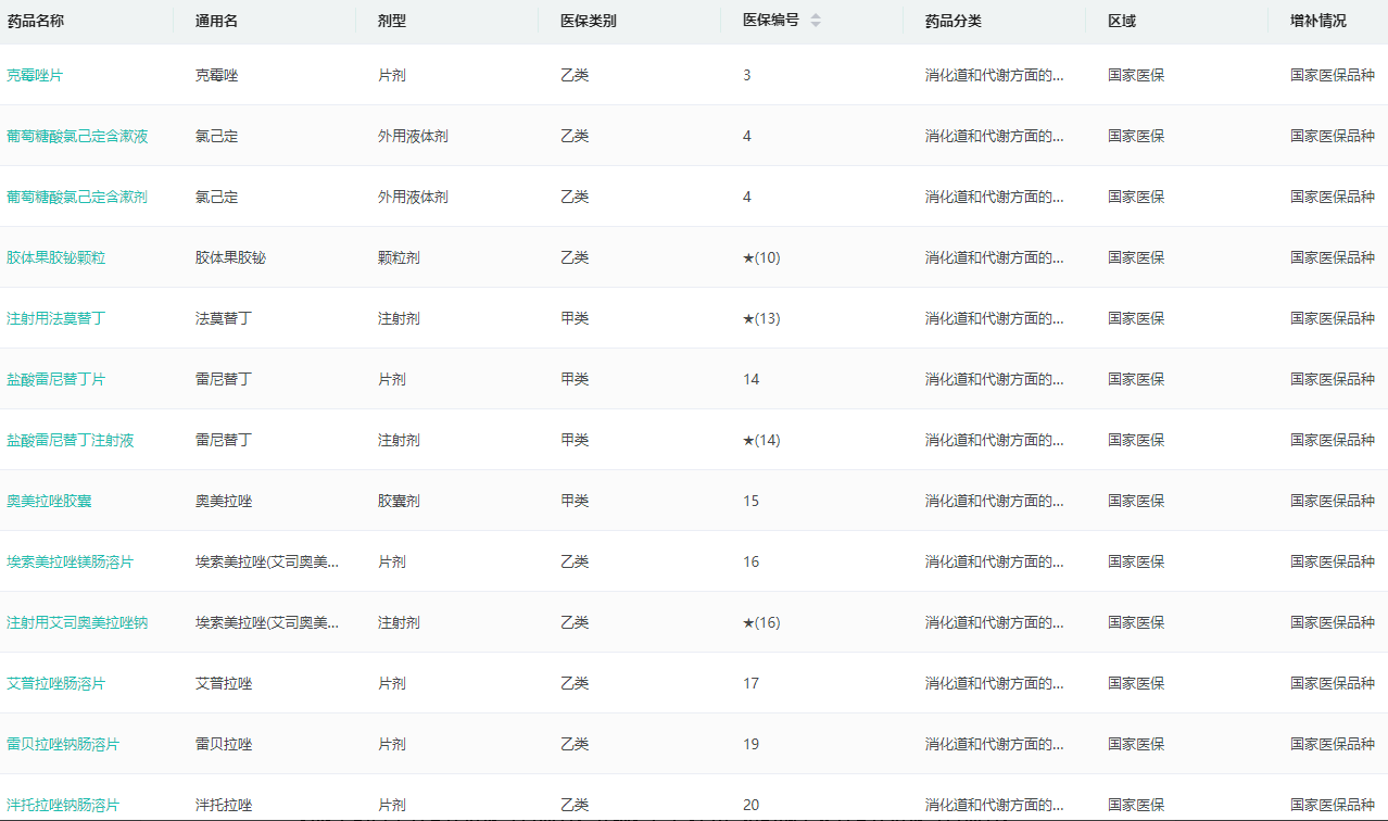
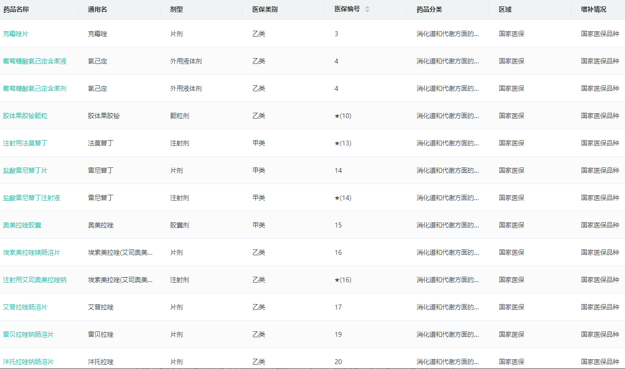
国家医保药品目录药品查询

图片来源:药融云医保目录数据库
这是医保局成立以来,连续第六年开展医保药品目录调整工作。从2018年至今,国家医保药品目录累计新增了618种药品,随着医保谈判节奏加快,也推动了一大批独家品种的抗癌药、罕见病用药以适宜价格纳入医保,切实减轻百姓看病就医负担。
目录外171个独家品种冲刺,中药13个,涉及复星、恒瑞、人福...多款明星产品
在《通过初步形式审查的目录外药品名单》中,有226个药品通过初步形式审查,包括西药独家品种171个(含独家剂型,下同)。其中,不乏备受关注的多款明星产品,比如复星医药旗下的阿基仑赛注射液(商品名:奕凯达)、药明巨诺的瑞基奥仑赛注射液(商品名:倍诺达)、第一三共/阿斯利康的注射用德曲妥珠单抗(商品名:优赫得)、恒瑞医药的磷酸瑞格列汀片、齐鲁制药的伊鲁阿克片、特宝生物的拓培非格司亭注射液、豪森药业的培莫沙肽注射液等。
肿瘤药依然是今年医保目录调整的重头戏。曾经轰动一时的“天价抗癌药”阿基仑赛注射液,是我国首个批准上市的细胞治疗药物,用于治疗既往接受二线或以上系统性治疗后复发或难治性大B细胞淋巴瘤成人患者。作为我国首款CAR-T细胞疗法,填补了我国CAR-T商业化的空白,于2021年6月获批上市,定价为一针120万元,曾出现在2021年的医保目录初审名单之中,但最终没有进入医保目录。
阿基仑赛注射液基本信息

图片来源:药融云全球药物研发数据库
而瑞基奥仑赛注射液是国内首个一类新药CAR-T产品,于2021年9月获批上市,定价为一针129万元,用于治疗经过二线或以上系统性治疗后复发或难治大B细胞淋巴瘤成年患者以及滤泡性淋巴瘤患者。2022年进入医保目录初审名单中,但最终也没有进入医保目录。
在《通过初步形式审查的目录外药品名单》中,有13个中成药独家品种通过初步形式审查,包括华春生物的参葛补肾胶囊、南少林药业的橄榄晶冲剂、人福医药的广金钱草总黄酮胶囊、一力制药的虎贞清风胶囊、康恩贝制药的黄蜀葵花总黄酮口腔贴片、扬子江药业的连榆烧伤膏、康缘药业的苓桂术甘颗粒等。
通过初步形式审查的目录外中成药独家品种

从治疗领域上看,13个中成药涵盖9个治疗大类,其中妇科用药有3个品种,呼吸系统疾病用药、五官科用药各有2个品种。药融云数据库显示,2022年全国医院销售终端市场呼吸系统用药的市场规模超918亿元,妇科用药的市场规模超过360亿元。
目录内,28个独家中成药再度出击,天士力3个品种入选,30亿大品种领跑!
在《通过初步形式审查的目录内药品名单》中,有164个药品通过初步形式审查,包括西药独家品种121个,中成药独家品种28个。
通过初步形式审查的目录内中成药独家品种

从生产企业看,天士力有3个品种通过初步形式审查,包括复方丹参滴丸、注射用丹参多酚酸、注射用益气复脉(冻干)。复方丹参滴丸是冠心病治疗的常用药物之一,可用于心血管疾病的预防、治疗和急救。药融云全国医院销售(全终端)数据库显示,复方丹参滴丸2022年在医院终端市场的销售额为30.6亿元。此次拟新增适应症或功能主治入医保,用于2型糖尿病引起的Ⅰ期(轻度)、Ⅱ期(中度)非增殖性糖尿病视网膜病变气滞血瘀证所致的视物昏花、面色晦暗、眼底点片状出血,舌质紫暗或有瘀点瘀斑、脉涩或细涩。
复方丹参滴丸医院终端市场销售趋势

图片来源:药融云全国医院销售(全终端)数据库
注射用丹参多酚酸,主要用于中风病中经络(轻中度脑梗死)恢复期瘀血阻络证,症见半身不遂,口舌歪斜,舌强言謇,偏身麻木等症状。2022年在医院终端市场的销售额超4亿元。
注射用益气复脉(冻干)是心脑血管与血液系统药物,用于治疗冠心病劳累型心绞痛气阴两虚证等,2022年在医院终端市场的销售额超5亿元,同比增长16.61%。
此外,还3家企业各有2个品种在列,分别为步长制药的丹红注射液、宣肺败毒颗粒,康缘药业的参乌益肾片、银杏二萜内酯葡胺注射液,亿帆医药的复方黄黛片、麻芩消咳颗粒。
丹红注射液是山东丹红制药(步长制药子公司)的独家产品,用于瘀血闭阻所致的胸痹及中风,冠心病、心绞痛、心肌梗塞,瘀血型肺心病,缺血性脑病、脑血栓等的治疗。丹红注射液全国医院终端的销售额在2016年曾突破了60亿元关口,但近几年因各方因素在医院端市场业绩下滑尤为明显。
<END>
要解锁更多企业药品研发信息吗?查询药融云数据库(vip.pharnexcloud.com/?zmt-mhwz)掌握药品各国上市情况、药品批文信息、销售情况与各维度分析、市场竞争格局、一致性评价情况、集采中标情况、药企申报审批信息、最新动态与前景等,以及帮助企业抉择可否投入时提供数据参考!注册立享15天免费试用!








川公网安备51019002008863号
本网站未发布麻醉药品、精神药品、医疗用毒性药品、放射性药品、戒毒药品和医疗机构制剂的产品信息
收藏
登录后参与评论
暂无评论