
8月29日,全球CDMO巨头Catalent发布2023财报(财年周期:2022.7.01—2023.6.30):总营收42.76亿美元,同比下降11%;净亏损2.32亿美元,同比扩大146%;经调调整后EBITDA达到7.14亿美元,下降43%。其中Q4营收10.68亿美元,同比下降17%;净亏损8600万,同比扩大150%。值得注意的是,23财年COVID-19产品收入下降超50%至6.25亿美元;2023Q4同比下降70%至6500万美元。

资金支出方面,2023支出6.01亿美元,占营收的14%。从2021年开始,Catalent资金支出就逐年下降。预计2024年支出4亿美元,占营收9%。

从业务分类上看,生物制剂2023营收19.84亿美元,同比下降22%;消费者保健产品营收22.94亿美元,同比增长1%。

从地区收入来看,Catalent 2023年净收入主要来源于美国和欧洲,分别占营收的63%和29%。

CGT业务是Catalent公司发展的重点,它依靠并购Paragon Bioservices(腺相关病毒载体开发和生产)、MaSTherCell Global(CAR-T开发),Delphi Genetics(质粒DNA生产)、RheinCell Therapeutics(诱导多能干细胞开发和生产)等已成为CGT CDMO领域的头部公司,它也是首个FDA批准基因治疗商业化的CDMO企业。
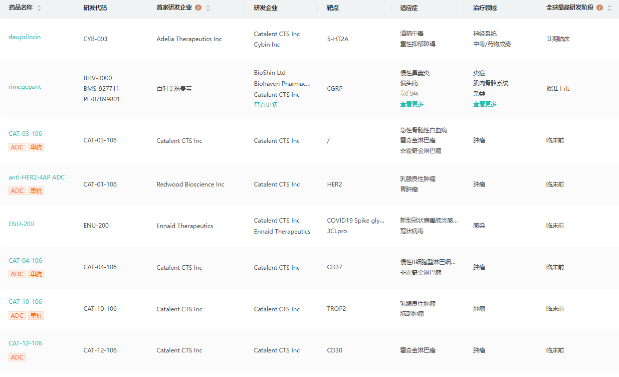
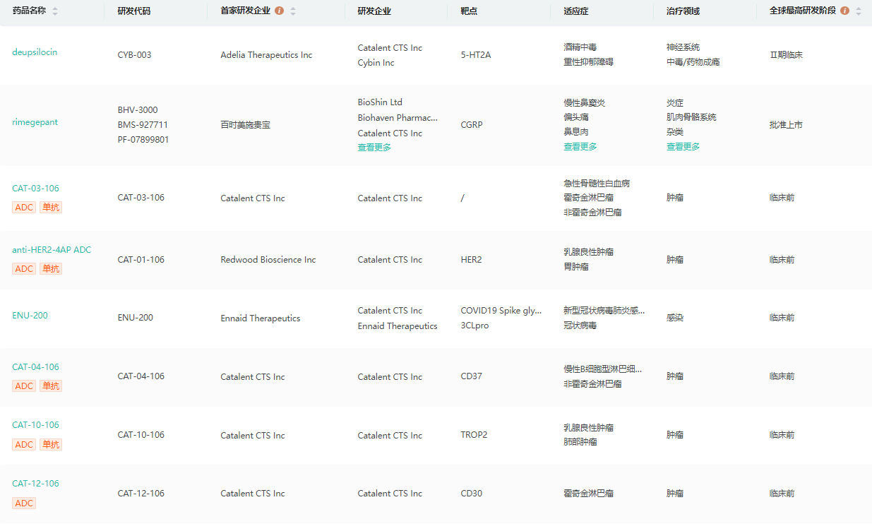
公司研发管线(部分)

数据来源:药融云全球药物研发数据库
Catalent于2014年7月31日上市,近一年市值蒸发57%,目前为80.9亿美元。

今年对于Catalent来说,是比较动荡的一年:关厂、裁员、被收购等消息不断充斥着。2022年11月,Catalent暂停了在牛津市的一个疫苗生产基地的建设,而该基地刚收购8个月。2022年12月,有报道称由于Covid-19产品收入的降低,Catalent将削减约600个工作岗位。2023年2月,彭博社报道,“并购之王”丹纳赫有意向收购Catalent。而就在8月28日,丹纳赫以57亿美元收购了全球抗体龙头Abcam。
参考资料:
1.公司财报
2.药融云数据库
<END>
要解锁更多企业药品研发信息吗?查询药融云数据库(vip.pharnexcloud.com/?zmt-mhwz)掌握药品各国上市情况、药品批文信息、销售情况与各维度分析、市场竞争格局、一致性评价情况、集采中标情况、药企申报审批信息、最新动态与前景等,以及帮助企业抉择可否投入时提供数据参考!注册立享15天免费试用!








川公网安备51019002008863号
本网站未发布麻醉药品、精神药品、医疗用毒性药品、放射性药品、戒毒药品和医疗机构制剂的产品信息
收藏
登录后参与评论
暂无评论