
日前,据CDE官网公示,四川科伦药业递交的4类仿制药碘美普尔注射液的上市申请获受理。据药融云数据统计,目前国内仅有原研厂家和上海司太立制药获批销售碘美普尔注射液。2023年2月,上海司太立制药斩获国内首仿,率先进入该品种仿制药市场。

截图来源:CDE官网
碘美普尔由意大利Bracco研发,属于一种非离子型单体X射线造影剂。理化性质优异,与同类型的非离子型单体X射线造影剂相比,在同一浓度下,具有最低的渗透压及较低的粘滞度;更因其理化性质稳定,无需添加螯合剂。
2023全国院内TOP5造影剂,4大药企展开“猛烈围攻”
据药融云数据统计,碘美普尔注射液在2022年全国院内销售额超5亿元,同比增长达44.42%,2023年全国院内销售市场中,碘美普尔注射液凭借其卓越的疗效和市场需求,成功跻身销售量top5之列,成为备受瞩目的明星药品。

截图来源:药融云全国院内销售数据库
此前,国内仅有原研厂家获批销售碘美普尔注射液,并且由上海博莱科信谊药业完成了原研地产化。2023年2月,上海司太立制药成功斩获该品种的国内首仿,成为率先进入仿制药市场的企业。
除此次科伦药业提交的仿制申请,目前还有成都倍特药业、成都克莱蒙医药、重庆圣华曦药业等3家药企对该品种展开布局,形成4大药企猛烈围攻的态势。这些药企的加入将进一步推动碘美普尔注射液在国内市场的发展,为广大患者带来更多治疗选择。
科伦荣获2023首仿之王,4款热销造影剂“重磅上市”
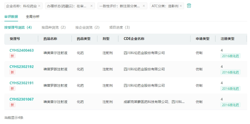
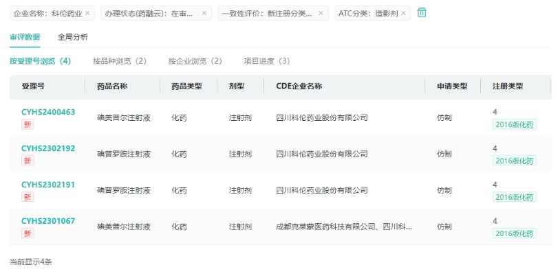
据药融云数据统计,科伦药业已获批了钆布醇注射液、钆特醇注射液、钆塞酸二钠注射液、碘帕醇注射液4款造影剂。仿制药布局方面,目前科伦药业还提交了米诺地尔搽剂、生理氯化钠溶液、尼莫地平注射液、氯化钾注射液、注射用苯唑西林钠等96个品种的仿制申请,其中造影剂有碘普罗胺注射液、碘美普尔注射液2款申报,均在审评审批中。

截图来源:药融云中国药品审评数据库
2023年,科伦药业在仿制药领域展现出无可匹敌的实力,成功斩获氢溴酸替格列汀片、ω-3甘油三酯(2%)中/长链脂肪乳/氨基酸(16)/葡萄糖(36%)注射液、氨基酸葡萄糖注射液、泊沙康唑口服混悬液、注射用头孢西丁钠/葡萄糖注射液、注射用头孢他啶阿维巴坦钠/氯化钠注射液等6款首仿药品,数量位居国内仿制药企之首,展现出其在仿制药领域的领先地位和强大研发实力。
<END>
要解锁更多企业药品研发信息吗?查询药融云数据库(vip.pharnexcloud.com/?zmt-mhwz)掌握药品各国上市情况、药品批文信息、销售情况与各维度分析、市场竞争格局、一致性评价情况、集采中标情况、药企申报审批信息、最新动态与前景等,以及帮助企业抉择可否投入时提供数据参考!注册立享15天免费试用!








川公网安备51019002008863号
本网站未发布麻醉药品、精神药品、医疗用毒性药品、放射性药品、戒毒药品和医疗机构制剂的产品信息
收藏
登录后参与评论
暂无评论