
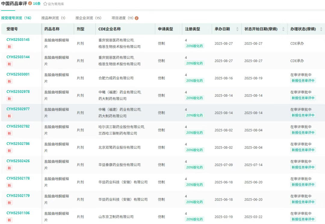
8月27日,CDE官网显示,重庆锐恩医药与植恩生物按4类化药联合申报的盐酸曲唑酮缓释片上市申请已获受理。摩熵医药数据库显示,该剂型在国内暂无药企获批,当前共15家企业参与首仿角逐,积极布局百亿抗抑郁市场。

截图来源:CDE官网
盐酸曲唑酮(trazodone)是5-羟色胺(5-HT)受体拮抗剂和5-HT再摄取抑制剂(SARIs)类药物,兼具镇静和抗焦虑作用,主要用于治疗抑郁症和伴随抑郁症状的焦虑症以及药物依赖者戒断后的情绪障碍。

截图来源:摩熵医药全球药物研发数据库
该药物由Angelini Pharma原研,属于第二代抗抑郁药,最早于美国获批上市;进入中国后,其在院内市场迅速崛起,成为年销售额超6亿的明星品种——2023年、2024年院内销售额分别达6.26亿、6.84亿元,市场规模持续扩容。












川公网安备51019002008863号
本网站未发布麻醉药品、精神药品、医疗用毒性药品、放射性药品、戒毒药品和医疗机构制剂的产品信息
收藏
登录后参与评论
暂无评论