
仿制药的发展是各国政府降低药价、提高药品可及性和增进全民健康福祉的重要途径。中国是仅次于美国的仿制药大国。在充分研究国内医药市场且借鉴发达国家医药产业改革政策的基础上,国内仿制药一致性评价政策应运而生,而后成为全国集采动作的“晴雨表”。
截至7月22日,2022年国家药监局共审评通过513个品种,涉及2555个品规的仿制药一致性评价申请,已上市仿制药的质量得到持续提升,为深化医药卫生体制改革提供了有力支撑。且自2018年开展集采试点以来,截止2022年5月,累计已有242个品种纳入集采当中。
今天,我们就通过药融云一致性评价审评进度数据库所收录的数据,来盘点分析一下自2016年开展一致性评价以来,企业申报仿制药一致性评价的“Top10品种”,仅供读者们参考(搜索"药融云小程序"进行相关更多数据查询)。
企业申报一致性评价Top10品种

图片来源:药融云一致性评价审评进度数据库
我们可以看到,企业申报仿制药一致性评价的Top10品种依次是:阿莫西林胶囊、注射用头孢曲松钠、注射用头孢呋辛钠、盐酸氨溴索注射液、注射用头孢他啶、苯磺酸氨氯地平片、注射用泮托拉唑钠、注射用奥美拉唑钠、盐酸二甲双胍片、注射用头孢哌酮钠舒巴坦钠。
一致性评价Top1品种——阿莫西林胶囊
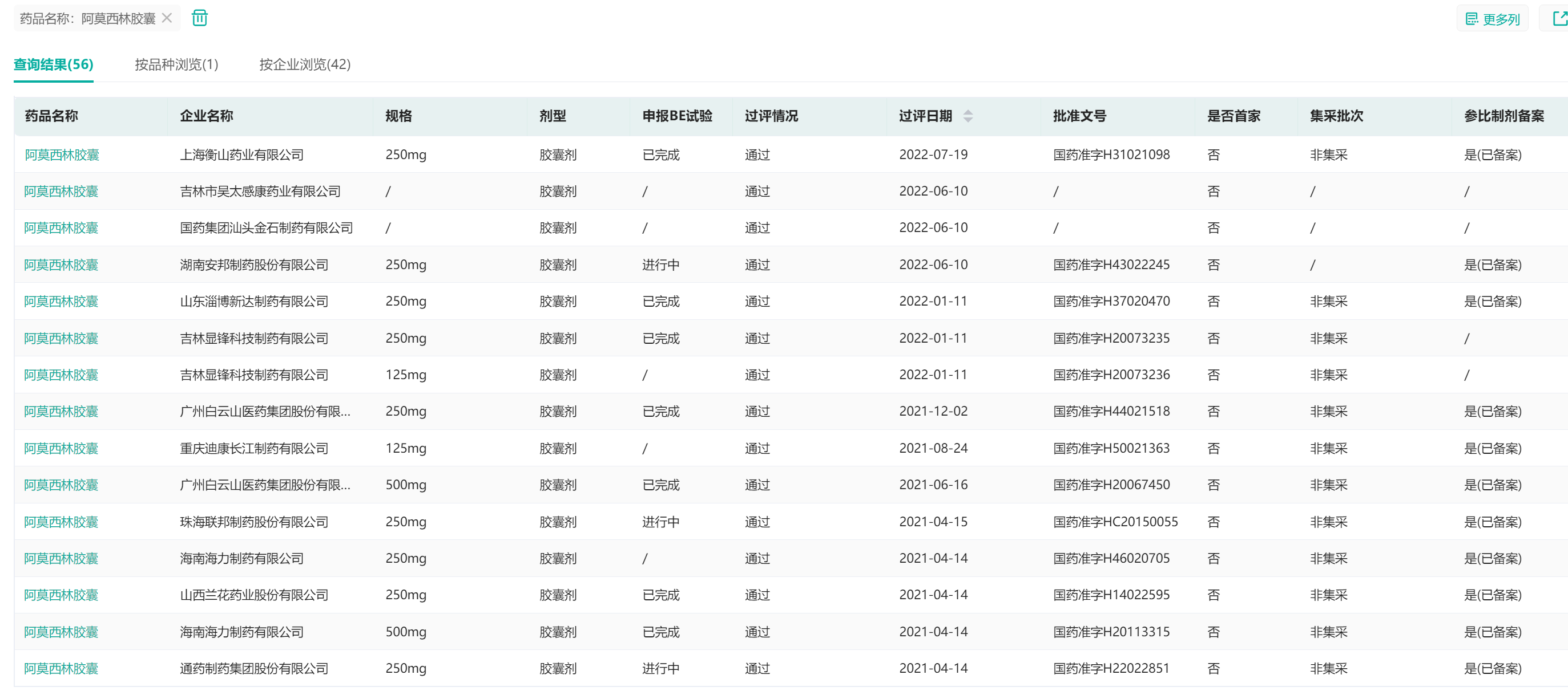
其中,排名第一竞争最激烈的是阿莫西林胶囊,一致性评价受理号达77个,申报企业52家。据药融云过评药品汇总数据库显示,截至目前,过评企业42家,过评批文数量56个,纳入集采53个,首家过评企业为珠海联邦制药股份有限公司中山分公司,过评品规为250mg。
阿莫西林胶囊过评药品信息汇总(部分)

图片来源:药融云过评药品汇总数据库
除此之外,四川依科制药、石药集团、重庆科瑞制药、中山市力恩普制药、佛山手心制药、华北制药等企业也纷纷获批了阿莫西林胶囊的一致性评价。
数据显示,阿莫西林中国销售量从2016年“限抗令”的实施开始,年销售量与销售额下降,同比减少29.03%、8.43%;2017年短暂回升,之后2018-2019持续降低,2019年销售量27.87亿片(粒),销售额9.26亿人民币。
据药融云全国医院销售数据库显示,阿莫西林胶囊医院端的市场增长率在2017年到2019年是呈稳步增长趋势,2019年市场规模达到2.04亿元,同比增长16.09%。
阿莫西林胶囊医院端历年销售趋势

图片来源:药融云全国医院销售数据库
阿莫西林胶囊的原研公司为葛兰素史克(GSK),并于1972年在英国上市,商品名Amoxil,后相继在美国、西班牙、日本等国上市。目前,阿莫西林胶囊已进入我国国家医保甲类和2018年国家基药目录。
阿莫西林胶囊主要用于敏感菌(不产β内酰胺酶菌株)所致的成人与儿童的感染性疾病。对大多数致病的革兰氏阳性菌及革兰氏阴性菌均有强大的抑菌和杀菌作用,临床广泛用于治疗敏感菌所致上呼吸道感染、泌尿生殖道感染、皮肤软组织感染、下呼吸道感染以及与其他药物联用根除幽门螺杆菌,且轻中度肾病患者无需调整剂量。
一致性评价Top2品种——注射用头孢曲松钠
紧随其后的是注射用头孢曲松钠,一致性评价受理号达79个,申报企业32家,共计3个品种。过评企业23家,过评批文数量64个,纳入集采数61个。首家过评企业为湖南科伦制药有限公司,通过一致性评价的共有3个规格,分别为1g、2g和500mg。
据药融云全国医院销售数据库显示,从2019年开始,全国医院端注射用头孢曲松钠销售额已突破30亿元大关,且市场需求在持续攀升。2021年注射用头孢曲松钠医院端销售额为33.53亿元,同比增长11.39%。
注射用头孢曲松钠历年销售趋势

图片来源:药融云全国医院销售数据库
头孢曲松钠是第三代广谱、长效头孢菌素类抗感染药物,相比第一代、第二代头孢菌素,对革兰氏阴性菌的作用更强。临床上主要用于敏感菌所致的脓毒血症、腹部感染、骨/关节/软组织/皮肤及伤口感染、肾脏及泌尿道、呼吸道、生殖系统感染等。由于头孢曲松钠具有抗菌活性强、对部分β内酰胺酶稳定、血药浓度维持时间长、不良反应少等特点,在临床上获得广泛应用,目前为国家医保甲类品种。
头孢曲松钠的原研产品为罗氏的Rocephin(罗氏芬),目前我国拥有注射用头孢曲松钠生产批件的企业超过50家,其中罗氏市场份额占比最大,超过40%。
注射用头孢曲松钠医院端市场占比

图片来源:药融云全国医院销售数据库
一致性评价Top3品种——注射用头孢呋辛钠
排名第三的是注射用头孢呋辛钠,截止目前,一致性评价受理号达70个,申报企业27家,共计2个品种。过评企业12家,过评批文数量29个,纳入集采数27个。浙江惠迪森和山东润泽的注射用头孢呋辛钠为首家过评,共有3个规格,分别为1g、2g和500mg。
药融云全国医院销售数据库显示,2018年医院端头孢呋辛销售额超30亿元,其中注射用头孢呋辛钠占比最高超85%,销售额达27.58亿元;之后是片剂,占比10%。注射用头孢呋辛钠与头孢呋辛酯片两大剂型产品优势互补,是目前头孢呋辛的主要临床使用剂型。
注射用头孢呋辛钠医院端历年销售趋势

图片来源:药融云全国医院销售数据库
头孢呋辛由葛兰素史克研发,最早于1978年在英国、爱尔兰和德国等国家上市,1988年在美国获批上市,随后在全球多个国家地区销售,商品名为Zinacef。1992年,礼来的头孢呋辛也在美国获批上市,商品名为Kefurox。
注射用头孢呋辛钠是广谱的第二代头孢菌素,其作用机理是通过结合细菌蛋白,从而抑制细菌细胞壁的合成。注射用头孢呋辛钠可用于对头孢呋辛敏感的细菌所致的呼吸道感染、泌尿道感染、皮肤及软组织感染、败血症、脑膜炎、淋病、骨及关节感染。用于术前或术中防止敏感致病菌的生长,减少术中及术后因污染引起的感染。如腹部骨盆及矫形外科手术、心脏、肺部、食道及血管手术、全关节置换手术中的预防感染。
一致性评价Top4品种——盐酸氨溴索注射液
排名第四的盐酸氨溴索注射液,一致性评价申报受理号达82个,申报企业53家。过评企业43家,过评批文数量69个,纳入集采数66个。首家过评企业为美大康华康药业;参比备案的企业有天台山制药、康恩贝制药。
盐酸氨溴索注射液由勃林格殷格翰公司研发,商品名为Mucosolvan,最早于1980年在德国上市,随后在其他欧盟国家及中国上市。药融云全国医院销售数据库显示,盐酸氨溴索注射液2014年至2019年国内医院端市场规模均超过20亿元,市场前景可观。其中,原研企业勃林格殷格翰占据超60%的市场份额。
盐酸氨溴索注射液医院端历年销售趋势

图片来源:药融云全国医院销售数据库
盐酸氨溴索注射液是目前临床上使用广泛的祛痰剂,能刺激呼吸道界面活性剂的形成,及调节浆液性与黏液性物质的分泌,可同时改进呼吸道纤毛区与无纤毛区的消除作用,降低痰液及纤毛的黏着力,进一步使痰液容易咳出,且减轻咳嗽症状。
盐酸氨溴索注射液适用于下述患者伴有痰液分泌不正常及排痰功能不良的急性、慢性呼吸道疾病,例如慢性支气管炎急性加重、喘息型支气管炎、支气管扩张、支气管哮喘、肺炎的祛痰治疗。该品种已列入《国家医保目录(2020年版)》,类别为乙类药品。
一致性评价Top5品种——注射用头孢他啶
排名第五的注射用头孢他啶,一致性评价申报受理号达61个,申报企业27家。注射用头孢他啶过评企业17家,过评批文数量33个,纳入集采数29个,首家过评企业为扬子江药业。
注射用头孢他啶过评药品信息汇总(部分)

图片来源:药融云过评药品汇总数据库
头孢他啶属于半合成的第三代头孢菌素类,主要用于革兰阴性菌尤其是包括铜绿假单胞菌在内的多种假单胞菌引起的感染性疾病,如败血症、下呼吸系感染、腹腔胆系感染、复杂性尿路感染、严重皮肤软组织感染等。
注射用头孢他啶原研厂家为葛兰素史克,据药融云全国医院销售数据库显示,2021年国内医院端注射用头孢他啶销售额为48.43亿元,同比增长4.09%。该品种市场集中度较高,海南海灵化学制药以近70%的市场份额遥遥领先。
因文章篇幅有限,大家想了解企业申报仿制药一致性评价Top10的其他品种更多详情,可以前往药融云数据库(企业版/个人版)(vip.pharnexcloud.com/?zmt-mhwz)进行查看。
<END>







浙公网安备33011002015279
本网站未发布麻醉药品、精神药品、医疗用毒性药品、放射性药品、戒毒药品和医疗机构制剂的产品信息
收藏
登录后参与评论
暂无评论