
丙肝,是丙型病毒性肝炎(hepatitis C)的简称,是由丙型肝炎病毒(Hepatitis Cvirus,HCV)感染引起的病毒性肝炎。该病毒有显著异源性和高度可变性,并且隐匿性强,感染者初期没有症状或者轻微症状,易被忽视,但会逐步恶化为肝硬化和肝癌,所以也被称为“沉默的杀手”。
我国丙肝防治:高感染基数下的“三低”困境
据世界卫生组织统计,全球约有1.8亿人感染丙型肝炎,而我国的丙型肝炎确诊患者就达到了将近1000万人,每年确诊的新发丙肝病例达3.5万例。
我国的丙肝防治现状不容乐观,整体呈现“三低”:
知晓率低:我国虽然是丙肝低流行地区,但因人口基数大,丙肝人数居于世界首位,约有1000万丙肝病毒感染者。因为丙肝感染的隐匿性以及宣传的单一性,大众对丙肝的认知度远低于对乙肝的关注。
诊断率低:由于丙肝症状隐匿,多数患者在感染初期无明显不适,导致主动就医及接受筛查的比例较低。据疾控中心数据显示,从2002年至今,丙肝报告总病例数仅300万例,就是说仍有70%以上的HCV感染者并没有被发现。
治疗率低:丙肝患者确诊后,由于治疗费用高昂、药物可及性受限、患者对治疗效果及副作用的担忧、以及部分地区医疗资源分配不均等因素,实际接受规范治疗的比例相对较低。尤其是在农村及偏远地区,治疗率更是显著低于城市。
丙型病毒性肝炎药物研发阶段分布

图片来源:药融云全球药物研发数据库
丙型肝炎有哪些危害?
丙型肝炎病毒感染大多都会转变成慢性肝炎,在人体内持续破坏肝脏功能,严重的会导致肝脏慢性炎症性坏死和纤维化,部分患者还会发展成肝硬化甚至肝癌。
临床上,丙型肝炎可分为急性丙型肝炎、慢性丙型肝炎、丙肝肝硬化。在自然状态下,仅有15%的急性丙型肝炎患者能自发清除HCV达到痊愈,在不进行抗病毒治疗干预的情况下,85%的患者则发展为慢性丙型肝炎,而慢性丙型肝炎20-30年内有10%~20%患者可发展为肝硬化,1%-5%患者会发生肝细胞癌(HCC)导致死亡。
丙型肝炎有哪些传播途径?
丙型肝炎的传播途径主要包括:经输血和血制品传播、经破损的皮肤和黏膜暴露,性传播,母婴传播。
丙肝的高危人群主要分布于有输血史、长期血液透析患者,静脉药瘾者,有不洁口腔诊所诊疗史,纹身纹眉等针刺伤史等,此类人群需尽早到医院接受抗-HCV筛查。
丙肝肝炎可治愈吗?有哪些最新治疗药物?
丙型肝炎虽然危害严重,但却是可以治愈的。目前,治疗丙肝的方案有两种:PR方案(聚乙二醇干扰素联合利巴韦林)和DAAs(直接抗病毒药物,direct-acting antivirals)。
但PR方案有很明显的缺点,24至48周内注射聚乙二醇干扰素和服用抗病毒药物利巴韦林,但这种疗法费用昂贵且毒副作用强,总体治愈率为54%-56%,且用药时间长,给药不方便。
而直接抗病毒药物(Direct-Acting Antivirals, DAA)开辟了慢性丙型肝炎抗病毒治疗的新纪元。如索非布韦、达拉他韦、维帕他韦、格雷卡普韦、比布那他韦等药物及其组合,可根据患者基因型、肝纤维化程度、合并疾病等因素制定个体化治疗方案。
达拉他韦研发详情查询

图片来源:药融云全球药物研发数据库
这些药物针对丙型肝炎病毒的不同生命周期环节进行精确打击,极大地提高了治愈率、缩短了疗程、降低了副作用,且适用于多种基因型感染,使丙肝成为可治愈的疾病。
HCV属于单链正义RNA病毒,主要包含6种基因型。经过大量研究发现,HCV的复制过程中涉及到3个重要的药物作用靶点:(1)NS3/4A蛋白酶——与 HCV 多聚蛋白转录后加工处理有关;(2)NS5B聚合酶——催化 HCV RNA 合成的关键酶;(3)NS5A 蛋白——与形成复制复合物有关。
NS3 /4A 蛋白酶抑制剂包括特拉匹韦、波普瑞韦等药物,NS5A 蛋白抑制剂包括达卡他韦、雷迪帕韦等。而索非布韦属于NS5B聚合酶抑制剂,与靶点结合后,可以终止病毒RNA复制,是消灭HCV的“终极绝招”。同时,该药也是首个无需联合干扰素治疗丙肝的药物,且对所有基因型HCV均有作用。
1.NS3/4A蛋白酶抑制剂
NS3/4A是HCV安插在宿主细胞内质网膜上的重要病毒蛋白酶,它的主要任务就是把HCV基因组翻译出来的多聚蛋白进行剪切,形成最终可用的病毒蛋白。
如果有一种药物能够阻断NS3/4A的功能,那么HCV就无法产生病毒所需要的各种成熟病毒蛋白。HCV后续的病毒颗粒装配难以为继,它在体内扩增感染的恶性循环也就被打破了。这种就是蛋白酶抑制剂(PI)。
NS3/4A PI:从第一代到第三代

波普瑞韦(Boceprevir))和特拉瑞韦(telaprevir)是第一代PI,也是第一代抗丙肝的DAA药物。但它们需要与PR方案联合治疗,疗程时间过长且耐药壁垒相对较低,所以很快也就被疗程更短、疗效更好并且全口服的DAA组合方案替代。
第二代PI(包括阿舒瑞韦、西美瑞韦、帕立瑞韦和达诺瑞韦)不再像第一代PI一样依赖可逆共价结合,从而大幅提高了对GT1型HCV的NS3/4A蛋白酶的抑制作用。而从包括格拉瑞韦、格卡瑞韦和伏西瑞韦在内的第三代开始,PI药物的结构优化开始呈现出趋同性。
药融云数据库显示,目前全球上市的NS3/4A抑制剂包括(1)单药处方药:杨森的司美匹韦(Olysio),罗氏的达诺瑞韦(Ganovo),BMS的阿舒瑞韦(Sunvepra)和默克的伐尼瑞韦(Vanihep);(2)复方制剂中的成分:默克的格拉瑞韦(Zepatier)、默克的那拉匹韦(Arlansa)、阿布维的格卡瑞韦(Mavyret)和吉利德的伏西瑞韦(Vosevi)等。
NS3/4A抑制剂研发TOP10企业

图片来源:药融云全球药物研发数据库
2.NS5B聚合酶抑制剂
NS5B是一种RNA依赖的RNA 聚合酶( RdRp) ,该酶催化病毒RNA 基因组的复制,合成互补的负链RNA,为复制子代正链RNA 病毒提供模板,其在HCV 复制中的重要性不言而喻,而未被HCV 感染的细胞不会表达NS5B,因此NS5B抑制剂在阻断HCV复制的同时不会带来其他毒副作用,是目前抗HCV药物研究的重要靶点。
该靶点引来大量关注很大程度源于2013年吉利德索非布韦(Sofosbuvir)的上市。索非布韦作为首个获批用于丙型肝炎全口服治疗方案的NS5B聚合酶抑制剂,一上市就为吉列德带来了巨大的收益,并且成为上市后首年全球销售额突破100亿美元的重磅炸弹药物。该药也是首个无需联合干扰素治疗丙肝的药物, 且对所有基因型HCV均有作用。
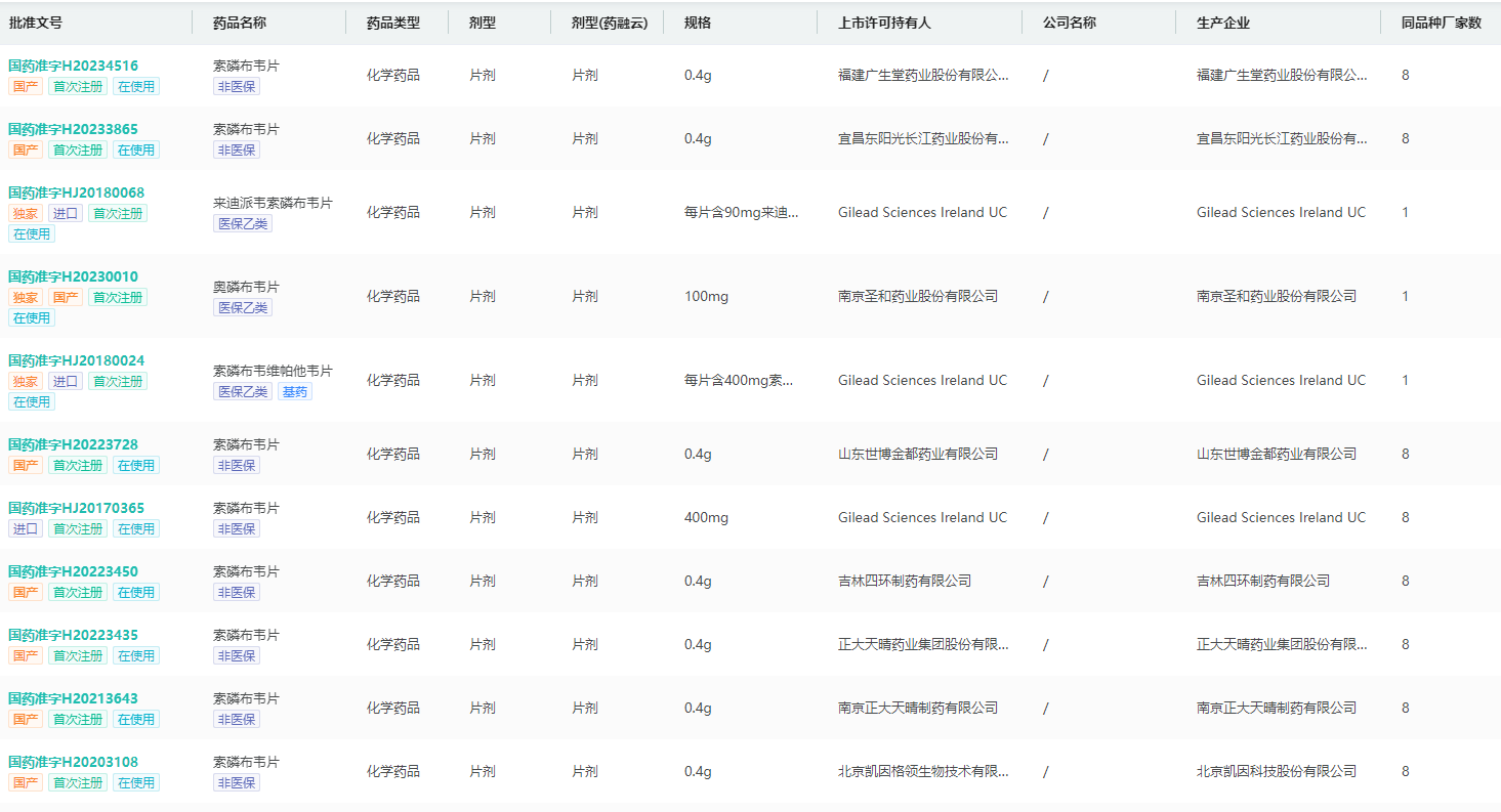
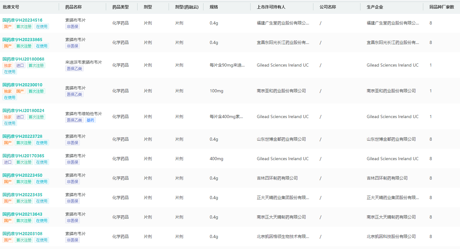
药融云数据库显示,目前国内已有多个NS5B聚合酶抑制剂获批上市,包括雅培制药/艾伯维的达塞布韦,BMS的贝卡布韦,圣和药业的奥磷布韦,吉利德的索磷布韦+维帕他韦+伏西瑞韦、索磷布韦+来迪派韦等。
NS5B聚合酶抑制剂药品批文查询

图片来源:药融云中国药品批文数据库
3.NS5A抑制剂
NS5A是一种高度磷酸化的非结构蛋白,与 NS3/4A和NS5B不同,NS5A不具有酶活性,因此无法在酶学水平上筛选NS5A抑制剂,而只能在细胞水平上进行。
NS5A抑制剂作用机制的研究可简要分为:抑制NS5A高度磷酸化;抑制NS5A两性α-螺旋;
抑制NS5A结构域I、II、III;干扰NS5A从内质网向脂滴转移,导致 NS5A 不能装配到复制复合体中,从而抑制具有完整功能的复制复合体形成和 HCV 复制;与NS5A形成的功能复合物结合,在改变NS5A 构象的基础上通过协同变构作用使整个功能复合物失效,从而抑制 HCV。
Daclatasvir(达拉他韦)是第一代HCV复制复合物的NS5A抑制剂,对多种HCV基因型具有高度活性,与索非布韦等药物联用,形成高效且耐受性良好的治疗方案。Ledipasvir/Sofosbuvir主要针对基因1和3-5型HCV感染。Elbasvir(埃博拉司韦)与 Grazoprevir(格拉佐普雷韦)组成的复方制剂 Zepatier(泽帕特),适用于1、4型丙肝患者的治疗。在国内,还有东阳光药业的磷酸依米他韦(Yimitasvir)、歌礼的ASC16(盐酸拉维达韦)、凯因科技的KW-136等。
相信未来随着科技的进步和研究的深入,新型丙型肝炎治疗药物不断涌现,持续优化治疗方案,提高治愈率的同时降低药物副作用和治疗成本,为全球丙型肝炎患者带来福音。
<END>
要解锁更多企业药品研发信息吗?查询药融云数据库(vip.pharnexcloud.com/?zmt-mhwz)掌握药品各国上市情况、药品批文信息、销售情况与各维度分析、市场竞争格局、一致性评价情况、集采中标情况、药企申报审批信息、最新动态与前景等,以及帮助企业抉择可否投入时提供数据参考!注册立享15天免费试用!








川公网安备51019002008863号
本网站未发布麻醉药品、精神药品、医疗用毒性药品、放射性药品、戒毒药品和医疗机构制剂的产品信息
收藏
登录后参与评论
暂无评论