
据《春季过敏季前瞻报告》显示,自3月中下旬起,全国整体过敏用药需求呈现持续攀升的态势,相较于去年同期,需求量更是激增了1.6倍。(相关阅读:关键新的过敏途径—— 小鼠研究发现了治疗哮喘、花粉症和其他炎性疾病的潜在新药物靶点)

在抗过敏领域,有一个特殊的群体被称为“氯雷他定人”,他们因对氯雷他定药物的依赖而备受关注。百度数据显示,2022和2023年搜索过敏性鼻炎相关共现药物词条中,氯雷他定始终占据第一名。
过敏性鼻炎药物需求量大,百亿市场多家药企布局!
近20年来,过敏性疾病的患病率呈持续上升趋势。据公开数据显示,我国每100人中就有高达40人患有过敏症状,这使得抗过敏产业市场规模接近300亿。氯雷他定成为抗过敏药中的硬通货,全国30多家内外资企业在争夺这一市场。
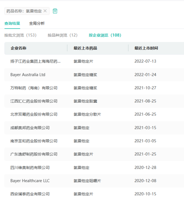
在国内市场,多家药企也争先布局。据药融云数据统计,目前有153条氯雷他定的生产批文,生产企业超100家,包括北京双鹭、常州四药制药、正大天晴药业等。

截图来源:药融云中国药品批文数据库
从药品品种的角度来看,氯雷他定片拥有该药品批文的企业数量最多,高达36家。地氯雷他定口服溶液,有15家企业获得相关批文,紧随其后的是胶囊剂型,共有14家企业获得了相关批文。而糖浆剂型也备受关注,共有11家企业获得了批文。

截图来源:药融云中国药品批文数据库
在一致性评价方面,扬子江药业、江苏万高,成都倍特等32家企业过评了地氯雷他定口服溶液、地氯雷他定片、氯雷他定糖浆等7个品种。
在仿制药的布局领域,氯雷他定这一品种在国内引发了广泛关注。目前,已有江苏广承药业等7家企业积极提交了氯雷他定糖浆的仿制申请,积极挖掘这一潜力巨大的市场,期望能够从中分得一杯羹。

截图来源:药融云中国药品审评数据库
销售峰值18亿+,榜首品种占院内市场半壁江山
抗过敏药物的销售呈现出明显的季节性特征,每年分季度来看,春秋季节尤为突出。这是由于百花盛开,花粉数量增多,导致过敏人群和就诊用药的需求相应增加。
从在全国院内市场来看,氯雷他定相关品种的销售表现尤为亮眼。其总销售峰值超18亿元,显示出强大的市场潜力。2023年(截至Q3),氯雷他定相关品种的销售额已接近12亿元,表明其在抗过敏药物市场应用前景乐观。

截图来源:药融云全国医院销售数据库
从品种角度来看,在2023年全国院内市场中,氯雷他定相关的抗过敏药物TOP10榜单中,枸地氯雷他定片、地氯雷他定干混悬剂及地氯雷他定胶囊这3个品种主导了销售市场。特别是枸地氯雷他定片,以高达59.31%的市场份额独占鳌头,几乎占据了半壁江山。紧随其后的是地氯雷他定干混悬剂,市场份额达到13.77%。而地氯雷他定胶囊则以9.54%的市场份额位列其后。这些数据显示出氯雷他定相关抗过敏药物在市场上的强劲竞争力。

截图来源:药融云全国医院销售数据库
氯雷他定相关品种,从企业方面来看,2023年在全国院内市场TOP10榜单中,扬子江药业以显著优势占据近6成市场份额,稳居领先地位。紧随其后的是海南普利制药,以近15%的市场份额紧随其后,展现了强劲的竞争实力。合肥某企业则以9.67%的市场份额位列第三,同样在市场中占据一席之地。

截图来源:药融云全国医院销售数据库
随着过敏性疾病患病率的持续上升和人们健康意识的提高,抗过敏药物市场呈现出蓬勃发展的态势。氯雷他定作为抗过敏产业的C位,其市场需求和销售额持续增长,吸引了众多药企的关注和布局。
在国内市场中,扬子江药业凭借强大的研发实力和院内市场亮眼的销售额稳居领先地位。同时,其他药企也在纷纷布局,抢占这个潜力市场。未来,随着抗过敏药物市场的不断扩大和技术的不断进步,氯雷他定等相关品种将继续保持强劲的增长势头。同时,药企也需要在研发创新、质量控制和市场推广等方面不断提升自身实力,以应对日益激烈的市场竞争。
<END>
要解锁更多企业药品研发信息吗?查询药融云数据库(vip.pharnexcloud.com/?zmt-mhwz)掌握药品各国上市情况、药品批文信息、销售情况与各维度分析、市场竞争格局、一致性评价情况、集采中标情况、药企申报审批信息、最新动态与前景等,以及帮助企业抉择可否投入时提供数据参考!注册立享15天免费试用!








川公网安备51019002008863号
本网站未发布麻醉药品、精神药品、医疗用毒性药品、放射性药品、戒毒药品和医疗机构制剂的产品信息
收藏
登录后参与评论
暂无评论