
7月9日,据华海药业发布公告称,由其下属子公司华奥泰与华博生物申报的HB0046注射液在中国获批临床,拟开发治疗晚期实体瘤。据悉,HB0046注射液为一款CD39&CD73双特异性抗体。据药融云数据库显示,2023年全国院内抗肿瘤药和免疫机能调节药物销售额超1400亿元。

截图来源:企业公司
HB0046是华奥泰自主开发的一款双特异性抗体,由抗CD39 的VHH(重链可变区)片段和抗CD73的单抗连接而成。该双抗具备与CD39和CD73高亲和力,并能有效抑制膜型和可溶型CD39和CD73的酶活,在CD39和CD73的酶活抑制以及ATP介导的T细胞增殖抑制方面展现出显著的协同效应。据药融云数据库显示,2023年全国院内抗肿瘤药和免疫机能调节药物销售额超1400亿元,同比增长达7.31%。

截图来源:药融云全国医院销售数据库
目前,国内外以CD39或CD73为靶点的药物均未上市。有多个抗体和ADC项目正处于临床研究阶段,开发的适应症有非小细胞肺癌、乳腺癌、胰腺癌、前列腺癌等实体瘤,其中阿斯利康研发的 Oleclumab(抗 CD73 单抗)进展最快,正处于三期临床阶段,用于同步放化疗后的不可切除 NSCLC(非小细胞肺癌)治疗;华奥泰的HB0046 是全球第一个进入临床阶段的CD39&CD73双特异性抗体。截至目前,公司在HB0046项目上已合计投入研发费用约人民币4,204万元。

截图来源:药融云全球药物研发数据库
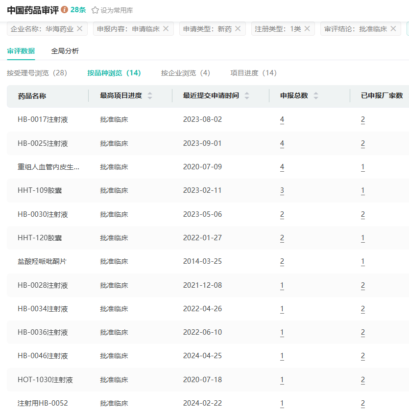
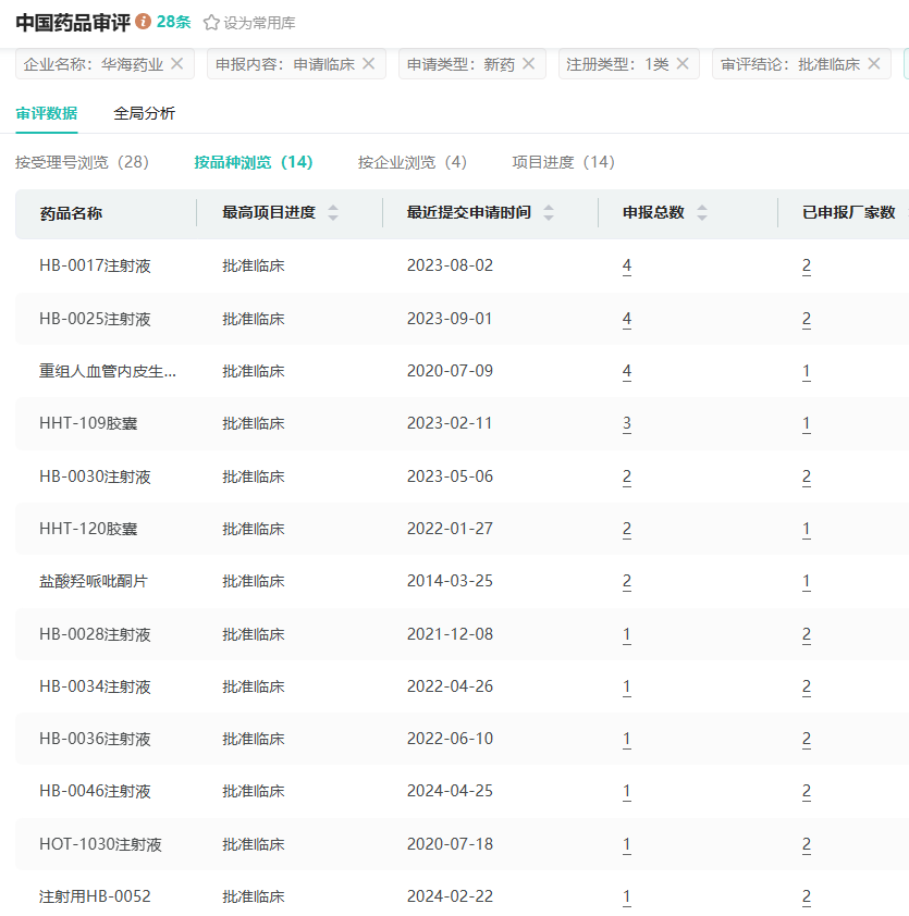
据药融云数据库显示,目前华海药业(含子公司)有14款1类新药申请并获批临床,其中抗肿瘤药物占据主导地位,共有9款,其次是神经系统药物,共有2款,此外感觉系统、肌肉骨骼系统药物和血液和造血系统药物各1款。其中抗肿瘤药和免疫机能调节药物、血液和造血系统药物2大领域在全国院内销售峰值超千亿元。

截图来源:药融云中国药品审评数据库
华海药业一直在创新领域深耕,2023年公司累计研发投入11.70亿元,占公司营业收入的14.08%,其中研发费用9.83亿元,同比增长6.21%。公司大分子生物创新药聚焦于自身免疫和肿瘤领域,小分子创新药聚焦于中枢神经、代谢、肿瘤等领域。2024年至今,华海药业(含子公司)有2款1类新药注射用HB0052、HB0046注射液获得临床试验默示许可,均用于治疗晚期实体瘤。
参考来源:
[1] 企业官方公告
[2] 药融云数据库
<END>
想要解锁更多药物研发信息吗?查询药融云数据库(vip.pharnexcloud.com/?zmt-mhwz)掌握药物基本信息、市场竞争格局、销售情况与各维度分析、药企研发进展、临床试验情况、申报审批情况、各国上市情况、最新市场动态、市场规模与前景等,以及帮助企业抉择可否投入时提供数据参考!注册立享15天免费试用!








川公网安备51019002008863号
本网站未发布麻醉药品、精神药品、医疗用毒性药品、放射性药品、戒毒药品和医疗机构制剂的产品信息
收藏
登录后参与评论
暂无评论