
8月13日,据NMPA官网公示,石家庄四药提交的仿制药多巴丝肼片和钠钾镁钙注射用浓溶液两大品种同日获批并视同通过一致性评价。据药融云数据库显示,多巴丝肼片在2023年全国院内市场销售额超5亿元。

截图来源:NMPA官网
多巴丝肼片用于治疗帕金森病、症状性帕金森综合症(脑炎后、动脉硬化性或中毒性),但不包括药物引起的帕金森综合症。据药融云数据库显示,多巴丝肼片在2023年全国院内市场销售额达5.84亿元。

截图来源:药融云全国医院销售数据库
截止目前,多巴丝肼片有6家药企拥有生产批文。2023年12月,浙江花园药业斩获多巴丝肼片品种国内首仿+首家过评,2024年,浙江华海药业、北京福元医药、石家庄四药陆续获批并视同过评。此次,石家庄四药是国产第4家过评该品种的药企。

截图来源:药融云过评药品汇总数据库
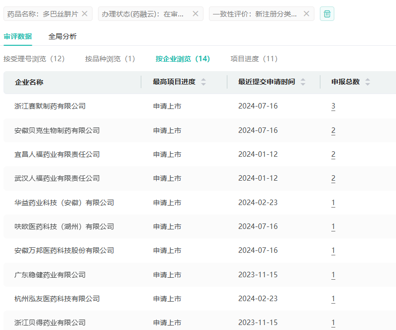
在仿制药布局方面,多巴丝肼片有宜昌人福药业、武汉人福药业、重庆华邦制药、重庆药友制药等14家药企提交了仿制申请,均在审评审批中。

截图来源:药融云中国药品审评数据库
钠钾镁钙注射用浓溶液主要用于通过中心静脉输注含浓葡萄糖或氨基酸的溶液时的电解质补充,以维持成人患者的电解质动态平衡。据药融云数据库显示,目前国内仅北京亿灵医药、石家庄四药2家药企获批并过评。

截图来源:药融云过评药品汇总数据库
2024年至今,石家庄四药(含子公司)有盐酸利多卡因注射液、硫酸镁注射液、丙泊酚中/长链脂肪乳注射液等34款品种过评,其中利奈唑胺干混悬剂、卡左双多巴缓释片、恩他卡朋双多巴片(Ⅱ)、甲磺酸倍他司汀片4个品种为首家过评。
参考来源:
[1] NMPA官网
[2] 药融云数据库
<END>
想要解锁更多药物研发信息吗?查询药融云数据库(vip.pharnexcloud.com/?zmt-mhwz)掌握药物基本信息、市场竞争格局、销售情况与各维度分析、药企研发进展、临床试验情况、申报审批情况、各国上市情况、最新市场动态、市场规模与前景等,以及帮助企业抉择可否投入时提供数据参考!注册立享15天免费试用!








浙公网安备33011002015279
本网站未发布麻醉药品、精神药品、医疗用毒性药品、放射性药品、戒毒药品和医疗机构制剂的产品信息
收藏
登录后参与评论
暂无评论