

博生吉医药科技(苏州)有限公司于2010年5月31日注册成立在苏州工业园区。是一家以突破性肿瘤细胞免疫治疗技术与产品研发为主要发展目标的高科技企业,博生吉专注于开发具有国际领先水平的突破性First-in-class和Best-in-class CAR-T细胞药物,已有多个细胞产品进入POC临床验证阶段,涵盖大部分血液肿瘤和部分实体肿瘤。
博生吉公司基本信息

截图来源:药融云投融资数据库
01 融资情况
- 2012年,博生吉获得中新创投天使轮投资;
- 2015年,博生吉获得安科生物A轮投资;
- 2021年,博生吉完成了由元生创投领投,普恩国新股权投资和仙瞳资本跟投的A轮融资;
- 2022年,博生吉完成了由中金启德和华泰紫金共同领投、磐毅资本和华桐资本共同跟投的B轮融资。
02 研发管线
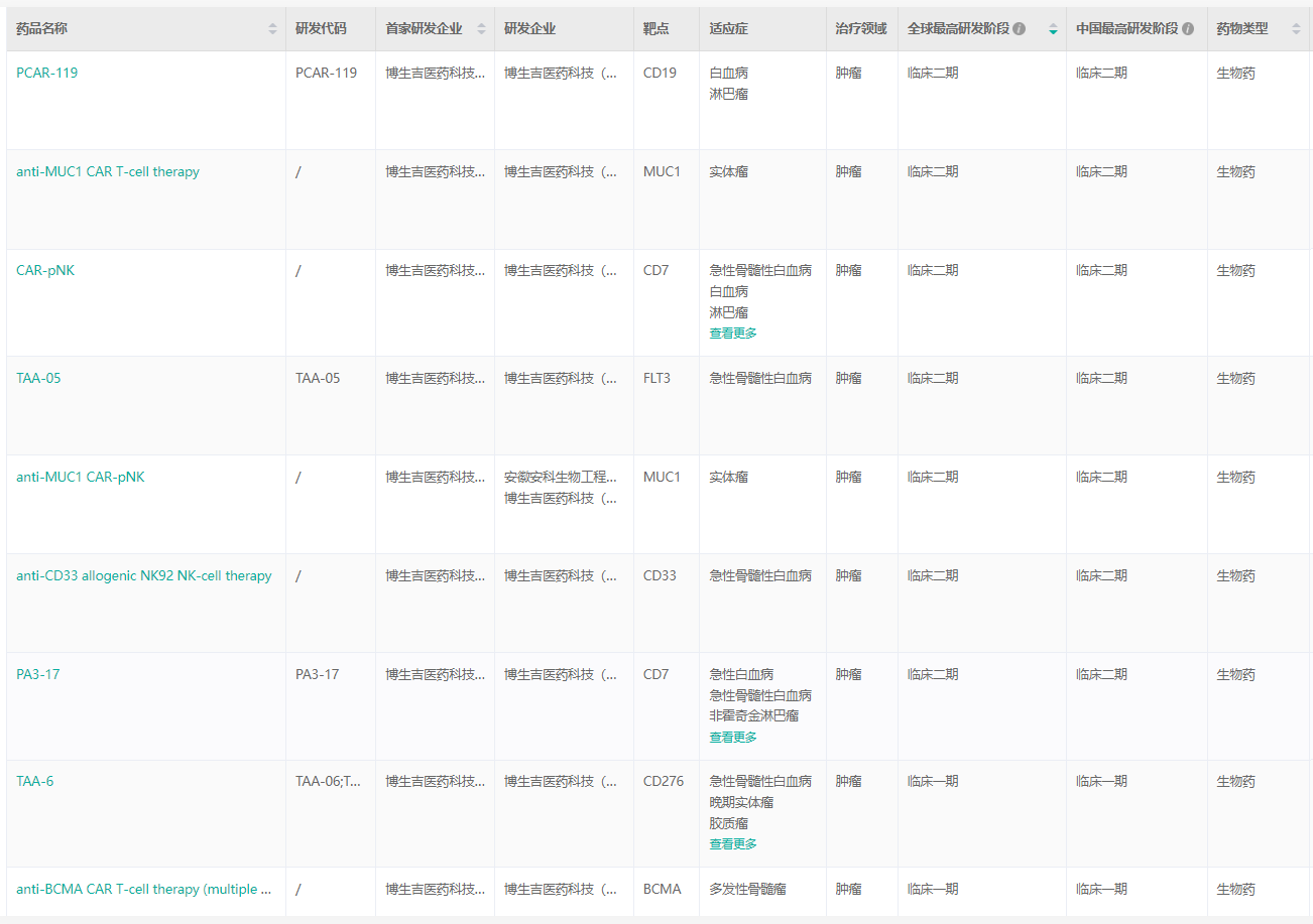
据药融云数据库查询,博生吉专注于肿瘤领域的药物研发,目前产品管线上有多个产品在同步进行紧锣密鼓地临床试验,多个细胞产品进入POC临床验证阶段,涵盖大部分血液肿瘤和部分实体肿瘤。
博生吉部分产品管线信息(完整管线信息请进入药融云官网查看)

截图来源:药融云全球药物研发数据库
细胞产品研发管线

抗体研发管线

图片来源:博生吉官网
03 技术平台
- CAR结构功能验证平台

- Safeγ UCAR-γδT平台

- NanoBa双特异抗体平台

同时还包括全自动CAR-T制备平台、悬浮慢病毒载体平台和CAR-T体内药效验证平台。
04 最新进展
- 3月18日,博生吉开发的靶向B7-H3的CAR-T细胞注射液(研发代号:TAA06注射液)收到美国FDA授予的孤儿药资格认定(ODD);
- 3月26日,美国FDA根据联邦食品、药品和化妆品法案(FD&C 法案)(21 U.S.C. 360ff(a)(3))第529(a)(3)条,对TAA06注射液授予罕见儿科疾病(Rare Pediatric Disease,RPD)认定,用于治疗神经母细胞瘤;
- 4月18日,Clinical Cancer Research杂志发表了由郑州大学第一附属医院张明智教授团队和博生吉研发团队联合研究的有关非基因编辑手段制备的CD7-CAR-T(PA3-17注射液)治疗复发难治T-ALL/T-LBL的一项突破性成果;
- 4月21日,博生吉申办的PA3-17注射液(CD7-CAR-T)治疗复发/难治性CD7阳性血液淋巴系统恶性肿瘤的I期临床试验在浙江大学医学院附属第一医院召开了线上启动会;
- 4月29日,CDE发文,博生吉开发的靶向B7-H3的CAR-T细胞注射液(研发代号:TAA06注射液)临床试验申请获得受理,用于治疗神经母细胞瘤。
参考资料:
博生吉 | https://www.persongen.com.cn/
药融云数据库
推荐阅读:
《吉凯基因管线梳理!采用RNAi技术,自主建立GRP平台,开展药物研发》
想要解锁更多药企信息吗?查询药融云数据库(https://www.pharnexcloud.com/?zmt-mhwz)掌握药企公司基本信息;投融资情况;最新动态;产品布局、药物基本信息、研进展、临床试验信息、市场规模与前景,可否投入研发!注册立享15天免费试用和虎年首份医药数据大礼包!

<END>







川公网安备51019002008863号
本网站未发布麻醉药品、精神药品、医疗用毒性药品、放射性药品、戒毒药品和医疗机构制剂的产品信息
收藏
登录后参与评论
暂无评论