众所周知,许多药企的药物研发主要集中在抗肿瘤、自身免疫等热门赛道上。导致目前的抗肿瘤药物研发领域已是异常饱和、龙争虎斗,药企如果还是盲目从众、随波逐流,或将永无出头之日。为此,药企急需开辟一条新的道路,而中药制剂不失为一条捷径。“肿瘤”+“中药”,两者结合,又会碰撞出怎样的火花呢?
一、各自研发领域的热门赛道、集大成者!
肿瘤是机能细胞异常增生形成的一类疾病,最突出的特点是在身体局部形成肿块。肿瘤的类型主要分为恶性肿瘤、良性肿瘤、交界性肿瘤和癌前病变。 据国家癌症中心2022全国癌症统计数据报告显示,我国癌症发病新发病例406.4万人,差不多每分钟就有8个人罹患癌症。其中,男性223.4万人、女性183万人。而因癌症死亡的人数是241.4万人,其中,男性153.1万人,女性88.3万人。总体而言,癌症对男性的威胁高于女性。
趋利避害是人的本性,如此庞大的患者群体,自然也是药企药物研发的聚集地。据药融云药物研发数据库统计,截止目前,全球共有20万+药物在研,其中肿瘤以近十万的数量高居全球药物研发治疗领域的榜首,其次是癌症,而癌症又是恶性肿瘤的一个分支,故全球针对肿瘤领域研发的药物占全部药物的85%,数量共有18万之多。显而易见,抗肿瘤药物研发赛道已然是非常拥挤、靶点同质化程度高、内卷严重、竞争激烈,药企想要突出重围、脱颖而出,无疑是困难重重、难上加难。
全球药物研发治疗领域TOP10(微信搜索"药融云小程序"进行相关更多数据查询)

截图来源:药融云全球药物研发数据库
中医在我国有着悠久的历史。早在远古时代,我们的祖先在与大自然作斗争中就创造了原始医学。后经过历代中医圣贤的努力实践和理论研究,得到长久发展和人民认可。中医药学是中华民族灿烂文化的重要组成部分,是老祖宗传承下来的智慧结晶,历经数千年而不衰,显示了中医药学自身强大的生命力。
中药是指在中医理论指导下,用于预防、治疗、诊断疾病并具有康复与保健作用的物质,主要来源于天然药及其加工品,包括植物药、动物药、矿物药及部分化学、生物制品类药物。自豪的说,中医药的发展几千年来从未中断,且一直都是药企药物研发的热门制剂。且随着时间的推移,中药的研制技术愈发成熟、历久弥新。

据药融云全国医院销售数据库统计,近年来中成药在我国院内的市场已趋于稳定,年销售额均超一千亿元,最高可达1447.95亿。在中药研发上,国内药企可谓是百花齐放、百家争鸣,市场份额占比较为平均,其中广州梧州制药、山东丹红制药、上海绿谷制药近年来累计药品销售额占比均超10%。
我国中成药院内市场药企销售额占比TOP10(2014年-2022年Q3)

截图来源:药融云全国医院销售数据库
二、百亿市场!抗肿瘤中成药一片蓝海
“肿瘤”+“中药”=抗肿瘤中成药。据药融云统计,近年来我国院内的抗肿瘤中成药销售额一直处于百亿以上,前期一直在持续递增,销售额巅峰于2016年达到了182.34亿。但2017年以后就出现逐年走低趋势,到2021年销售额仅有131.68亿。目前2022年前三季度的销售额已有98.12亿元,期待全年出现转机。近年,抗肿瘤中成药市场已开始出现缩减趋势,也预示着已上市药物失去了“活力”,需要新的药物来“激起涟漪”,为肿瘤患者提供更多、更先进的药物选择。
抗肿瘤中成药院内销售情况(2014年-2022年前三季度)

截图来源:药融云全国医院销售数据库
从抗肿瘤中成药药企销售额TOP10榜单来看,长白山制药近几年的累计销售额还是稳居第一。但从2018年被康莱特药业赶超后,市场占比一直在缩小,到2022年前三季度仅剩不到一成,排名跌至第七。而东泰制药则凭借其优势品种(华蟾素胶囊)后来居上,市场占比19.35%。
2022年抗肿瘤中成药药企销售额排名TOP10(前三季度)

截图来源:药融云全国医院销售数据库
截止目前,康艾注射液的累计销售额已超一百五十亿,为近年来最畅销的抗肿瘤中成药。康莱特注射液、参芪扶正注射液、艾迪注射液的销售额也均超一百亿。2022年前三季度,华蟾素胶囊大卖11.47亿,一骑绝尘,销售额排名第一,与其他品种拉开差距。
2022年抗肿瘤中成药销售额排名TOP10(前三季度)

截图来源:药融云全国医院销售数据库
二、药企/品种争奇斗艳!你方唱罢,我方登场
01.华蟾素胶囊
华蟾素胶囊为国家级抗肿瘤中成药,中国知名品牌。华蟾素胶囊充分利用现代生物制药技术,科学提取干蟾皮中的脂溶性成份精制而成,具有解毒、消肿、止痛的功效,是一款广谱抗癌药物,主要用于中、晚期肿瘤与慢性乙型肝炎等病症。现已被列入国家级中药保护品种并已广泛应用于临床。
华蟾素所含的蟾蜍甙元及华蟾蜍精具有抗癌作用,对各种癌症如胃癌、肺癌、肠癌、食道癌、胰腺癌及急性白血病都能起到较强效的作用。独创的双向疗法,是华蟾素胶囊的杀手锏。临床检验表明,华蟾素胶囊的止痛效果是常规药物的2-3倍。
经药融云数据库查询,目前国内获批华蟾素胶囊的企业有东泰制药和鑫齐药业,前者于2006年1月以9类新药拿下华蟾素胶囊的药品批文,后者则于2009年10月以8类新药获批上市。据下图显示,该药近年的院内销售额呈逐年递增涨幅,2021年同比增长23.80%,达到了14.12亿元。现2022年前三季度已赶超去年同期,其中东泰制药处于领导地位,绝对压制鑫齐药业,占据了94.13%的销售市场。

截图来源:药融云全国医院销售数据库
华蟾素胶囊于2021年连续超越康艾注射液与康莱特注射液,首次成为院内抗肿瘤中成药畅销品种Number1,与第二名差距拉开到近五亿元之大,无疑是一匹被低估的“黑马”。
02.康艾注射液
康艾注射液是长白山制药的独家中成药品种,主要成分为黄芪 、人参、苦参素,有益气扶正、增强机体免疫的功能。主要用于原发性肝癌、肺癌、直肠癌、恶性淋巴瘤、妇科恶性肿瘤;各种原因引起的白细胞低下及减少症;以及慢性乙型肝炎的治疗。
康艾注射液是一款广谱抗肿瘤中成药,是中药注射液抗肿瘤第一品牌,旨在提高患者生活质量,延长生存期。十五年的临床应用,发现康艾注射液疗效确切、安全性高,在有效率和生存质量提升方面,康艾注射液联合化疗组略高于单纯化疗组。康艾注射液扶正与祛邪并举,符合当今肿瘤治疗的理念,是中医临床诊疗指南释义肿瘤疾病分册推荐用药。
据药融云统计,康艾注射液2014年-2022年前三季度的累计销售额已达到166.93亿元,在2021年以前一直都是院内抗肿瘤中成药的桂冠品种。但从年度销售额来看,近年来却在走下坡路,市场规模已从2014年的28.31亿缩至2021年的6.67亿,现2022年前三季度的销售额也不太乐观。尤其在2021年,销售额直降50%,以至于把抗肿瘤中成药市场榜一的地位拱手让人。

截图来源:药融云全国医院销售数据库
03.康莱特注射液
由名可见,康莱特是康莱特药业自主研发的中药独家品种,是公司获得认证的“国家重点新产品”,拥有国家自主知识产权,是目前国际上理想的肿瘤治疗药物之一,已获得十多个国家的专利证书。康莱特是从中药薏苡仁提取的有效成分,于1997年就获批在中国上市,在肿瘤姑息治疗中抑瘤类中药I类证据A级推荐。
作为一款具有治疗作用的双相抗肿瘤中成药,康莱特既能高效抑杀癌细胞,又能显著提高机体整体免疫功能。在临床上作为抗癌药,用于肺癌、 肝癌及其它中晚期转移性肿瘤。一项文献荟萃分析发现,这款抗癌“老药”配合放、化疗有一定的增效作用,能使客观效果提升52%,生存质量提高近2倍,患者的疼痛缓解度更高,另外对中晚期肿瘤患者具有一定的抗恶病质和止痛作用。
据药融云数据库显示,康莱特有注射液与胶囊两种制剂,但康莱特注射液才是主力品种,八成市场都由其贡献。据统计,康莱特的整体院内销售市场起伏较大,最高于2017年达到了23.2亿元,此后就出现了持续下滑。虽然在2018-2020年市场出现急剧缩小,但康莱特注射液却依旧霸占了抗肿瘤中成药院内市场TOP1的位置三年。到2021年,康莱特的销售额已仅有11.12亿,2022年前三季度的销售额为7.8亿,还不及去年同期,预计全年依旧不太乐观。

截图来源:药融云全国医院销售数据库
三、2022年新版医保目录执行,抗肿瘤中成药TOP10品种均囊括在内
2023年1月18日,国家医保局正式印发《国家基本医疗保险、工伤保险和生育保险药品目录(2022年)》,新版目录尘埃落定,将于2023年3月1日开始执行(《新版医保目录全面落地!17个国产创新药大幅降价,惠及这些患者!》)。
本次医保目录共新增了111个药品,药品平均降价60.1%,最高降价超90%。2022年新版医保目录中收载了西药和中成药共2967种,其中西药1586种,中成药1381种,为历年来最多。其中,目录中还新增了6款国产1类中成药,由此可见,中成药越来越被重视,全面提高了对患者的保障水平,可以造福更多人群。
据药融云数据库查询,2022年前三季度的抗肿瘤中成药TOP10品种均被纳入在内,包括华蟾素胶囊、康莱特注射液、鸦胆子油乳注射液、复方苦参注射液、艾迪注射液、消癌平注射液、康艾注射液、西黄胶囊、槐耳颗粒、参芪扶正注射液(按排名顺序罗列)。
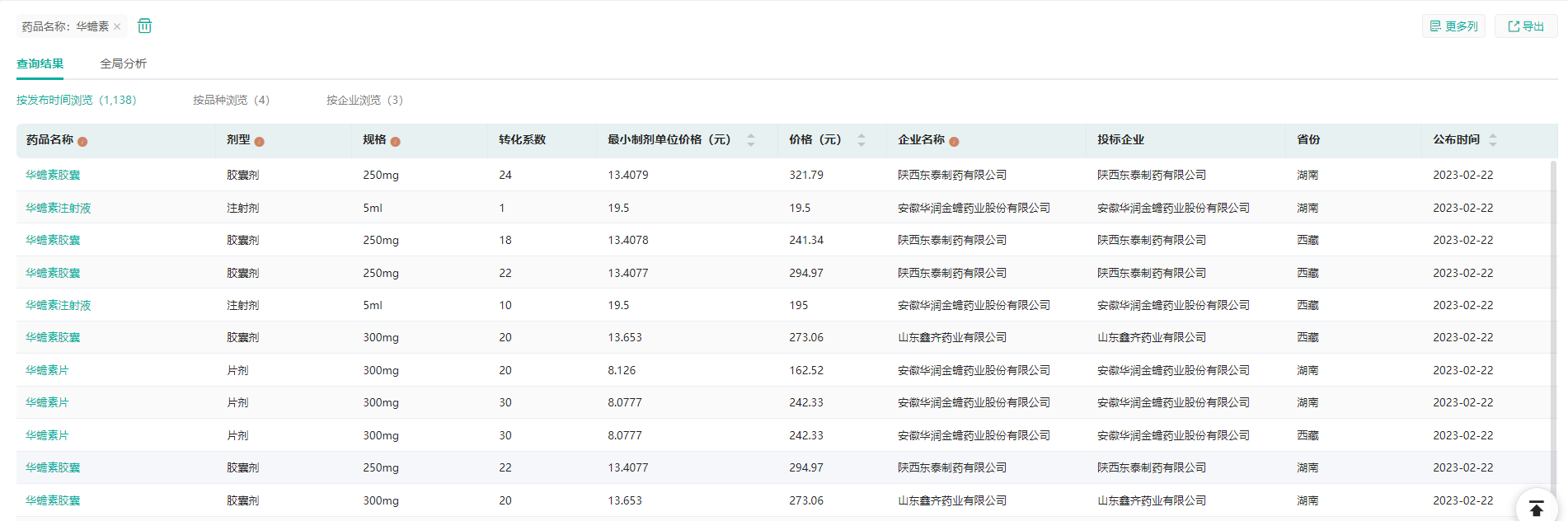
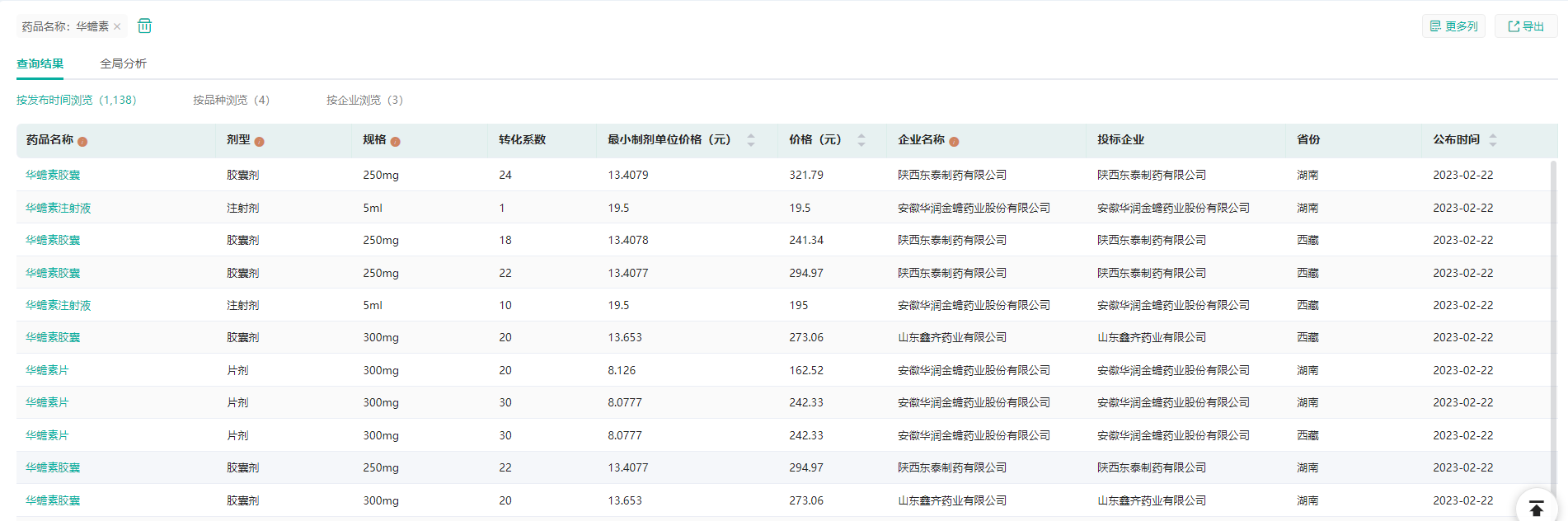
其中,除华蟾素为甲类品种外,其他均为乙类品种。据药融云医保目录数据库显示,此次为华蟾素首次被纳入国家医保目录,纳入剂型有胶囊剂、片剂、注射剂。2023年2月22日,东泰制药、华润金蟾药业、鑫齐药业三家企业同日发布华蟾素的最新价格,其中最便宜的是13-13.5元/单位制剂,为东泰制药的华蟾素胶囊,供应地位在湖南与西藏。

截图来源:融云药品招投标数据库
四、鼓励中药创新,抗瘤永无止境!
东泰制药、长白山制药以及康莱特药业都仅有一个品种参赛抗肿瘤中成药的市场争夺战。但由于华蟾素胶囊近年来市场的大规模扩张,带领了东泰制药一飞冲天,摘取桂冠。而长白山制药的康艾注射液就完全相反,近年来的销售额一直在走下坡路,导致长白山制药在抗肿瘤中成药的地位越来越暗淡无光。康莱特药业的康莱特注射液情况也不容乐观,此前仅在抗肿瘤中成药第一的位置“昙花一现”。
“抗瘤无止境”,只有鼓励中药传承创新,才可以最大程度地激发并释放中药的活力和潜能。时代的车轮会推动药企的研发能力和研发技术的进步。个别品种由于功能、药效、价格等因素不及后来药物而失去“江湖地位”也是正常不过。只有不断地推陈出新、取其精华、去其糟粕,才能经得起时间和群众的检验,大浪淘沙后还能留下来的药物才是“王者”,才是真正造福患者群体的有效药物。
想要解锁更多疾病领域信息吗?查询药融云数据库(vip.pharnexcloud.com/?zmt-mhwz)掌握疾病领域涉及药物信息、销售情况与各维度分析、市场竞争格局、创新药研发情况、仿制药布局情况、最新进展、市场规模与前景等,以及帮助企业抉择可否投入仿制与研发时提供数据参考!注册立享15天免费试用!

<END>








川公网安备51019002008863号
本网站未发布麻醉药品、精神药品、医疗用毒性药品、放射性药品、戒毒药品和医疗机构制剂的产品信息
收藏
登录后参与评论
暂无评论