
市值300亿,功能性护肤赛道跑出一个IPO
8月初,因“医美面膜”而为公众所熟知的敷尔佳在深圳证券交易所成功上市,市值高达287亿元。据悉,敷尔佳的毛利率超过80%,一年的净利润高达8亿元。这款“面膜印钞机”般的明星产品,不仅为敷尔佳赢得了可观的利润,更为其赢得了极高的市场声誉。

敷尔佳背后,站着一位60后东北人。敷尔佳的创始人张立国,早年在药品代理和批发生意中积累了丰富的经验。他的商业之路始于1986年,当时他还是黑龙江省干部疗养院的药剂师。之后的三年多时间里,他历任哈药集团制药五厂的生产调度、车间技术主任等职位。
之后,又在黑龙江省中医药开发有限公司担任部门经理的职务。直到1996年,哈药五厂与美国大生合资成立了一家医药公司——哈三联。就在这一年,张立国决定离开稳定的药圈工作,开始创业之旅。
他成立了华信药业,主要从事药品销售和粉针注射剂的处方药品批发等业务。他的经营药品包括哈三联生产的注射用长春西汀、注射用利福霉素钠、注射用氯诺昔康、注射用甲磺酸加贝酯等产品。

图片来源:药融云全国医院销售(全终端)数据库
2012年,美容护肤及皮肤修复行业开始崭露头角,张立国敏锐地洞察到护肤品市场的巨大潜力,开始进入这个领域。2014年11月,华信药业完成了“医用透明质酸钠修复贴”的研发工作,也就是我们常说的“医美面膜”,属于医疗器械类产品,主要用来修复皮肤组织和创面损伤。这一创新产品迅速赢得了市场的青睐。
2017年,敷尔佳应运而生,从专业的医用敷料产品出发,逐渐扩展到普通面膜、水乳、冻干粉等多种功能性护肤品。初尝成功的滋味后,张立国对医美面膜的市场前景更加坚定信心。为此,敷尔佳以换股的形式,在2021年2月收购了北星药业100%的股权。
北星药业原本是哈三联旗下专门负责化妆品和医疗器械生产销售的子公司。此后,哈三联持有敷尔佳5%的股权,成为公司的第二大股东,而张立国则直接持有公司93.8%的股份。
如今,敷尔佳已经站在了IPO的舞台上,市值高达300亿元。据其财报数据显示,近年来敷尔佳的毛利率一直维持在80%以上,居高不下,2022年甚至达到83.1%,可以说是赛茅台了。
其2020-2022年的营业收入分别为15.85亿元、16.50亿元、17.69亿元,扣非净利润分别为4.77亿元、7.73亿元、7.66亿元。
这个成功案例背后,是中国功能性护肤市场的持续繁荣和消费者对高品质、专业化护肤产品的追求。市场发展潜力巨大,预计到2026年,功能性护肤品的市场规模将达到623亿元。这一数据展示了医美行业细分赛道的未来发展前景,也预示着这个领域将会继续涌现出更多的优秀品牌和成功创业者。
转型加速迈向千亿市场,这些药企推进医美产业链布局
数据显示,中国医美市场处于快速发展阶段,2015-2020年,中国医美市场规模由637亿元增长至1549亿元,预计到2025年,市场规模将超过3500亿元。
而在当今的医药界,创新与转型成为两大关键词。随着医美在中国的蓬勃发展,一些医药企业也纷纷转型或新拓医美业务。据统计,目前已有30多家大型药企通过各种途径跨界医美赛道,比如华东医药,特一药业、云南白药、复星医药、江苏吴中、兴科蓉医药、四环医药、康哲药业等。
华东医药作为在医药行业历经三十年风雨的老将,投资眼光也非常敏锐,自2013年开始,便开始涉足医美业务,其控股子公司华东宁波与韩国LG签订了伊婉透明质酸钠注射剂的中国独家代理协议。之后,2018年华东医药收购了英国专业医美公司Sinclair,从而正式开启了其在全球医美市场的“买买买”之旅。
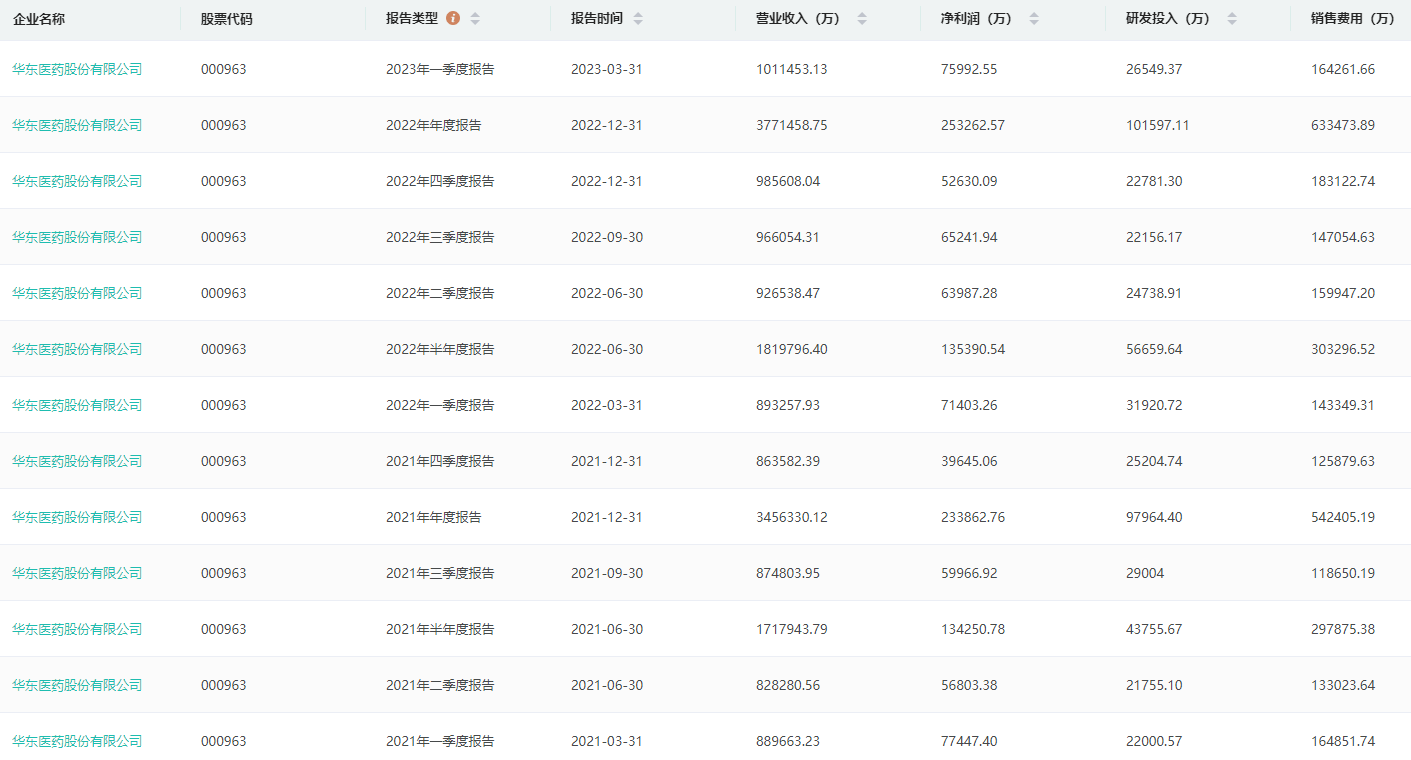
华东医药历年年报信息查询(部分)

图片来源:药融云上市医药企业年报数据库
据药融云上市医药企业年报数据库显示,华东医药2023年上半年实现营业收入203.85亿元,同比增长12.02%;归属于上市公司股东的扣非后归母净利润为14.27亿元,同比增长12.24%。
其中,国内外医美业务实现营业收入12.24亿元,同比增长36.40%。
截至目前,华东医药拥有医美国际化高端产品36款,其中海内外已上市产品达24款,产品组合覆盖面部和全身注射填充、能量源类皮肤管理、身体塑形等非手术类主流医美领域。其推出的伊妍仕少女针,于2021年4月获批,同年8月上市,是国内首款少女针。
云南白药作为中药行业的龙头企业,早在2011年就推出了护肤品牌采之汲全植物面膜等产品,主打植物护肤。此后在2018年组建了东亚肌肤健康研究中心,2020年又继续联手日本专业化妆品牌POLA,共同开启植物护肤新时代;2021年与IBM和欧姆龙合作,发布了云南白药首款AI 肌肤个性化定制系统“MIS-UNIQ”......
只做美容护肤显然并不能满足云南白药的野心,2021年12月,云南白药宣布直接持有云臻公司100%的股权,大力进军医美领域,并将云臻公司作为云南白药皮肤综合解决方案医学中心的设置单位,以开设门诊部切入医美中游,积极推进医美产业链的生态布局。
云南白药2023年上半年年报显示,其上半年实现营收203.09亿元,同比增长12.73%;归母净利润为28.28亿元,同比增长88.47%。并表示,持续推进新业务,重点培育口腔智护、精准医美及智云健康新业务单元,打造全新业绩增长点。其中,精准医美业务单元(BU)立足医美线下旗舰店,拓展医美全产业链布局。
不同于云南白药切入医美中游,江苏吴中、四环医药等医药企业直接进入医美上游的原料端开展新业务。江苏吴中于2021年进军医美行业,目前通过收并购获得Humedix的玻尿酸产品和 Aesthefill童颜针在国内的独家代理权,2022年启动重组胶原蛋白产品的研发,全面展开注射类医美产品线布局。
复星医药作为一家在医药大健康领域面面俱到的企业,自然不会放过医美这块“肥肉”。其控股子公司复锐医疗科技设立于2013年,现已成为医美领域龙头企业,业务包括能量源医美设备、注射填充、美容及数字牙科、个人护理等。
药融云中国药品审评数据库显示,复星医药旗下公司许可引进的RT002(即DaxibotulinumtoxinA-lanm,A型肉毒杆菌毒素,商品名:Daxxify)用于治疗成人颈部肌张力障碍的药品注册申请于2023年7月获国家药品监督管理局审评受理。
RT002全球研发进度查询

图片来源:药融云全球药物研发数据库
RT002拟用于两种适应症,一种为美容适应症,如改善中度至重度皱眉纹;另一种则是治疗适应症,如成人颈部肌张力障碍。该药物的美容适应症已于2022年9月获美国FDA批准上市。
目前,我国已上市的注射用A型肉毒毒素仅有四款产品,分别为艾尔建旗下的保妥适、兰州生物技术开发有限公司的衡力、Hugel的乐提葆和Ipsen Limited 的吉适。国产肉毒素仅衡力一款产品。若RT002成功获批上市,将打破肉毒素市场“四足鼎立”的局面。
在传统药企营收压力增大、增长乏力的背景下,有的药企选择深耕医药市场将老本行做大做强,有的坚守原有业务的同时拓展医药器械等相关业务,而更多的是谋求多元化发展进军其他赛道。随着医美行业成为无数企业跨界的首选,在这条拥挤的赛道上大家能否续写曾经的神话,只能等待时间的验证了。
<END>
要解锁更多企业药品研发信息吗?查询药融云数据库(vip.pharnexcloud.com/?zmt-mhwz)掌握药品各国上市情况、药品批文信息、销售情况与各维度分析、市场竞争格局、一致性评价情况、集采中标情况、药企申报审批信息、最新动态与前景等,以及帮助企业抉择可否投入时提供数据参考!注册立享15天免费试用!








浙公网安备33011002015279
本网站未发布麻醉药品、精神药品、医疗用毒性药品、放射性药品、戒毒药品和医疗机构制剂的产品信息
收藏
登录后参与评论
暂无评论