
银屑病,国内俗称“牛皮癣”,它并不是癣,是个体与环境相互影响诱发的免疫介导的慢性、复发性、炎症性、系统性疾病。据2008年的流行病学调查显示,银屑病在中国的发病率为0.47%,全国有超过650万银屑病患者,全球的银屑病患者超过1亿人。
银屑病的免疫发病机制复杂,尚未完全阐明,但遗传、免疫与环境因素在银屑病的发生中发挥重要作用。当前研究表明,辅助性T细胞17(TH 17)/白细胞介素17(IL-17)通路在银屑病的发病机制中起主要作用,因此IL-17、IL-23等炎症介质和肿瘤坏死因子 (TNF) 成为了银屑病治疗的关键靶点。
近年来,随着对银屑病发病机制认识的深入,银屑病的新药研发呈现快速发展趋势,各种生物制剂、小分子靶向药和外用药相继涌现。
生物制剂瞄准多个靶点,多款药物上市在即
生物制剂的问世带领银屑病步入靶向治疗新时代。生物大分子单克隆抗体突破了传统治疗的局限,通过靶向可溶性细胞因子或细胞膜表面受体,为中重度银屑病患者的临床治疗带来了一次疗效革新。
生物制剂治疗银屑病已历经两个时代,第一代生物制剂主要围绕TNF-α(肿瘤坏死因子-α)这一靶点而研发的药品,治疗效果从传统治疗的PASI 50提升至PASI 75。目前,银屑病的治疗已经进入第二代生物制剂药物时代,主要围绕IL-12、IL-17、IL-23等多个靶点。
银屑病治疗生物制剂全球研发阶段分布

图片来源:药融云全球药物研发数据库
据药融云数据库统计,目前全球已获批用于治疗银屑病的生物制剂有78款,国内上市的有31款;其中TNF-α抑制剂以依那西普、英夫利西单抗、阿达木单抗、培塞利珠单抗等为代表,国内专利均已到期且多款生物类似药国内已上市;IL-12/23抑制剂有乌司奴单抗;IL-23抑制剂以古塞奇尤单抗、替瑞奇珠单抗、Risankizumab等为代表;IL-17A抑制剂有司库奇尤单抗、依奇珠单抗、布罗利尤单抗、bimekizumab等;IL-36受体抑制剂有佩索利单抗等。
目前,司库奇尤单抗、依奇珠单抗、乌司奴单抗、古塞奇尤单抗等药物已经相继进入医保目录。此外,用于治疗银屑病的在研生物制剂品种近50款,涉及70余家企业,其中进度最快的是恒瑞医药的夫那奇珠单抗,已于2024年8月27日获批上市,用于治疗适合接受系统治疗或光疗的中重度斑块状银屑病的成人患者;其次进度较快的还有百奥泰生物的BAT-2206(乌司奴单抗类似药)、荃信生物/中美华东的QX001S(乌司奴单抗类似药)、智翔医药的赛立奇单抗、武汉生物所的阿达木单抗生物类似药,均处于申请上市阶段。
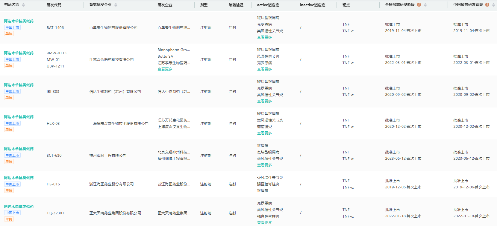
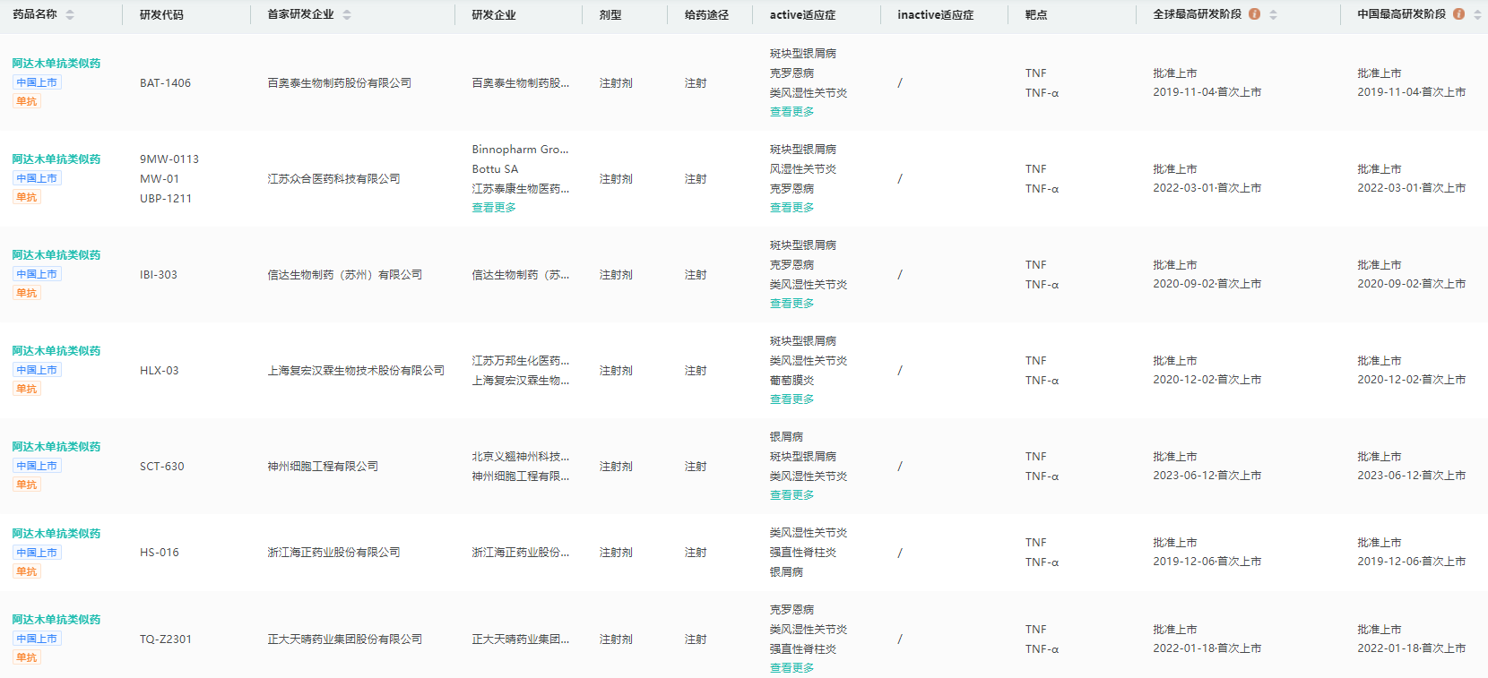
值得一提的是,截至目前,除了原研药外,国内已有7家药企的阿达木单抗生物类似药上市,包括神州细胞、正大天晴、君实生物/迈威生物、复宏汉霖、信达生物、博锐生物和百奥泰。
国内上市的阿达木单抗生物类似药

图片来源:药融云全球药物研发数据库
小分子靶向药竞相登场,研究进展迅速
以单克隆抗体为代表的生物制剂取得很大成功,但是生物制剂等大分子药物难以进入活细胞内发挥作用,因此针对细胞内信号传导通路上的关键分子进行靶向干预的小分子药物,也成为一个新的研究热点。
目前,用于治疗银屑病在研的小分子靶向药物,主要集中在靶向各种炎症细胞因子相关通路(包括与腺苷水解相关的通路、TNF和JAK-STAT通路)中的不同环节,如磷酸二酯酶4(PDE4)、JAK1 ~ 3、TYK2、鞘氨醇-1-磷酸(S1P)受体、维A酸相关孤核受体(ROR)等。
据药融云数据库统计,目前,国内外已有多款针对银屑病发病机制中不同靶点的小分子药物获批上市,包括阿普米司特(PDE4抑制剂)、roflumilast(PDE4抑制剂)、氘可来昔替尼(TYK2抑制剂)、托法替布(第一代JAK抑制剂)、乌帕替尼(第二代JAK抑制剂)等。
另外,也有一些新型小分子靶向药物正在进行银屑病的临床试验,如 Orismilast(PDE4 抑制剂),Zasocitinib(TYK2 抑制剂),Brepocitinib(TYK2/JAK1 抑制剂)、PF-06826647(TYK2/JAK2抑制剂)等,在II期临床中均展示出优异的疗效。
全球获批的银屑病小分子药物查询(部分展示)

图片来源:药融云全球药物研发数据库
阿普米司特片是首款获批用于银屑病的口服靶向小分子药物,由Amgen/Celgene联合开发,最早于2014年获美国FDA批准上市,用于活动性银屑病关节炎成年患者,随后陆续增加用于适合光疗或系统治疗的斑块型银屑病成年患者、以及用于患有白塞氏病相关口腔溃疡的成年患者两项新适应症。
2021年,阿普米司特片(商品名:欧泰乐)在国内上市。此前阿普米司特片已通过谈判进入2022版国家医保,作为乙类药品用于符合接受光疗或系统性治疗指征的中度至重度斑块状银屑病的成人患者。
据药融云数据库统计,目前全球还有50个国产银屑病创新药管线进入临床研发阶段,其中申请上市2个,III期临床7个,II期临床18个,I期临床23个,涉及启元生物、微芯生物、泽璟生物、瑞石生物、诺诚健华、荃信生物、恒瑞医药、正大天晴、明慧医药、文达医药等50多家企业。
银屑病国产创新药临床管线数量TOP10企业

图片来源:药融云全球药物研发数据库
从靶点来看,国产银屑病创新药管线数量最多的靶点集中在TYK2(15个)、JAK1(10个)、IL-17A(8个)、IL-17(6个),其中针对IL-17A靶点的药物进展最快,有2款进入申请上市阶段,5款处于临床III期。从药物类型来看,管线数量最多的集中在化学药,共计33个,占比66%。
结语:
银屑病作为一种复杂且多因素诱发的免疫介导性疾病,其治疗领域正经历着前所未有的变革与快速发展。生物制剂的涌现及其靶向治疗的精准性,极大地提升了中重度银屑病患者的治疗效果与生活质量。同时,小分子靶向药物的研发进展也为银屑病治疗开辟了新的途径,为患者提供了更为便捷和多样的治疗选择。未来,随着更多创新药物的研发,银屑病患者将迎来更多高效、个性化的治疗选择,进一步改善生活质量。
<END>
想要解锁更多药物研发信息吗?查询药融云数据库(vip.pharnexcloud.com/?zmt-mhwz)掌握药物基本信息、市场竞争格局、销售情况与各维度分析、药企研发进展、临床试验情况、申报审批情况、各国上市情况、最新市场动态、市场规模与前景等,以及帮助企业抉择可否投入时提供数据参考!注册立享15天免费试用!








浙公网安备33011002015279
本网站未发布麻醉药品、精神药品、医疗用毒性药品、放射性药品、戒毒药品和医疗机构制剂的产品信息
收藏
登录后参与评论
暂无评论