
4月13日,NMPA发布最新一批药品批准证明文件待领取信息,其中,湖南赛隆药业2款药品通过仿制药一致性评价,分别为注射用胸腺法新和注射用替加环素。同日拿下10亿+免疫调节剂、抗菌药物仿制药过评。



截图来源:NMPA官网
注射用胸腺法新
注射用胸腺法新为多肽类免疫调节剂,用于治疗慢性病毒感染、肿瘤及免疫缺陷病人的辅助治疗,以及作为疫苗增强剂;在乙肝、丙肝、癌症、免疫缺陷等多种疾病方面也有广泛的应用价值。是国家医保乙类目录品种。据药融云统计,2020年该药院内销售额近15亿元。
注射用胸腺法新院内销售情况

截图来源:药融云全国医院销售数据库
注射用胸腺法新生产企业众多,其院内市场主要由原研美国赛生药业、成都地奥九泓制药厂和海南中和药业等占领。目前已有海南双成药业(仿制药首家)、江苏诺泰澳赛诺、扬子江药业、瑞阳制药、深圳翰宇药业、苏州天马医药和此次的湖南赛隆药业通过仿制药一致性过评,另有海南中和药业、上海上药、成都圣诺和朗天药业递交了仿制药一致性评价补充申请。
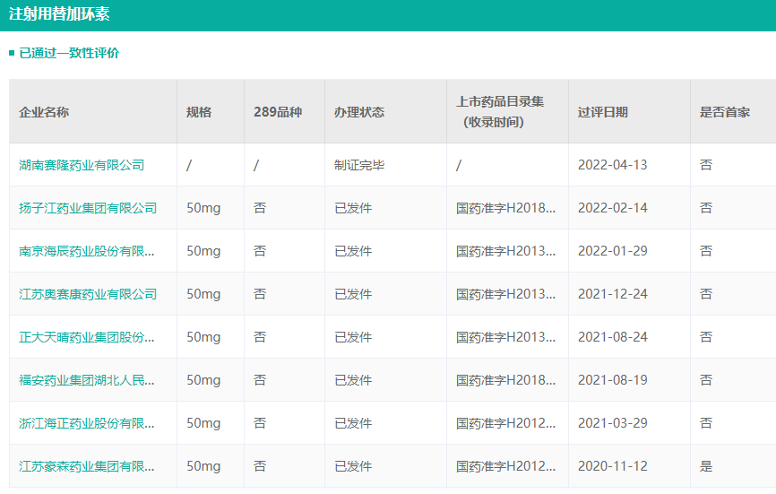
注射用替加环素
替加环素为惠氏制药有限公司研究开发的甘氨酰四环素类抗菌药物,于2005年6月首次在美国上市。2010年11月,注射用替加环素获准进口上市。据药融云统计,2021年前三季度,注射用替加环素便已斩获院内销售额19亿元,同比增长48%,市场还有不少上升空间。
注射用替加环素院内销售情况

截图来源:药融云全国医院销售数据库
目前国内共有包括豪森(仿制药首家)、浙江海正、福安药业在内的共8家企业过评注射用替加环素仿制药,另有南京健友和武汉启瑞药业递交了该品种的上市申请。
注射用替加环素仿制药已过评企业

截图来源:药融云一致性评价数据库
至此,湖南赛隆药业共有8个品种(9品规)通过仿制药一致性评价,其中注射用艾司奥美拉唑钠是以新注册分类获批上市,视同过评。

截图来源:药融云一致性评价数据库
想要解锁更多药企仿制药申报过评信息吗?查询药融云数据库(https://www.pharnexcloud.com/?zmt-mhwz)掌握药企仿制药申报情况、最新进展、审评情况、竞争格局、销售情况、市场规模与前景,可否投入仿制!注册立享15天免费试用和虎年首份医药数据大礼包!

—END—







川公网安备51019002008863号
本网站未发布麻醉药品、精神药品、医疗用毒性药品、放射性药品、戒毒药品和医疗机构制剂的产品信息
收藏
登录后参与评论
暂无评论