
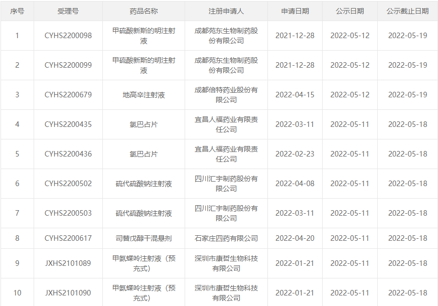
据CDE官网公示,近日共有6款仿制药(10个受理号)的上市申请被纳入拟优先审评品种,分别来自成都苑东生物、成都倍特药业、宜昌人福、四川汇宇制药、石家庄四药和深圳市康哲生物。
仿制药上市申请被纳入拟优先审评品种名单

截图来源:CDE官网
成都苑东生物的甲硫酸新斯的明注射液已纳入《国家药品短缺药品清单》,且为首个申请优先的上市申请。本次申请拟用于重症肌无力,因箭毒(筒箭毒碱)引起的呼吸抑制,术后或产后肠麻痹、胃肠功能障碍、排尿困难等;手术结束时拮抗非去极化肌肉松弛药的残留肌松作用。
药融云数据库显示,甲硫酸新斯的明注射液2021年院内销售额达7.7亿元,其中上海信谊金朱药业市场占比超7成。同时,上海信谊金朱药业也是该品种的仿制药首家过评企业。除成都苑东生物以外,还有太极集团、广州瑞尔医药等递交了甲硫酸新斯的明注射液的仿制药上市申请。
甲硫酸新斯的明注射液院内销售情况

截图来源:药融云全国医院销售数据库
成都倍特药业此次报产的地高辛注射液为儿童新规格(1ml:0.1mg),已被列入第二批《鼓励研发申报儿童药品清单》儿童新品种药物。按优先审评范围“(二)符合儿童生理特征的儿童用药品新品种、剂型和规格”纳入优先审评审批程序。目前该品种尚无企业过评,除成都倍特药业外,还有上海旭东海普药业、成都市海通药业、朗天药业等递交了仿制药上市申请。
宜昌人福的氯巴占片具有抗癫痫作用,属于《精神药品品种目录》第二类精神药品。符合《药品注册管理办法》(国家市场监督管理总局令第27号)第六十八条规定的优先审评审批范围,同意按优先审评范围“(二)符合儿童生理特征的儿童用药品新品种、剂型和规格;(六)国家药品监督管理局规定的其他优先审评审批的情形。”纳入优先审评程序。适用于2 岁及以上Lennox-Gastaut 综合征(LGS)患者癫痫发作的联合治疗。
四川汇宇制药的硫代硫酸钠注射液此次作为“临床急需的短缺药品、防治重大传染病和罕见病的创新药和改良型新药”纳入优先审评审批程序。主要用于氰化物中毒,也可用于砷、汞、铅、铋、碘等中毒。
石家庄四药的司替戊醇干混悬剂与氯巴占和丙戊酸盐联合使用,用于婴儿严重肌阵挛性癫痫(SMEI,Dravet综合征)患者癫痫发作时,氯巴占和丙戊酸盐无法充分控制的难治性全身强直阵挛发作的辅助治疗。按优先审评范围“(二)符合儿童生理特征的儿童用药品新品种、剂型和规格”纳入优先审评程序。
深圳市康哲生物的甲氨蝶呤注射液(预充式)已列入《国家短缺药品清单》,用于治疗对常规疗法不敏感的严重、顽固、致残性银屑病。2020年9月,康哲药业与medac公司签订产品许可协议,从而获得了在大中华区开发和商业化该产品的独家权利。
想要解锁更多药企仿制药信息吗?查询药融云数据库(https://www.pharnexcloud.com/?zmt-mhwz)掌握药企仿制药申报情况、审批信息、最新进展、一致性评价、市场竞争格局、销售情况,市场规模与前景,可否投入!注册立享15天免费试用和虎年首份医药数据大礼包!

—END—







川公网安备51019002008863号
本网站未发布麻醉药品、精神药品、医疗用毒性药品、放射性药品、戒毒药品和医疗机构制剂的产品信息
收藏
登录后参与评论
暂无评论