2025年6月21日是第25个“世界渐冻人日”,也是全球渐冻症患者群体备受关注的时刻。渐冻症(肌萎缩侧索硬化症,ALS)作为一种罕见且致命的神经系统疾病,长期以来困扰着全球数百万患者。据统计,全球约有50万渐冻症患者且还在逐年增长中,全球每年新增约10万人,中国每年新增约2.2万人。
“渐冻症”,即肌萎缩侧索硬化症,是一种以运动神经元退行性变为主的神经系统疾病,目前虽尚无根治方法,但治疗手段不断更新,旨在延缓疾病进展、改善患者生活质量。近年来,不断有关于渐冻症的治疗药物面世,例如利鲁唑(riluzole)、依达拉奉(edaravone)和 Relyvrio(苯丁酸钠和牛磺酸二醇口服固定剂量配方)等,常用药物为利鲁唑和依达拉奉。此外,治疗中除了使用延缓病情发展的药物外,还包括营养管理、呼吸支持、对症和心理治疗等综合治疗。
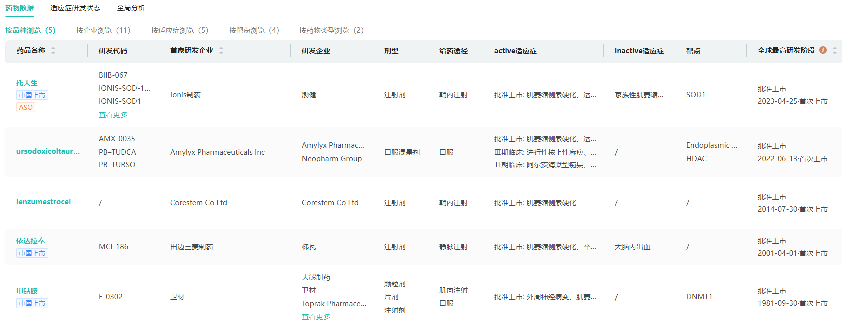
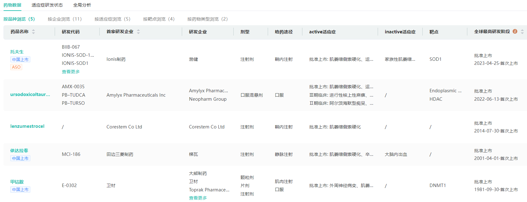
据摩熵医药数据库显示,全球现已获批的渐冻症治疗创新药包括大熊制药及卫材研发的甲钴胺(mecobalamin)、梯瓦的依达拉奉以及渤健的托夫生(tofersen)等5款药物。

截图来源:摩熵医药全球药物研发数据库
全球首个渐冻症精准治疗药物上市,开启“对因治疗”新纪元
2025年6月10日,渤健中国宣布其创新药物托夫生注射液(商品名:凯盛迪™)正式在中国商业上市,意味着我国符合条件的渐冻症患者即将有机会用上这款创新药物。
作为全球首个获批的肌萎缩侧索硬化(ALS,俗称“渐冻症”)精准治疗药物,托夫生注射液于去年9月在中国获批,用于治疗携带超氧化物歧化酶1(SOD1)基因突变的肌萎缩侧索硬化(ALS)成人患者。

截图来源:摩熵医药-全球药物研发数据库
托夫生注射液通过靶向突变SOD1基因产生的mRNA,有效减少毒性SOD1蛋白的合成,从而减轻运动神经元的损伤,减缓疾病进展。这一突破性疗法的上市,标志着渐冻症治疗从“对症治疗”向“对因治疗”的转变,为患者带来了新的希望。
多款在研药物齐头并进,渐冻症治疗前景广阔
据摩熵医药数据库显示,全球范围内针对渐冻症的在研新药超300款,其中约50%为临床前研究。除了托夫生注射液外,多款创新疗法正在加速研发中,例如:
- 小分子药物:HLX99、IFB-088等,通过不同机制抑制疾病进展。
- 基因治疗:RAG-17、BIIB067等,利用AAV载体递送功能基因,实现长期干预。
- 细胞治疗:NurOwn、干细胞移植等,通过移植或激活内源性细胞,提供神经营养支持。
- 这些药物的研发,涵盖了从症状控制到病因干预的多个层面,为渐冻症患者提供了多样化的治疗选择。

截图来源:摩熵医药全球药物研发数据库
多方支持!推动创新药物可及性,关注渐冻症群体
近年来,国家高度重视罕见病防治和创新药发展。2025年政府工作报告提出“制定创新药目录,支持创新药发展”,各地也积极响应并持续优化保障政策。例如,山东省地市层面定制型商业医疗保险罕见病特药目录、“广州穗新保-珠江药安心”创新药械商业健康保险目录均已收载托夫生注射液,进一步提升了渐冻症患者对创新药物的可及性。此外,渤健中国等医药企业也积极与政府、医疗机构、患者组织等各方协作,共同推动创新疗法的研发、审批和上市,让更多患者受益。
在世界渐冻人日之际,社会各界也都纷纷行动了起来,为渐冻症患者群体募集善款、传递关爱。6月17日,第八届“唯爱解冻”公益跑在全国范围内启动,通过线上线下相结合的公益跑形式,动员社会爱心力量为渐冻人群体募集善款。活动现场,一桶桶冰水向挑战者洒下,重现2014年风靡全球的“冰桶挑战”场景,致敬当年引发社会关注的公益行动。多家爱心企业代表现场捐赠,以实际行动践行社会责任。此外,多家医疗机构和科研团队也积极开展渐冻症的宣传教育活动,提高公众对渐冻症的认知度,增强患者的规范性治疗意识。

图片来源:中国社会福利基金会官网
结语
随着医药行业的不断突破与创新,渐冻症的治疗前景正逐渐明朗。未来,随着更多创新疗法的涌现和政策的持续支持,渐冻症患者有望获得更加精准、有效的治疗。同时,社会各界也应继续关注渐冻症群体,传递爱与希望,共同推动渐冻症防治事业的发展。
在这个特殊的日子里,让我们共同为渐冻症患者群体送上最真挚的祝福和关爱。相信在不久的将来,渐冻症这一顽疾终将被攻克,患者们将重获健康与自由。







川公网安备51019002008863号
本网站未发布麻醉药品、精神药品、医疗用毒性药品、放射性药品、戒毒药品和医疗机构制剂的产品信息
收藏
登录后参与评论
暂无评论