
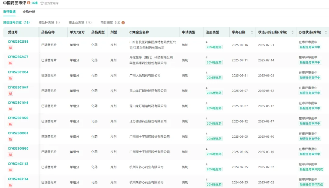
7月30日,CDE官网显示,华润双鹤药业股份有限公司按化药注册分类4类申报的巴瑞替尼片上市申请已获受理。据摩熵医药数据库显示,该品种全球市场规模近10亿美元,国产第2家争夺战已经打响。

截图来源:CDE官网
巴瑞替尼(Baricitini)是一种免疫系统用药,属于酪氨酸蛋白激酶(JAK)1/2抑制剂,由礼来与Incyte公司联合开发,用于治疗特应性皮炎、类风湿性关节炎和重度斑秃等相关疾病。

截图来源:摩熵医药全球药物研发数据库
该药最早于2017年获得EMA批准上市,同年7月获PMDA批准。2018年,FDA也批准了巴瑞替尼的上市申请。
从全球市场表现来看,巴瑞替尼自上市后销售额持续增长,2022年虽下滑至8.3亿美元,但同年6月其斑秃适应症获FDA批准,成为首个治疗斑秃的 JAK抑制剂。此后销量回升,2023年达9.23亿美元,2024年增至9.57亿美元,这一稳健增长曲线充分体现了该药物在全球市场的强劲需求。

截图来源:摩熵医药全球药物研发数据库
在国内市场,巴瑞替尼于2019年7月获批上市,并纳入2020版国家医保目录,适应症涵盖类风湿性关节炎与斑秃,同样展现出良好的市场前景。
摩熵医药数据显示,巴瑞替尼当前院内总销量达8.29亿元,2023年销售额3.29亿元,同比暴增114.35%,2024年为2.52亿元。












浙公网安备33011002015279
本网站未发布麻醉药品、精神药品、医疗用毒性药品、放射性药品、戒毒药品和医疗机构制剂的产品信息
收藏
登录后参与评论
暂无评论