在市场竞争格局中,上海医药集团以42.18%的市场份额稳居领先地位,青阳药业和广州康和药业紧随其后,分别位列第二和第三。值得注意的是,尽管北京市燕京药业的市场份额为2.06%,但它依然展现出了持续参与和强大的竞争力。

截图来源:摩熵医药全国院内销售数据库
然而,部分不法商家却利用别嘌醇片的庞大市场需求实施垄断行为,导致药品价格暴涨,市场陷入混乱。针对这一现象,国家医保局多次发出警示并处罚相关企业,但今年1月仍发现单片价格从几毛钱暴涨至近4元,涨幅惊人。尽管相关企业已受到处罚,但药品价格依然居高不下。
为此,国家医保局迅速采取行动,指导浙江省医保局约谈九家生产企业。其中2家企业主动下调偏高价格,最低降至0.98元/片,但仍有七家企业价格高昂。
为了有效解决这一问题,浙江省医保局创新性地实施了小单元开放式竞价机制,通过公开竞价的方式淘汰高价者,确保药品价格的合理性。此次暂停采购资格,是对不合规企业的严厉处罚,旨在维护医药采购的规范性和公众的用药安全。
百亿痛风药市场,别嘌醇片多家药企竞相布局
据Frost&Sullivan的数据显示,全球痛风药物市场正经历快速增长,2020年市场规模已达26亿美元,预计到2025年将飙升至70亿美元;而中国痛风药物市场同样展现出强劲的增长势头,2020年市场规模为28亿元,预计到2030年将突破100亿元大关。据摩熵医药数据库显示,2024年(Q1~Q3)抗痛风药(中药和化学或生物药)销售总额超7亿元,同比增长达8.36%,这一趋势为别嘌醇片这一痛风治疗常用药提供了广阔的市场空间。

截图来源:摩熵医药全国院内销售数据库
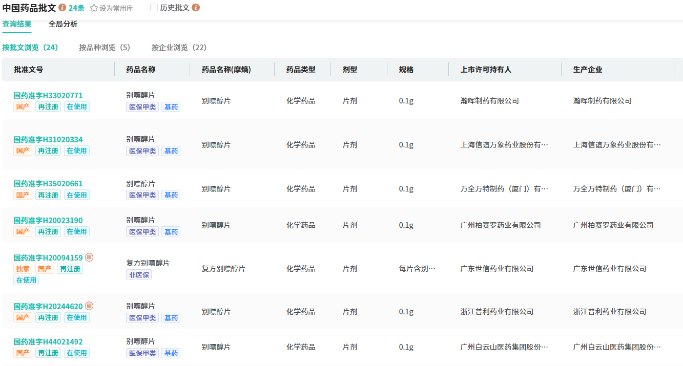
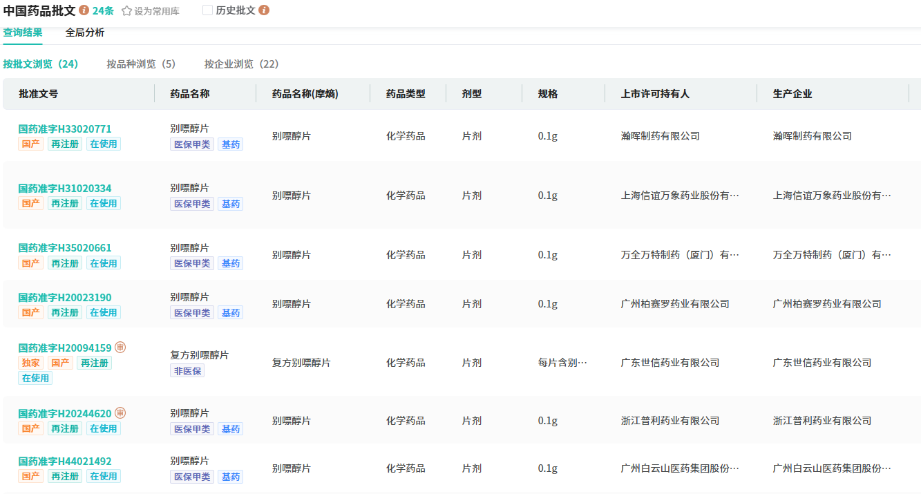
尽管痛风药物市场相对小众,但患者基数庞大,为别嘌醇片的销售带来了巨大潜力。在国内药品市场,别嘌醇片剂型多样,包括片剂、缓释片、缓释胶囊等,且获批生产的企业超20家,包含上海信谊万象药业、成都倍特药业、华润双鹤药业、瀚晖制药等,市场竞争异常激烈。

截图来源:摩熵医药中国药品批文数据库
此外,在别嘌醇片的国内仿制药市场布局方面,已有四家制药企业——安徽圣鹰药业、江苏德源药业、白云山东泰商丘药业以及石家庄四药,提交了第3类仿制药的申请,目前这些申请均处于审评审批阶段。未来有望为别嘌醇片市场注入新的活力。
小结
此次6款别嘌醇片被停采的事件,不仅对相关药企造成了直接影响,也再次凸显了医药采购规范性和公平性的重要性。医保局的迅速行动和有力措施,为清除市场乱象、保障公众用药安全提供了有力支撑。同时,随着痛风药物市场的快速增长和别嘌醇片市场的不断扩大,更多药企将积极参与其中,市场竞争将更加激烈。未来,如何保持市场规范、促进公平竞争、推动行业健康发展,将是医药行业面临的重要课题。
想要解锁更多药品信息吗?查询摩熵医药(原药融云)数据库(vip.pharnexcloud.com/?zmt-mhwz)掌握药品各国上市情况、药品批文信息、销售情况与各维度分析、市场竞争格局、一致性评价情况、集采中标情况、药企申报审批信息、最新动态与前景等,以及帮助企业抉择可否投入时提供数据参考!注册立享15天免费试用!

收藏
登录后参与评论
暂无评论