盐酸尼卡地平氯化钠注射液属于选择性钙拮抗剂,通过阻断血管平滑肌细胞膜上的钙离子通道,抑制细胞外钙离子内流,从而发挥扩张血管、降低血压的作用。作为国内急诊降压领域的重要药物,该产品适用于手术时异常高血压的紧急处理及高血压急症的短期治疗,尤其对不宜或无法口服药物的患者具有显著临床价值。
此次石四药的盐酸尼卡地平氯化钠注射液(200ml)获国家药监局批准上市并视同通过一致性评价,成为了国内首家过评企业。此前,苑东生物曾于2022年以仿制4类报产盐酸尼卡地平注射液(非氯化钠配方)并首家过评,而石家庄四药此次获批的氯化钠配方注射液,进一步丰富了临床用药选择。

截图来源:摩熵医药中国药品审评数据库
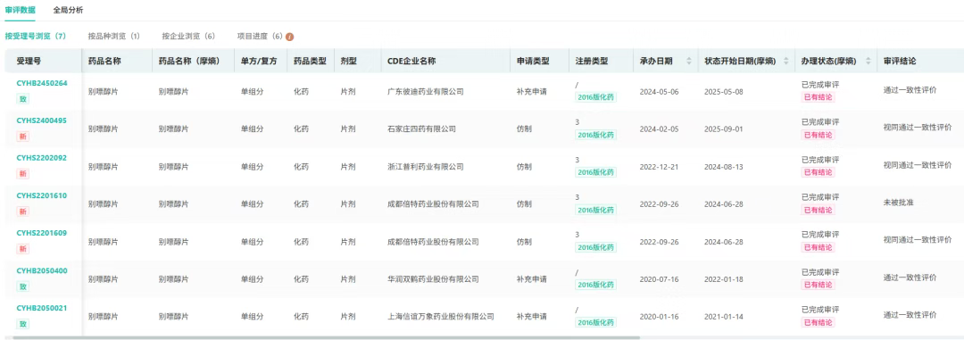
别嘌醇片作为国家基药和医保甲类药品种,在痛风治疗领域应用广泛。它可用于原发性和继发性高尿酸血症、反复发作或慢性痛风、痛风石、尿酸性肾结石和/或尿酸性肾病、有肾功能不全的高尿酸血症等多种病症的治疗。
此前,上海信谊万象药业、华润双鹤、浙江普利药业等6家企业先后获批过评(含视同过评),石家庄四药的获批,进一步丰富了市场上的药品选择,为患者提供了更多的治疗机会。

截图来源:摩熵医药中国药品审评数据库
盐酸屈他维林注射液是一种解痉药,具有独特的作用机制。屈他维林为异喹啉衍生物,通过抑制磷酸二酯酶IV发挥平滑肌解痉作用,能使肌球蛋白轻链(MLCK)失活,导致cAMP浓度升高,从而缓解平滑肌痉挛引起的疼痛。体外酶试验研究显示,屈他维林可抑制磷酸二酯酶IV,而不抑制磷酸二酯酶V和III。
该产品针对的适应症广泛,包括胆道疾病(胆囊/胆管结石、胆囊/胆管炎等炎症)相关的平滑肌痉挛;泌尿系统疾病(肾/输尿管结石,肾盂/膀胱炎等炎症)所致的平滑肌痉挛;还可用于胃肠道疾病(如胃和十二指肠溃疡、胃炎/肠炎/结肠炎等炎症)所致的平滑肌痉挛及缓解痛经所引发的疼痛。目前,中国只有少数几家企业获批生产该产品,石家庄四药的加入,将为中国患者带来更多的用药选择。
值得一提的是,此次四款药品同日获批是石家庄四药“原料药+制剂”一体化战略的重要成果。2023年5月,集团旗下河北广祥制药获批乌拉地尔原料药;2025年3-8月,盐酸尼卡地平、别嘌醇、盐酸屈他维林原料药相继获批,为药品生产提供了稳定的原料保障。
想要解锁更多药物研发信息吗?查询摩熵医药(原药融云)数据库(vip.pharnexcloud.com/?zmt-mhwz)掌握药物基本信息、市场竞争格局、销售情况与各维度分析、药企研发进展、临床试验情况、申报审批情况、各国上市情况、最新市场动态、市场规模与前景等,以及帮助企业抉择可否投入时提供数据参考!注册立享15天免费试用!

收藏
登录后参与评论
暂无评论