
近日,华润双鹤 喜讯连连。
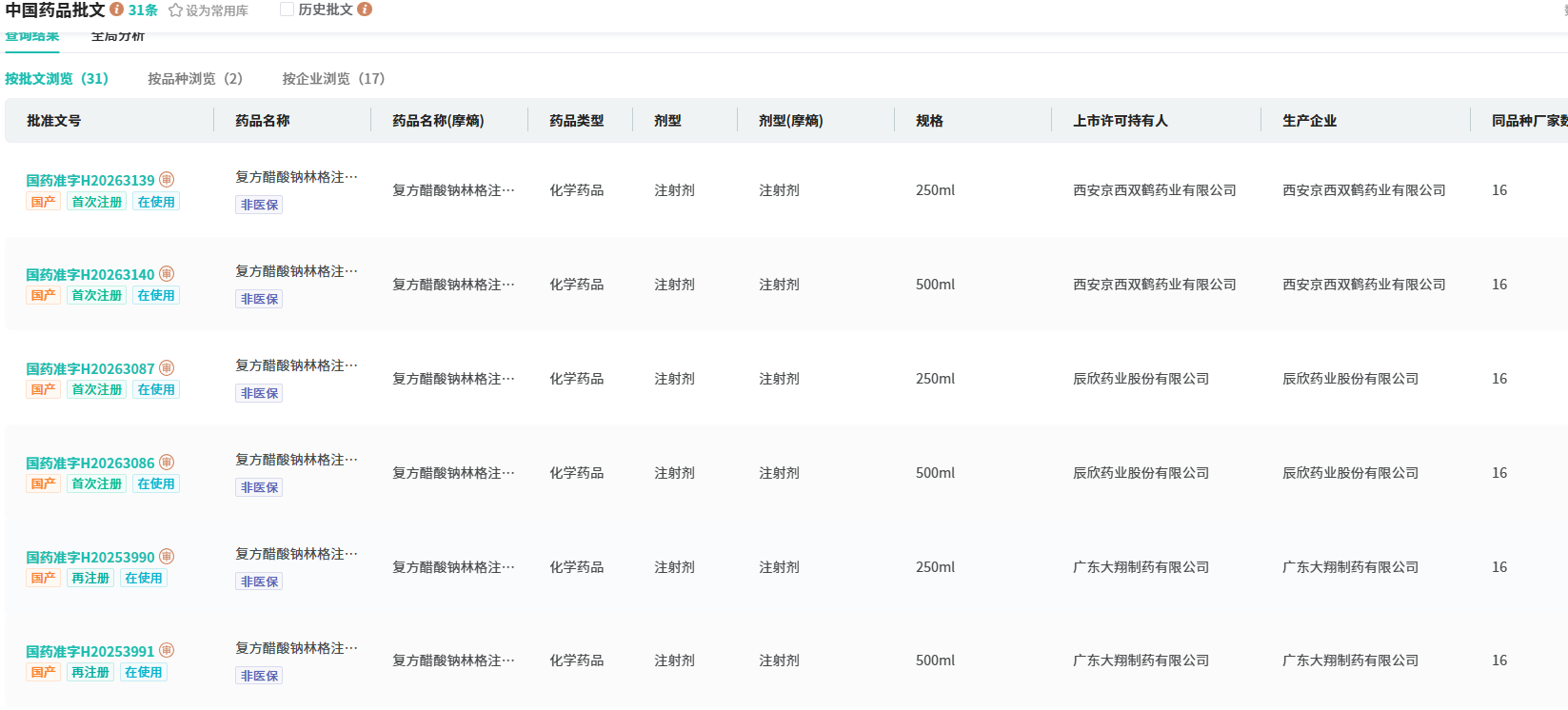
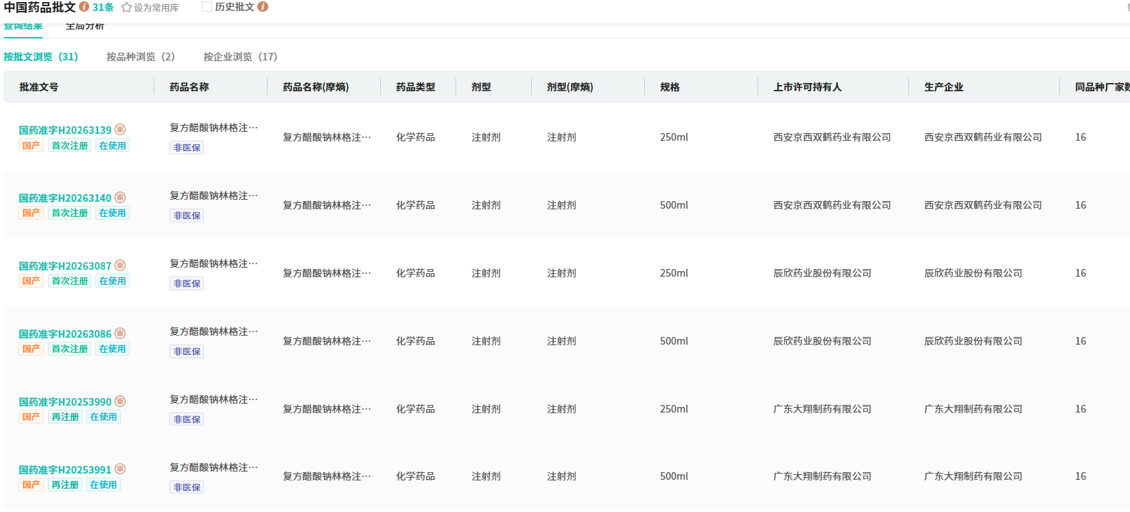
1月26日,华润双鹤申报的3类仿制药 复方醋酸钠林格注射液 获批生产并视同过评;1月20日,华润双鹤提交的4类仿制药 口服用苯丁酸甘油酯 上市申请获CDE正式承办,且该品种目前国内仅有原研获批,属独家品种。

查数据,找摩熵!图源:摩熵医药-中国药品审评数据库
斩获超11亿元大品种,市场潜力持续释放
复方醋酸钠林格注射液(钠钾镁钙葡萄糖注射液)为复方制剂,含氯化钠、氯化钾、氯化镁、枸橼酸钠、醋酸钠、葡萄糖酸钙等成分,主要用于循环血量及组织间液减少时细胞外液补充,以及代谢性酸中毒的纠正。据 摩熵医药数据库 显示,该品种在2024年全终端医院市场销售总额超11亿元,2025年前三季度销售额超8亿元,市场潜力持续释放。











川公网安备51019002008863号
本网站未发布麻醉药品、精神药品、医疗用毒性药品、放射性药品、戒毒药品和医疗机构制剂的产品信息
收藏
登录后参与评论
暂无评论