在这一背景下,兼具疗效优势和多适应症支撑的布瑞哌唑片,被业界视为下一个10亿级品种,国内药企争相申报,剑指“首仿+过评”双重红利。
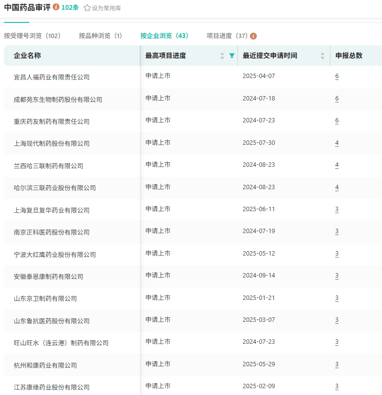
截至目前,已有43家药企提交了布瑞哌唑片的仿制上市申请,其中多数企业采取三个规格同步申报的策略。

截图来源:摩熵医药中国药品审评数据库
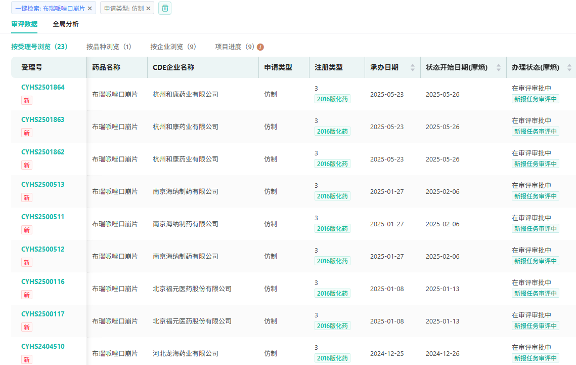
布瑞哌唑口崩片申报仿制上市并在审的国内药企也有9家。纵观仿制竞争情况,该品种的首仿竞争已进入白热化阶段。

截图来源:摩熵医药中国药品审评数据库
值得一提的是,大冢制药关于布瑞哌唑的核心化合物专利(CN103153959B)将于2026年3月到期。石药集团欧意药业早在2022年便启动BE试验,并于2024年11月完成生物等效性研究。若此次申报按优先审评通道推进,有望在2026年上半年获批上市,与原研专利到期实现无缝衔接。

截图来源:摩熵医药中国临床试验数据库
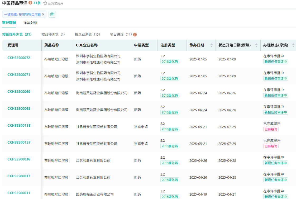
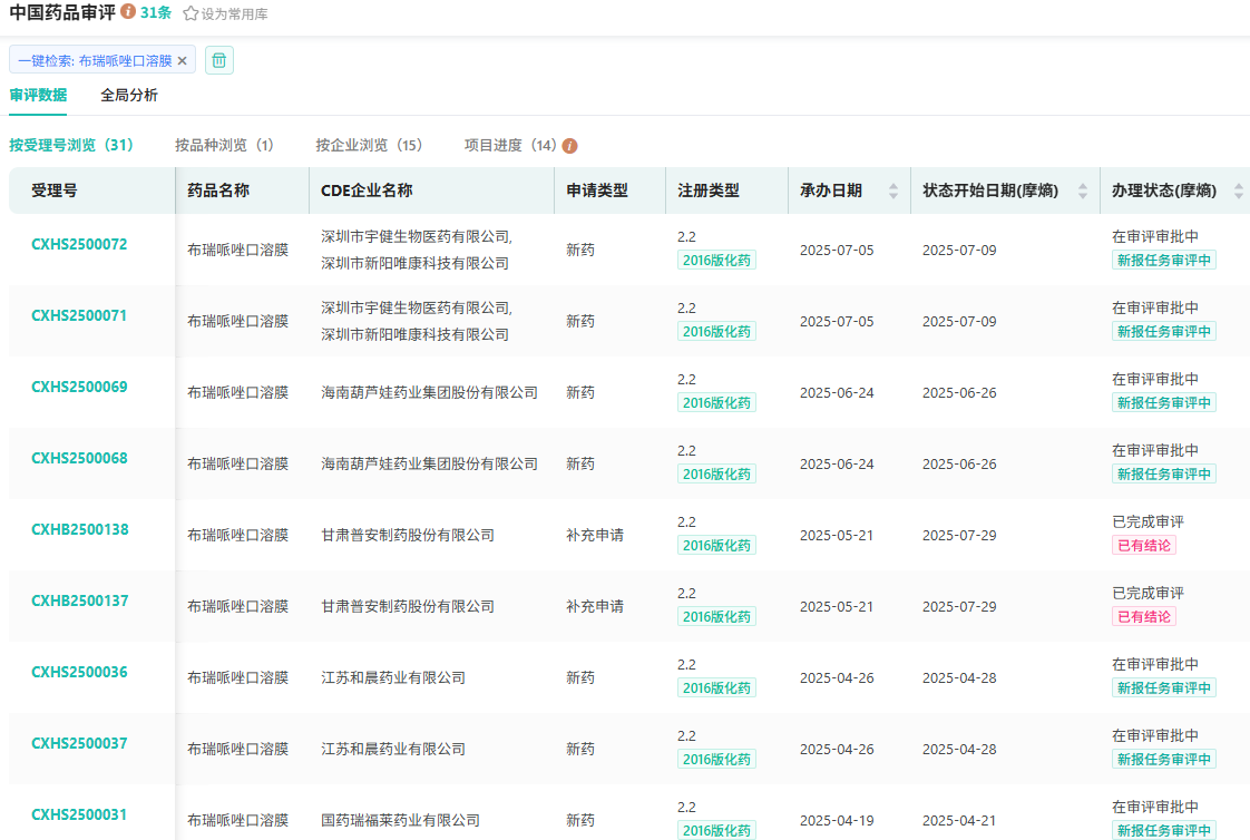
除仿制药外,布瑞哌唑的2.2类改良型新药申报同样活跃。
目前已有包括科伦药业、齐鲁制药、葫芦娃药业在内的15家企业布局布瑞哌唑口溶膜,部分企业已进入上市申请阶段。

截图来源:摩熵医药中国药品审评数据库
朗诺制药于2025年初提交的布瑞哌唑口服混悬液上市申请正在审评中,该剂型通过提高药物分散度优化了生物利用度。

截图来源:摩熵医药中国药品审评数据库
此外,科伦药业开发的布瑞哌唑长效注射剂亦处于临床试验阶段。另有绿叶制药等已布局布瑞哌唑微球技术平台,齐鲁制药通过纳米晶专利抢占技术高地,鲁南贝特制药布局了布瑞哌唑口服溶液,都属于2.2类改良。

截图来源:摩熵医药中国药品审评数据库
面对这一重磅品种,更多竞争者还在涌入。基于现有审批进度判断,未来两年布瑞哌唑将集中获批,市场竞争迅速由“蓝海”转向“红海”。
小结
布瑞哌唑片的首仿争夺,既是企业技术实力的交锋,更是供应链效率与市场准入能力的综合较量。这场超40家药企竞逐首仿的较量,不仅会推动布瑞哌唑这一品种的市场格局发生深刻变化,更可能将改写国内抗精神病药物市场的格局。
想要解锁更多疾病领域息吗?查询摩熵医药(原药融云)数据库(vip.pharnexcloud.com/?zmt-mhwz)掌握药物基本信息、市场竞争格局、销售情况与各维度分析、药企研发进展、临床试验情况、申报审批情况、各国上市情况、最新市场动态、市场规模与前景等,以及帮助企业抉择可否投入时提供数据参考!注册立享15天免费试用!

收藏
登录后参与评论
暂无评论