
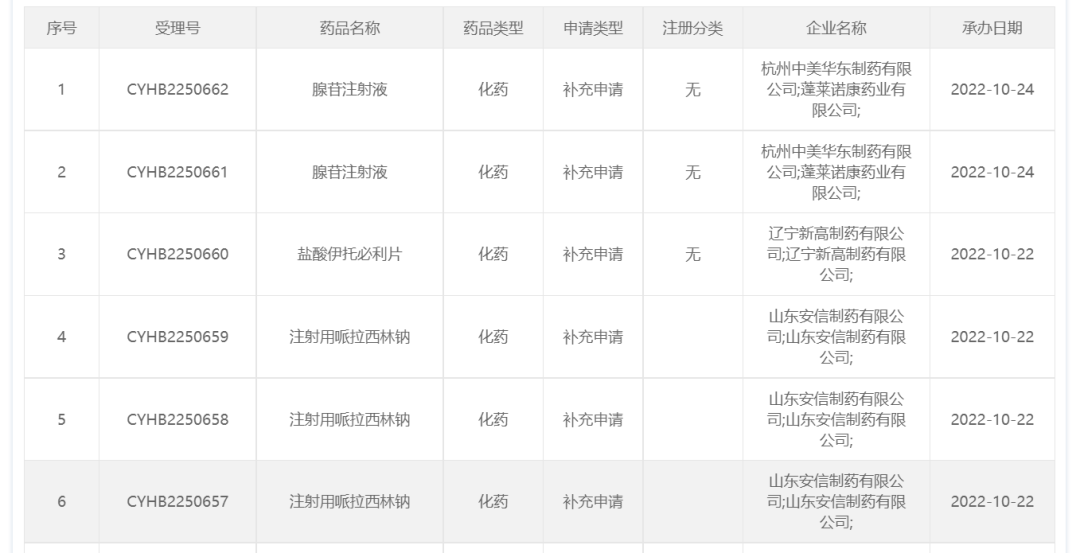
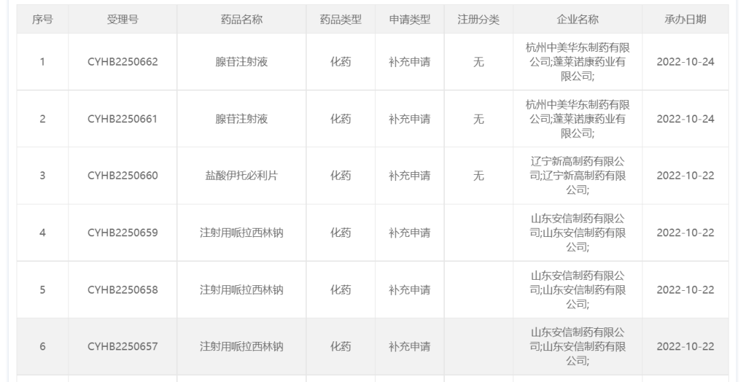
10月22日-24日,CDE共承办了6个(3品规)一致性评价补充申请,分别为:
- 杭州中美华东制药有限公司,2品规腺苷注射液
- 辽宁新高制药有限公司,盐酸伊托必利片
- 山东安信制药有限公司,3品规注射用哌拉西林钠


截图来源:CDE官网
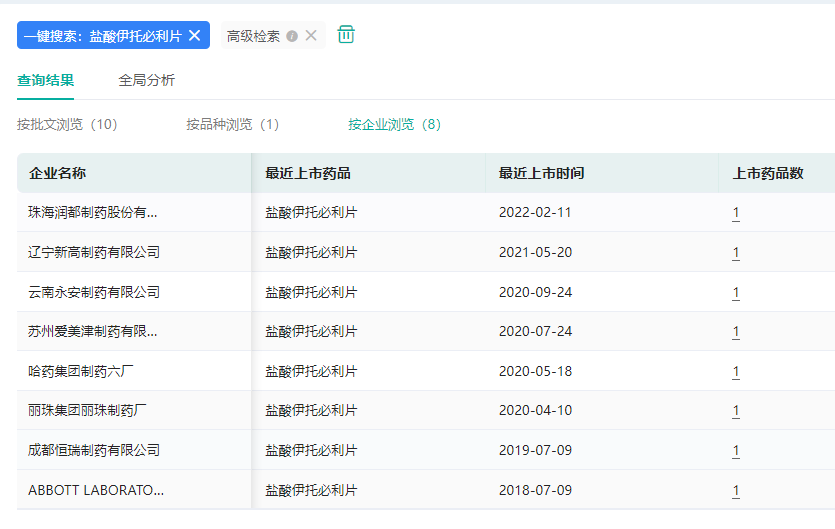
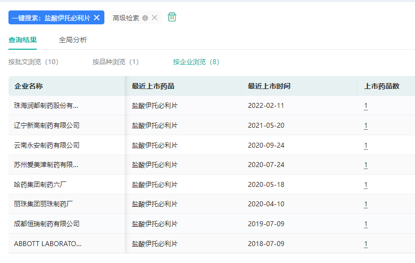
其中,盐酸伊托必利片是一种促胃肠动力药,适用于功能性消化不良引起上腹不适、恶心呕吐等症状。目前已有成都恒瑞制药、丽珠集团丽珠制药厂、辽宁新高制药以及珠海润都制药等7家国企获批上市。但在一致性评价方面,仅一家获批:2020年8月,珠海润都制药首家提交盐酸伊托必利片的上市申请,并于2022年2月获批,视同通过一致性评价,为目前国内唯一一家过评企业。辽宁新高制药早前于2021年5月20日已拿下了盐酸伊托必利片的药品批文,此次向CDE递交的则为该亿元促胃肠动力药的仿制药一致性评价补充申请。
盐酸伊托必利片获批上市企业情况(微信搜索"药融云小程序"进行相关更多数据查询)

截图来源:药融云中国药品批文数据库
据药融云统计,盐酸伊托必利近年来在我国院内的市场趋于稳定,年销售量保持在一亿元以上,其中销售峰值在2021年,市场规模达到1.96亿。药融云全国医院销售数据库于近期更新了2022年Q2的药品销售额,由下图可见该药今年H1已有0.98亿元,与去年同期基本持平。其中,片剂为市场主力品种,盐酸伊托必利片(52.92%)与盐酸伊托必利分散片(42.19%)瓜分大部分院内市场。在生产企业方面,国企与外企分庭抗衡,雅培(41.84%)VS迪沙药业(42.19%)势均力敌,其他国企有待发力。
盐酸伊托必利院内销售情况

截图来源:药融云全国医院销售数据库
另外经查询,除辽宁新高制药外,另有云南永安制药、迪沙药业集团的盐酸伊托必利片一致性评价补充申请也处于在审评审批状态。国产第二家或将从中决出。
盐酸伊托必利片一致性评价申报情况

截图来源:药融云一致性评价数据库
参考来源:
[1]CDE官网
[2] 药融云数据库
想要解锁更多仿制药信息吗?查询药融云数据库(vip.pharnexcloud.com/?zmt-mhwz)掌握仿制药国内市场格局、上市情况、一致性评价、销售情况与各维度分析、企业申报情况、国家审批最新进展、集采情况、价格信息、市场规模与前景等,以及帮助企业抉择可否投入时提供数据参考!注册立享15天免费试用!

<END>







川公网安备51019002008863号
本网站未发布麻醉药品、精神药品、医疗用毒性药品、放射性药品、戒毒药品和医疗机构制剂的产品信息
收藏
登录后参与评论
暂无评论