
近日,安徽省医药集中采购平台发布了《关于公布安徽省2022年度部分化学药品及生物制剂集采中选结果的通知》,历时3个月的安徽省药品集采中选结果终于出炉。
一、37个品种中选,生物药集采再掀热潮
此前,在安徽省医药集中采购平台发布的《关于安徽省2022年度部分化学药品及生物制剂集中采购开展最终报价及谈判的通知》中公布了综合评价得分汇总表,共有115个企业的154个药品产生有效报价,其中30个药品入围谈判,77个药品入围最终报价。
最终,2022年度安徽省药品集采共有37个品种53个品规中选,涉及生产企业38家。其中,共纳入23个注射剂,占比62%,12个口服制剂以及2个外用制剂。
安徽省2022年度部分化学药品及生物制剂
集中采购中选结果汇总表(公布版)

本次集采中选化学药有31个,生物药6个,分别是复宏汉霖生物的利妥昔单抗注射剂、华润昂德生物的(重组)人促红素注射剂、上药信谊的双歧杆菌三联活菌制剂口服剂、华润昂德生物/齐鲁制药的(重组)人白介素-11注射剂、石药集团/齐鲁制药的聚乙二醇化(重组)人粒细胞刺激因子注射剂、九源基因/齐鲁制药的(重组)人粒细胞刺激因子注射剂。
值得一提的是,目前多省市集采陆续纳入生物药,集采“无禁区”,生物药集采再掀热潮。本次中选的双歧杆菌三联活菌制剂口服剂,是上药信谊的独家止泻药,主要用于治疗菌群失调引起的各类急慢性腹泻、腹胀,以及用于便秘和肝病的辅助治疗。其特有的BLE三种有益菌(长型双歧杆菌、嗜酸乳杆菌、粪肠球菌)的科学组合,在人体内的安全性、稳定性更强。
双歧杆菌三联活菌(培菲康)是上药信谊的明星产品,也是国内首创的双歧三联活菌制剂,拥有中国、美国、英国、澳大利亚、新加坡、加拿大等多国发明专利,自1995年正式上市以来,共计超过800万人次的患者服用了该产品,适用人群涵盖婴儿至老人,其疗效得到了广泛确认,成为国内微生态制剂的领头羊。本次集采中选后将继续巩固其市场主导地位。
近年来,生物类似药迅速发展,包括阿达木单抗、贝伐珠单抗、利妥昔单抗、曲妥珠单抗等在内的多个生物类似药已有多家药企获批。除安徽省之外,福建、河北等多省集采均出现生物药的影踪,越来越多省采将生物药纳入试点,生物药已然成为集采目录的“标配”。
二、齐鲁、恒瑞、正大天晴突围,过亿市场将洗牌
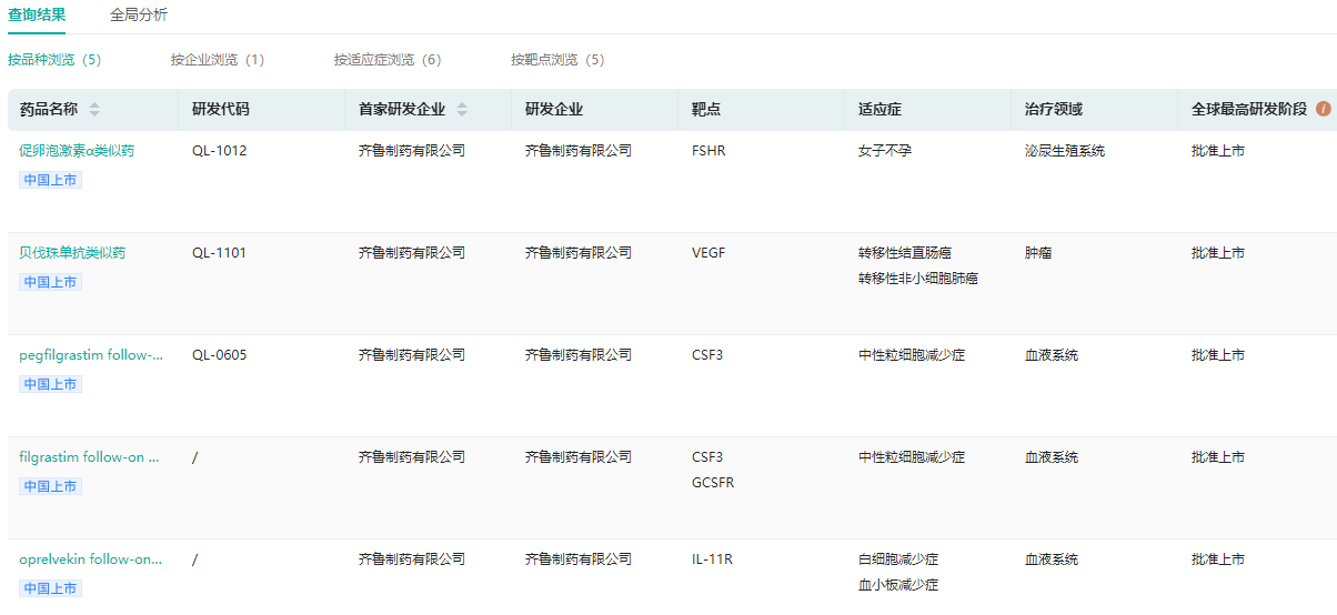
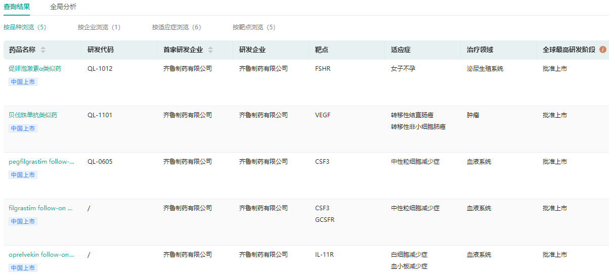
本次安徽省药品集采,齐鲁制药有3款生物药中选,在生物类似药的开发方面,齐鲁制药于2019年12月正式获批上市了国内首个贝伐珠单抗生物类似药(安可达),至今已有5款生物类似药产品获批上市。
齐鲁制药获批上市的生物类似药(微信搜索"药融云小程序"进行相关更多数据查询)

图片来源:药融云全球药物研发数据库
除此之外,齐鲁制药中选的还有艾地苯醌口服常释剂。艾地苯醌是目前临床应用最有效的抗氧化剂之一,它是辅酶Q10的合成类似物。在临床上主要用于治疗与氧化压迫有关的中枢神经系统退化疾病,如阿尔茨海默病(AD)、多梗死性痴呆、大脑局部贫血及脑衰等;也用于线粒体功能异常引起的疾病,如弗里德赖希共济失调症(FRDA)、莱伯氏遗传性视神经病变(LHON)和杜氏肌营养不良症(DMD)等的治疗。
据药融云数据库统计,目前艾地苯醌(片剂)全国只有齐鲁制药和海王药业两个生产厂家,并且这些年的销售规模一路高歌猛进,2021年医院端市场的总销售额接近8亿元;齐鲁制药占据超70%的市场份额。
艾地苯醌医院端销售年度趋势

图片来源:药融云全国医院销售数据库
南京正大天晴也有3个独家中选品种,分别是阿扎司琼注射剂、地奥司明口服常释剂、羟乙基淀粉130/0.4氯化钠注射剂。盐酸阿扎司琼注射液是一款止吐剂,止吐药不仅在消化类药物中占据重要地位,更重要的是临床上抗肿瘤化疗、外科手术治疗中常用的止吐的用药。目前国内布局这个领域的企业众多,排名靠前的有海思科、齐鲁制药、西南药业、瑞阳制药、正大天晴、扬子江药业等。
地奥司明是一种临床应用五十年之久的经典药物,是一种广泛存在于水果中的天然黄酮糖苷类化合物,其具有保护血管、提高静脉张力、增加淋巴回流和改善毛细血管的通透性等药理活性,在慢性静脉功能不全、静脉溃疡和痔疮的治疗中被广泛应用,受到国内外指南的一致推荐。2021年地奥司明片在医院端的销售额为4.77亿元,同比增长26.6%;南京正大天晴占据近70%的市场份额。
地奥司明片医院端销售年度趋势

图片来源:药融云全国医院销售数据库
羟乙基淀粉130/0.4氯化钠注射液为血容量扩充剂,常用于治疗和预防血容量不足,急性等容血液稀释(ANH),为国家基药(2018版)、国家医保乙类品种。药融云数据库显示,2021年其在医院终端的销售规模达到7.54亿元,同比下降7.39%;南京正大天晴为该品种TOP2生产厂家,占据19%的市场份额。其他竞争企业还有华仁药业、齐都药业、威高药业、北大医药、华鲁制药等。
羟乙基淀粉130/0.4氯化钠注射液医院终端竞争格局

图片来源:药融云全国医院销售数据库
江苏恒瑞医药也有1款药品突围中选——碘佛醇注射剂。据药融云数据库显示,目前国内除原研产品外,仅有恒瑞医药一家获批生产并通过仿制药一致性评价(豪森药业的批准文号已过期),同时拥有其原料药生产批件。
碘佛醇、碘克沙醇为恒瑞医药的两大造影剂产品。据药融云全国医院销售数据库显示,碘佛醇注射液2021年在医院端的销售规模达到21.97亿元,同比增长27.05%;其中恒瑞医药占据超90%的市场份额。碘克沙醇注射液2021年医院端的销售规模为43.61亿元,同比增长8.12%;其竞争企业有恒瑞医药、通用电气、扬子江药业、南京正大天晴、司太立制药等。
碘克沙醇注射液医院端的竞争格局

图片来源:药融云全国医院销售数据库
三、结语:
从采购规则的不断完善,到采购覆盖范围及深度越来越大,可以预见,未来越来越多的药品种类会被纳入集采中,让人民群众切实享受到集采红利。如果您想要查询各省药品带量采购更多详情,可登录“药融云药品集中采购数据库”,帮助您一览整个报量、中标以及供应的结果,评估产品的竞争力和集采资格,是药品采购新形势下医药企业进行价格决策必不可少的助力工具。
想要解锁更多药品信息吗?查询药融云数据库(vip.pharnexcloud.com/?zmt-mhwz)掌握药品各国上市情况、药品批文信息、销售情况与各维度分析、市场竞争格局、药企申报审批信息、最新动态与前景等,以及帮助企业抉择可否投入时提供数据参考!注册立享15天免费试用!

<END>







川公网安备51019002008863号
本网站未发布麻醉药品、精神药品、医疗用毒性药品、放射性药品、戒毒药品和医疗机构制剂的产品信息
收藏
登录后参与评论
暂无评论