近日,礼来制药宣布,艾乐明(巴瑞替尼片)正式获得中国国家药品监督管理局(NMPA)批准,用于成人重度斑秃的系统性治疗。
本次获批主要是基于BRAVE-AA1和BRAVE-AA2两项Ⅲ期临床试验的结果。研究结果显示,在接受4mg巴瑞替尼治疗的患者中,39%的患者头发再生显著,头皮毛发覆盖率高达80%以上这些患者中接近75%达到头皮毛发覆盖90%以上,而且超过四成患者的眉毛和睫毛完全再生或没有明显缺失。
巴瑞替尼临床试验信息查询

图片来源:药融云中国临床试验数据库
巴瑞替尼(baricitinib,英文商品名:Olumiant)是礼来和Incyte公司联合开发的口服JAK抑制剂,它已经在数十个国家和地区获批用于治疗类风湿性关节炎和中重度特应性皮炎。药融云数据库显示,自上市以来,巴瑞替尼的销售额持续增长,2020年的全球销售业绩为6.38亿美元,同比增长50%;2021年为11.15亿美元,同比增长74.5%,市场表现优秀。
巴瑞替尼也是国内首个且目前唯一用于系统性治疗重度斑秃的创新靶向药物,可帮助患者获得显著的毛发再生,对头发、眉毛、睫毛等区域具有持续性的改善作用,此次在国内的成功获批,填补了中国重度斑秃患者迫在眉睫的疾病治疗需求,也为医生带来了新的临床药物选择。
巴瑞替尼片审评时间轴(获批进口耗时439天)

图片来源:药融云中国药品审评时间轴
斑秃(alopecia areata, AA),俗名鬼剃头,典型临床表现为毛发斑片状脱落,呈现圆形或椭圆形、边界清晰的脱发斑片,可影响任何毛发生长区域,包括头发、眉毛、睫毛,部分患者可有指(趾)甲变化。近年来斑秃的患病率呈现逐年升高的趋势,严重者进展为全秃或普秃。
据统计,全球大约有1-2%的人口患有斑秃,中国约有400万患者。斑秃症状经常在儿童时期就会首次发作,任何年龄、性别和种族的人群都可能患上斑秃,但男性比女性更容易患病。目前,斑秃的治疗手段有限,尚无特效治疗的获批药物。
全球斑秃治疗药物研发信息(部分,欢迎登陆“药融云数据库www.pharnexcloud.com/?mh”查看更多)

图片来源:药融云全球药物研发数据库
一、斑秃治疗药物——JAK抑制剂
研究表明,斑秃是一种由免疫介导的过程引起的自身免疫性疾病,由于参与斑秃发病机制的许多细胞因子都依赖于JAK-STAT信号传导,如IL-2、IL-7、IL-15、IL-21和IFN-γ,因此JAKSTAT被认为是斑秃治疗中有吸引力的一个信号通路。
药融云数据库显示,目前全球已有数款JAK抑制剂在治疗斑秃的临床试验中取得积极结果。比如辉瑞的ritlecitinib(PF-06651600),已处于申请上市阶段,先后于2018年9月获得FDA授予治疗斑秃的突破性疗法认定,2022年11月获得NMPA授予治疗斑秃的优先审评资格。
ritlecitinib不同适应症研发详情(部分)

图片来源:药融云全球药物研发数据库
Ritlecitinib的临床试验显示,在治疗斑秃患者的2b/3期ALLEGRO临床试验中获得积极顶线结果。治疗6个月后,ritlecitinib组头皮毛发脱落≤20%的患者比例显著性高于安慰剂组。
CoNCERT公司的CTP-543也正在进行III期临床试验,并已获得FDA授予治疗斑秃的突破性疗法认定和快速通道资格。在一项随机双盲、含安慰剂对照的2期临床试验中,CTP-543已获得治疗中重度斑秃患者的积极数据。然后还有苏州泽璟生物的杰克替尼,瑞石生物的SHR0302,目前也都处于临床Ⅲ期研究阶段。
杰克替尼治疗重症斑秃III期延伸临床试验信息(部分)

图片来源:药融云中国临床试验数据库
除了JAK抑制剂,斑秃治疗的药物还包括生物制剂、糖皮质激素、米诺地尔、免疫抑制剂等。
二、斑秃治疗外用药物——糖皮质激素类、米诺地尔等
外用糖皮质激素是治疗斑秃的常用疗法。它可以通过减轻局部炎症和抑制免疫反应来促进头发再生,常用药物包括卤米松、糠酸莫米松及丙酸氯倍他索等强效或超强效制剂,主要用于脱发部位及活动性区域,每天1-2次。
需要注意的是,长期使用糖皮质激素可能会引起一些副作用,例如头皮萎缩、易碎性脆发等。因此,在使用糖皮质激素治疗斑秃时,应该遵循医生的建议,并严格控制药物的用量和使用时间,以最大限度地减少副作用的发生。
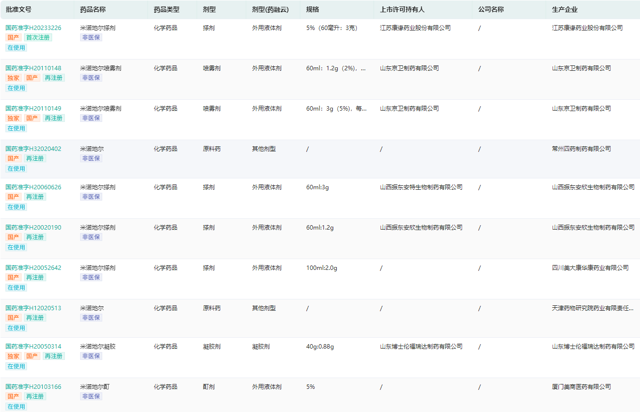
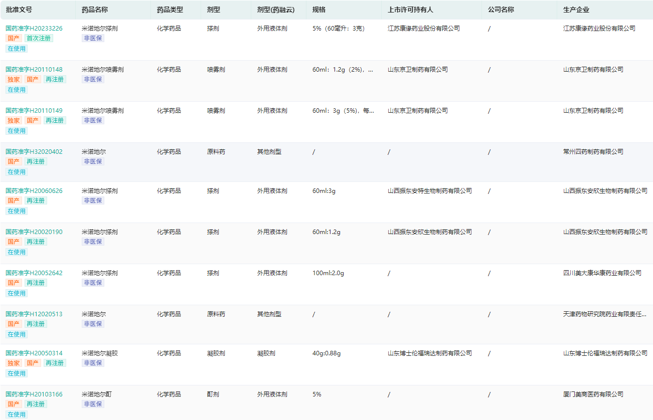
米诺地尔也被认为是治疗斑秃的一种有效药物,它是一种外用药,通常以液体或泡沫的形式涂在患处。米诺地尔的作用机制是促进局部血液循环和毛囊细胞代谢,从而促进头发再生。
米诺地尔生产企业查询(部分)

图片来源:药融云中国药品批文数据库
同样需要注意的是,米诺地尔不适用于所有类型的斑秃,且其使用效果因人而异。对于一些患者来说,米诺地尔可能会导致头皮干燥、瘙痒等不良反应。此外,米诺地尔需要长期使用才能达到理想的疗效,如果停药则容易复发。因此,在使用这种药物时,应该遵循医生的指导,并在使用过程中密切观察身体状况和药物反应,及时采取相应的调整措施。
三、斑秃治疗药物——免疫抑制剂
免疫抑制剂也是治疗自身免疫性斑秃的一种常用药物。其作用机制是通过抑制免疫系统活性,减少对毛囊细胞的攻击,从而促进头发再生。
使用免疫抑制剂治疗斑秃的优势在于,它可以缓解患者的炎症反应和自身免疫反应,从而使得头发重新生长。与其他治疗方法相比,免疫抑制剂的疗效更加稳定,并且对各类不同类型的斑秃都具有一定的疗效。同时,这种治疗方法能够避免长期使用糖皮质激素等药物造成的一些不良反应。
目前,常用的免疫抑制剂包括环孢素A(Cyclosporine A)、多西环素(Doxycycline)等,这些药物都需要遵循医生的建议和指导,在严格掌握用药剂量和用药时间的基础上合理应用。同时,在使用免疫抑制剂的过程中,也需要密切关注身体状况和药物反应,并及时采取相应的调整措施。
诺华环孢素的适应症&作用机制

图片来源:药融云全球药物研发数据库
除此之外,还有正在探索用于治疗斑秃的生物制剂,主要包括Th1通路抑制剂(如IL-2)、Th2通路抑制剂(如度普利尤单抗)、Th17抑制剂(如司库奇尤单抗、依奇珠单抗)等。
想要解锁更多药物研发信息吗?查询药融云数据库(vip.pharnexcloud.com/?zmt-mhwz)掌握药物基本信息、市场竞争格局、销售情况与各维度分析、药企研发进展、临床试验情况、申报审批情况、各国上市情况、最新市场动态、市场规模与前景等,以及帮助企业抉择可否投入时提供数据参考!注册立享15天免费试用!

<END>








川公网安备51019002008863号
本网站未发布麻醉药品、精神药品、医疗用毒性药品、放射性药品、戒毒药品和医疗机构制剂的产品信息
收藏
登录后参与评论
暂无评论