
日前,据NMPA官网公示,国药集团的注射用头孢哌酮钠舒巴坦钠通过仿制药一致性评价。据药融云数据统计,该品种在2023年全国院内销售额超56亿元。

截图来源:NMPA
注射用头孢哌酮钠舒巴坦钠是一种高效抗感染复方制剂,有效防止头孢哌酮酶解,提升抗菌活性,并拓宽抗菌谱,展现出良好的协同效果。适用于敏感菌引发的多部位感染,包括呼吸道、泌尿道、腹腔及皮肤软组织等感染。据药融云数据统计,该品种在2023年全国院内销售额超56亿元。

截图来源:药融云全国医院销售数据库
在全国院内销售规模超过千亿元的系统用抗感染药物(包括化学和生物药)市场中,注射用头孢哌酮钠舒巴坦钠持续稳坐“销冠”宝座。在2023年,该产品以9.1%的市场份额稳居榜首,进一步巩固了其销冠地位。作为国内抗感染药物领域的领跑企业,国药集团一直致力于系统用抗感染药的研发与创新。在2023年全国院内系统用抗感染药企业排名中成功跻身TOP6名单。

截图来源:药融云全国医院销售数据库
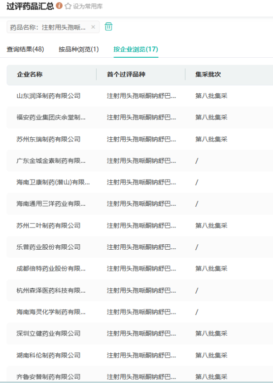
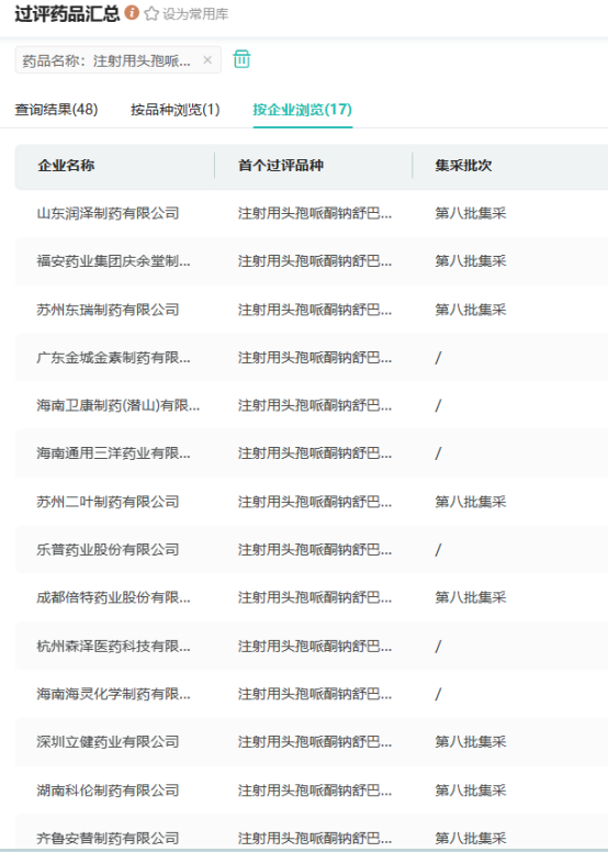
目前注射用头孢哌酮钠舒巴坦钠有超过百家企业拥有生产批文。在众多竞争者中,仅有国药集团、湖南科伦制药、齐鲁安替制药、苏州二叶制药等17家企业通过一致性评价。值得一提的是,福安药业集团、苏州二叶制药、山东润泽制药、成都倍特药业、深圳立健药业、湖南科伦制药、齐鲁安替制药、海南合瑞制药以及苏州东瑞制药这9家药企更是凭借其出色的产品质量和竞争力,成功获得了第8批集采的入场券。

截图来源:药融云过评药品汇总数据库
截止目前,国药集团已有注射用头孢噻肟钠、头孢呋辛酯片、注射用头孢曲松钠等24款系统用抗感染药过评。2024年有7款品种过评,而注射用头孢哌酮钠舒巴坦钠则是公司第4款过评的系统用抗感染药物。
<END>
要解锁更多企业药品研发信息吗?查询药融云数据库(vip.pharnexcloud.com/?zmt-mhwz)掌握药品各国上市情况、药品批文信息、销售情况与各维度分析、市场竞争格局、一致性评价情况、集采中标情况、药企申报审批信息、最新动态与前景等,以及帮助企业抉择可否投入时提供数据参考!注册立享15天免费试用!








川公网安备51019002008863号
本网站未发布麻醉药品、精神药品、医疗用毒性药品、放射性药品、戒毒药品和医疗机构制剂的产品信息
收藏
登录后参与评论
暂无评论