
近日,康缘药业发布了2023年年度报告,因营收和利润均创下历史新高引发关注。
2023年,康缘药业实现营业收入48.68亿元,同比增长11.88%;实现归属于母公司所有者的净利润5.37亿元,同比增长23.54%;营收和净利润双双创下历史新高。在超预期的业绩支撑下,近期康缘药业股价已上涨超50%。
康缘药业作为中药创新的龙头,由于疫情的影响,2020年后的营收和利润一直处于“恢复”中。其中一方面原因是和产品结构有关。康缘药业的主力品种热毒宁注射液、银杏二萜内酯葡胺注射液均为医院端产品,受到疫情的干扰非常大。
2023年,康缘终于实现业绩突破,并迈上了新台阶。
注射液收入的大幅增长,推动总营收增长
注射液是康缘药业最主要的业务板块,2019年疫情前该业务营收占比长期保持在50%以上。2020年,注射液营收占比下降到36.48%,此后两年进一步下滑至35.74%、33.35%。2023年,康缘药业注射液营收21.74亿元,同比增长49.8%。注射液收入占比大幅抬升至44.65%,虽然较疫情前50%尚有差距,但已经是非常大的提升。
从品种上来看,康缘药业三大核心品种,热毒宁注射液销量增长90.93%、银杏二萜内酯葡胺注射液销量增长21.98%,金振口服液的销量则下降了22.67%。据悉,金振口服液收入下滑主因是受到院端去库存影响。
热毒宁注射液医院终端市场销售趋势

图片来源:药融云全国医院销售(全终端)数据库
2023年康缘药业主营业务毛利率74.47%,较上年增加2.09%;其中,胶囊、片丸剂和颗粒剂、冲剂因营业收入较上年增加,营业成本较上年减少,毛利率增加明显。
从地区情况来看,2023年康缘药业营业收入37.54%来自华东地区,东北地区与西北地区营业收入较同期增长均超过50%,这一增长主要原因是热毒宁注射液销售额的增长。
研发投入创新高,研发费用大增27%
作为中药创新药的龙头之一,2023年康缘药业研发费用同比增长27.4%,达到7.72亿元,创历史新高;研发费用率提升1.93个百分点,达到15.85%。近五年累计研发投入27.68亿元。
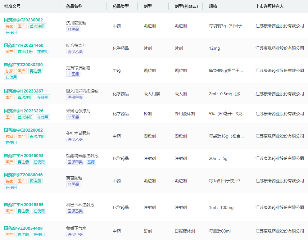
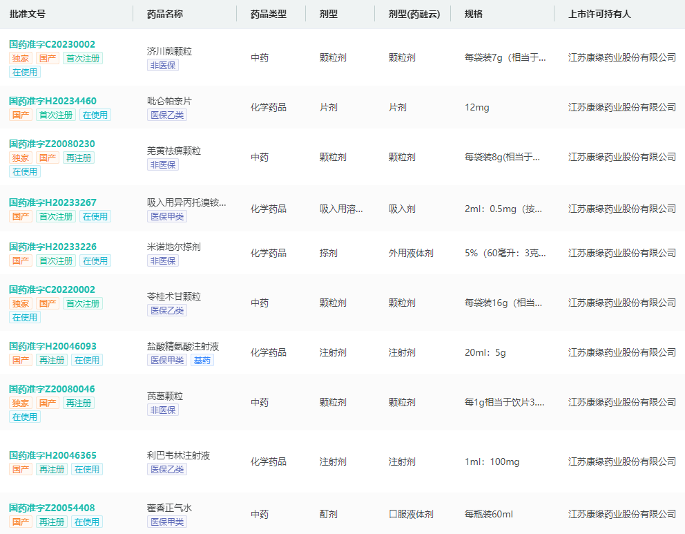
康缘药业在坚守中医药发展主阵地的同时,也积极向化学药和生物药领域拓展。据药融云数据库统计,在中药领域,2023年康缘药业有1款中药新药批准上市,即济川煎颗粒;有3个产品申报生产,包括六味地黄苷糖片、泻白颗粒和玉女煎颗粒;同时有6款1类中药新药获批临床,涵盖了栀黄贴膏、乌鳖还闺颗粒、小儿佛芍和中颗粒、小儿健脾颗粒、五味益心颗粒、杏贝止咳颗粒(新增适应症)。
康缘药业生产批文查询(部分)

图片来源:药融云中国药品批文数据库
在化学药领域,同样收获颇丰,3款仿制药吡仑帕奈片、吸入用异丙托溴铵溶液、米诺地尔搽剂获批上市,完成了5个临床阶段性研究,包括DC20、WXSH0493、SIPI-2011、DC042、吡非尼酮双释片;有2款1类创新药获批临床,分别为KY0135片和KY1702胶囊。此外,还有6个药品通过了药品一致性评价,除了吡仑帕奈片和异丙托溴铵雾化吸入溶液,还包括辛伐他汀片、注射用泮托拉唑钠、注射用兰索拉唑、米诺地尔酊。
在生物药领域,也取得重要突破,有1款产品(KYS202002A注射液)的两项适应症获批临床(即多发性骨髓瘤适应症与系统性红斑狼疮适应症均获得了中国CDE临床研究许可)。
手握50个中药独家品种,5款中药创新药,其中4款已入医保
康缘药业主要产品线聚焦呼吸与感染疾病、妇科疾病、心脑血管疾病、骨伤科疾病等中医优势领域,代表品种有金振口服液、热毒宁注射液、杏贝止咳颗粒、桂枝茯苓胶囊、银杏二萜内酯葡胺注射液等。
据药融云数据库统计,目前,康缘药业拥有药品生产批件213个,涉及189个品种;其中有50个中药独家品种,3个中药保护品种(九味熄风颗粒、腰痹通胶囊、淫羊藿总黄酮胶囊)。同时,康缘药业还有20余项正在研发的项目,主要分布在免疫系统疾病、自身炎症性疾病、
心脑血管疾病、病毒感染、脓毒症等适应症领域;在其中有3个品种在国内处于II期临床阶段(WXSH-0493、DC-20、KY-0467),6个品种处于I期临床阶段。
康缘药业在研管线研发阶段分布

图片来源:药融云全球药物研发数据库
康缘药业自2020年以来保持每年皆有中药创新药获批上市的态势,累计拿下筋骨止痛凝胶、银翘清热片、散寒化湿颗粒、苓桂术甘颗粒、济川煎颗粒5款中药新药。除了济川煎颗粒,其他4款新药已先后通过谈判进入国家医保目录。
2024年,康缘药业创新研发的步伐持续加快,已有4款1类新药提交临床申请,包含2款中药创新药(七味脂肝颗粒、羌芩颗粒)、1款化学药(注射用AAPB)、1款生物药(KYS202003A注射液)。
<END>
要解锁更多企业药品研发信息吗?查询药融云数据库(vip.pharnexcloud.com/?zmt-mhwz)掌握药品各国上市情况、药品批文信息、销售情况与各维度分析、市场竞争格局、一致性评价情况、集采中标情况、药企申报审批信息、最新动态与前景等,以及帮助企业抉择可否投入时提供数据参考!注册立享15天免费试用!








川公网安备51019002008863号
本网站未发布麻醉药品、精神药品、医疗用毒性药品、放射性药品、戒毒药品和医疗机构制剂的产品信息
收藏
登录后参与评论
暂无评论