
近日,据NMPA官网公示,山东新时代药业的注射用唑来膦酸浓溶液和硝酸异山梨酯注射液获批并过评。据药融云数据统计,今年(截止5月30日)山东新时代药业已有10个品种过评。

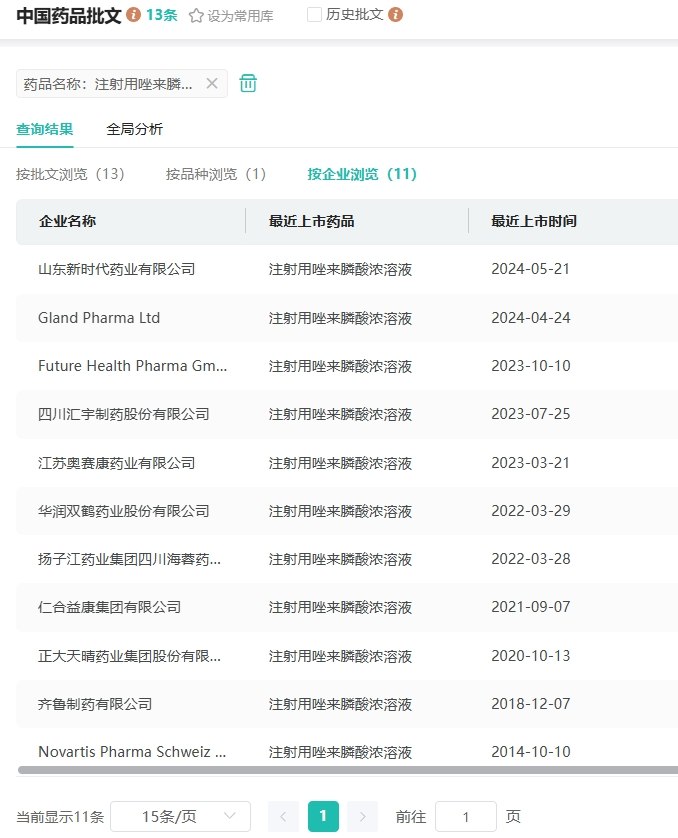
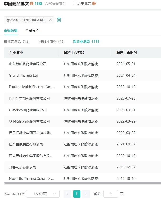
注射用唑来膦酸浓溶液是一种抑制骨吸收药物。与标准抗肿瘤药物治疗合用,可用于治疗实体肿瘤骨转移患者和多发性骨髓瘤患者的骨骼损害,也可用于治疗恶性肿瘤引起的高钙血症(HCM)。据药融云数据库显示,注射用唑来膦酸浓溶液在2022年全国院内市场销售额达4.56亿元。

在2022年全国院内市场,从企业竞争格局来看,该品种诺华以53.80%的市场份额稳居榜首,正大天晴紧随其后,占据31.7%的市场份额位列第二,而扬子江则以14.77%的份额位列第三。
据药融云数据库显示,目前注射用唑来膦酸浓溶液已有2家进口企业和8家国内药企获得生产批文。

在仿制药布局方面,注射用唑来膦酸浓溶液有江苏迪赛诺制药、广州市联瑞制药、岳阳新华达制药、国药集团国瑞药业4家药企提交了4类仿制药审评,均在审评审批中。

硝酸异山梨酯注射液是一种硝酸类血管扩张剂,作为心血管疾病临床常用药物,具有起效迅速、疗效稳定且不良反应可控等优点。据药融云数据库显示,硝酸异山梨酯注射液在2022年全国院内市场销售额超3亿元,同比增长达50.69%。

据药融云数据统计,今年(截止5月30日)山东新时代药业已有注射用地西他滨、卡培他滨片、注射用唑来膦酸浓溶液、硝酸异山梨酯注射液等10个品种过评。
<END>
想要解锁更多药物研发信息吗?查询药融云数据库(vip.pharnexcloud.com/?zmt-mhwz)掌握药物基本信息、市场竞争格局、销售情况与各维度分析、药企研发进展、临床试验情况、申报审批情况、各国上市情况、最新市场动态、市场规模与前景等,以及帮助企业抉择可否投入时提供数据参考!注册立享15天免费试用!








川公网安备51019002008863号
本网站未发布麻醉药品、精神药品、医疗用毒性药品、放射性药品、戒毒药品和医疗机构制剂的产品信息
收藏
登录后参与评论
暂无评论